TOP
|
特許
|
意匠
|
商標
特許ウォッチ
Twitter
他の特許を見る
10個以上の画像は省略されています。
公開番号
2025164332
公報種別
公開特許公報(A)
公開日
2025-10-30
出願番号
2024068212
出願日
2024-04-19
発明の名称
車両のドア構造およびその製造方法
出願人
マツダ株式会社
代理人
個人
,
個人
,
個人
,
個人
,
個人
主分類
B60J
5/04 20060101AFI20251023BHJP(車両一般)
要約
【課題】異材質であるドアインナパネルと補強部材とを最小限の接着剤塗布量で接合しながら、衝突時における接合強度の確保と、両部材の通常時における熱変形の許容とを両立すること。
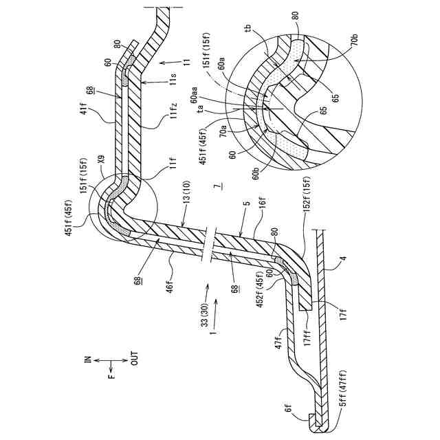
【解決手段】ドアアウタパネル4と、樹脂製のドアインナパネル10と、ドアインナパネル10と異なる材質で形成される補強部材30と、両部材10,30を接合する接着剤80と、を備え、ドアインナパネル10は、ドアアウタパネル4から幅方向内側に離間して配置される内面部11および、内面部11の端部から稜線部15を介して車幅方向に延びる壁部16を備え、補強部材30は、ドアインナパネル10における壁部161と稜線部15とに対して車幅方向において対向し、接着剤80は、稜線部15と、その周辺領域65とに備えるとともに、稜線部15における厚みtaが、稜線部15の周辺領域65における厚みtbより薄くなるように設けられた。
【選択図】図3
特許請求の範囲
【請求項1】
ドアアウタパネルと、
前記ドアアウタパネルから幅方向内側に離間して上下及び前後方向に延びる内面部および、前記内面部の端部から稜線部を介して車幅方向に延びる壁部、を有する樹脂製のドアインナパネルと、
前記ドアインナパネルと異なる材質で形成されるとともに、前記ドアインナパネルにおける少なくとも前記壁部と前記稜線部とに対して車幅方向において対向する補強部材と、
前記ドアインナパネルと前記補強部材とを接合する接着剤と、を備え、
前記接着剤は、前記稜線部と、前記稜線部以外の他の領域とに備えるとともに、前記稜線部における厚みが、前記稜線部以外の他の領域における厚みより薄くなるように設けられたことを特徴とする
車両のドア構造。
続きを表示(約 1,000 文字)
【請求項2】
前記稜線部をインナパネル稜線部とし、
前記補強部材における、前記インナパネル稜線部と車幅方向内側又は外側で対向する部位には、前記インナパネル稜線部の車幅方向内側又は外側への突出方向と同じ方向へ突出する補強部材稜線部が設けられた
請求項1に記載の車両のドア構造。
【請求項3】
前記インナパネル稜線部と前記補強部材稜線部のうち、少なくとも何れか一方の稜線部に、他方の稜線部へ突出する突起部が設けられ、
前記突起部は、突出方向の先端部が前記他方の稜線部との間に隙間を有して突出する
請求項2に記載の車両のドア構造。
【請求項4】
前記突起部は、前記インナパネル稜線部に設けられた
請求項3に記載の車両のドア構造。
【請求項5】
前記突起部は、前記少なくとも何れか一方の稜線部に沿って連続する凸条とした
請求項3に記載の車両のドア構造。
【請求項6】
前記突起部は、前記少なくとも何れか一方の稜線部の突出方向に沿う断面が、前記突出方向の基端部よりも前記先端部が細くなる先細り形状で形成された
請求項3に記載の車両のドア構造。
【請求項7】
前記突起部の前記突出方向に沿う断面において、前記突起部の前記突出方向の先端側に、前記補強部材と対向する突起部頂面が設けられ、
前記突起部頂面は、前記補強部材における、該突起部頂面との対向面の形状に沿って形成された
請求項3に記載の車両のドア構造。
【請求項8】
前記他の領域は、前記稜線部の周辺領域であり、
前記内面部、前記稜線部および前記壁部のうち、前記稜線部および、その周辺領域のみに前記接着剤を備えた
請求項1に記載の車両のドア構造。
【請求項9】
前記稜線部は、ドア正面視で前記ドアインナパネルの中心から面外方向にかけて複数配設され、
複数の前記稜線部のそれぞれに前記接着剤が設けられた
請求項1に記載の車両のドア構造。
【請求項10】
前記ドアインナパネルと前記補強部材との間における、複数の前記稜線部の間には、前記接着剤が存在しない層を有する
請求項9に記載の車両のドア構造。
(【請求項11】以降は省略されています)
発明の詳細な説明
【技術分野】
【0001】
この発明は、ドアアウタパネルと、該ドアアウタパネルから幅方向内側に配置される樹脂製のドアインナパネルと、を備えた車両のドア構造およびその製造方法に関する。
続きを表示(約 1,700 文字)
【背景技術】
【0002】
特許文献1のドア構造は、樹脂製のドアインナパネルにおける一部の領域を、樹脂よりも引張強度が強い材質で形成された補強部材で補強することで、樹脂製のドアインナパネルが有する軽量であるというメリットを活かしつつ補強部材によって強度も高めることができるとされている。
【0003】
しかし、樹脂製のドアインナパネルと、該ドアインナパネルとは異なる材質(以下、「異材質」とも称する)である補強部材とを接着剤の接着により組付けようとすると、異材質同士を接合可能な専用の接着剤を用いて接着する必要があるため、高コストとなることが採用の障壁になっている。このため、ドアインナパネルと補強部材との接合は、最小の接着剤使用量としたいというニーズがある。
【0004】
一方で、接着剤の使用量を削減するために、互いに対向するドアインナパネルと補強部材の間に備える接着剤の厚みを薄くすると、互いに異材質であるが故に熱膨張率が異なる両部材の通常時における熱変形の違いを接着剤によって許容できないおそれがある。このため、最小の接着剤の使用量としながらも衝突時における両部材の接合強度を確保するためには、接合強度を効果的に高めることが可能な領域に接着剤を設けることが重要となる。
【0005】
このような課題に対して、特許文献1には、樹脂製のドアインナパネルと補強部材とを接着剤で接着することについては言及されているが、ドアインナパネルにおける、補強部材が対向する領域のうち、何れの領域にどのような態様で接着剤を設けるかについて何ら言及されていない。
【先行技術文献】
【特許文献】
【0006】
特開2023-55050号公報
【発明の概要】
【発明が解決しようとする課題】
【0007】
この発明はこのような課題に鑑みてなされたもので、異材質であるドアインナパネルと補強部材とを最小限の接着剤の使用量で接合しながら、衝突時における両部材の接合強度の確保と、熱膨張率が異なる両部材の通常時における熱変形の許容と、を両立することができる車両のドア構造およびその製造方法の提供を目的とする。
【課題を解決するための手段】
【0008】
この発明の車両のドア構造は、ドアアウタパネルと、前記ドアアウタパネルから幅方向内側に離間して上下及び前後方向に延びる内面部および、前記内面部の端部から稜線部を介して車幅方向に延びる壁部、を有する樹脂製のドアインナパネルと、前記ドアインナパネルと異なる材質で形成されるとともに、前記ドアインナパネルにおける少なくとも前記壁部と前記稜線部とに対して車幅方向において対向する補強部材と、前記ドアインナパネルと前記補強部材とを接合する接着剤と、を備え、前記接着剤は、前記稜線部と、前記稜線部以外の他の領域とに備えるとともに、前記稜線部における厚みが、前記稜線部以外の他の領域における厚みより薄くなるように設けられたことを特徴とする。
【0009】
前記補強部材は、前記ドアインナパネルに対して車幅方向の内側と外側のうち、少なくとも一方側で対向するように備えることができる。
前記他の領域とは、前記ドアインナパネルにおける、前記稜線部以外の全ての領域ではなく一部の領域であって、前記ドアインナパネルの前記内面部、前記稜線部および前記壁部のうち、前記補強部材と車幅方向において対向する対向領域における、前記稜線部以外の他の領域を示す。
【0010】
前記ドアインナパネルと異なる材質とは、例えば、金属など、前記ドアインナパネルの材質である樹脂以外の材質であり、樹脂よりも高い剛性をもった材質であることが好ましい。例えば、前記ドアインナパネルが、炭素繊維が混入されていない樹脂製である場合には、前記補強部材は、炭素繊維が混入された樹脂製としてもよい。
(【0011】以降は省略されています)
特許ウォッチbot のツイートを見る
この特許をJ-PlatPat(特許庁公式サイト)で参照する
関連特許
マツダ株式会社
車載機器
1か月前
マツダ株式会社
二次電池
1か月前
マツダ株式会社
二次電池
1か月前
マツダ株式会社
エンジン
1か月前
マツダ株式会社
排気システム
1か月前
マツダ株式会社
排気システム
1か月前
マツダ株式会社
運転支援装置
1か月前
マツダ株式会社
運転支援装置
1か月前
マツダ株式会社
車体後部構造
18日前
マツダ株式会社
運転支援装置
1か月前
マツダ株式会社
車両の前部構造
1か月前
マツダ株式会社
インバータ装置
1か月前
マツダ株式会社
インバータ装置
1か月前
マツダ株式会社
インバータ装置
1か月前
マツダ株式会社
インバータ装置
1か月前
マツダ株式会社
車両の上部構造
25日前
マツダ株式会社
バッテリユニット
17日前
マツダ株式会社
バッテリユニット
17日前
マツダ株式会社
バッテリ冷却構造
4日前
マツダ株式会社
バッテリ冷却構造
4日前
マツダ株式会社
二次電池の制御装置
1か月前
マツダ株式会社
二次電池の制御装置
1か月前
マツダ株式会社
エンジンの制御装置
1か月前
マツダ株式会社
自動変速機の油路構造
1か月前
マツダ株式会社
エンジンの燃焼室構造
1か月前
マツダ株式会社
エンジンの燃焼室構造
1か月前
マツダ株式会社
被覆金属材の試験方法
1か月前
マツダ株式会社
塗布方法及び塗布装置
4日前
マツダ株式会社
バッテリ状態推定装置
1か月前
マツダ株式会社
車両のパワートレイン構造
1か月前
マツダ株式会社
車両のパワートレイン構造
1か月前
マツダ株式会社
車両のパワートレイン構造
1か月前
マツダ株式会社
車両のパワートレイン構造
1か月前
マツダ株式会社
バッテリ温度制御システム
1か月前
マツダ株式会社
電気自動車のバッテリ搭載構造
1か月前
マツダ株式会社
車両の合流位置評価装置及び方法
1か月前
続きを見る
他の特許を見る