TOP
|
特許
|
意匠
|
商標
特許ウォッチ
Twitter
他の特許を見る
10個以上の画像は省略されています。
公開番号
2025152718
公報種別
公開特許公報(A)
公開日
2025-10-10
出願番号
2024054752
出願日
2024-03-28
発明の名称
車両の合流位置評価装置及び方法
出願人
マツダ株式会社
代理人
弁理士法人三協国際特許事務所
主分類
B60W
30/10 20060101AFI20251002BHJP(車両一般)
要約
【課題】車両の合流シーンにおいて、合流位置の評価を短時間で適切に行う。
【解決手段】合流位置評価装置は、自車両の周囲の交通環境を取得する取得部(12)と、自車両が他車群の中に割り込むときの割込み先ギャップの候補である合流位置候補を抽出する抽出部(12)と、自車両及び他車群の挙動を予測する運転挙動モデルを用いて、そのモデルパラメータに変動を付与しながら、自車両及び他車群の将来挙動を繰り返しシミュレーションするシミュレーション部(13)と、当該シミュレーションの結果に基づいて合流位置候補ごとの評価値の分布を求め、当該評価値の分布に基づいて合流位置候補の優劣を評価する評価部(14)と、を備える。
【選択図】図1
特許請求の範囲
【請求項1】
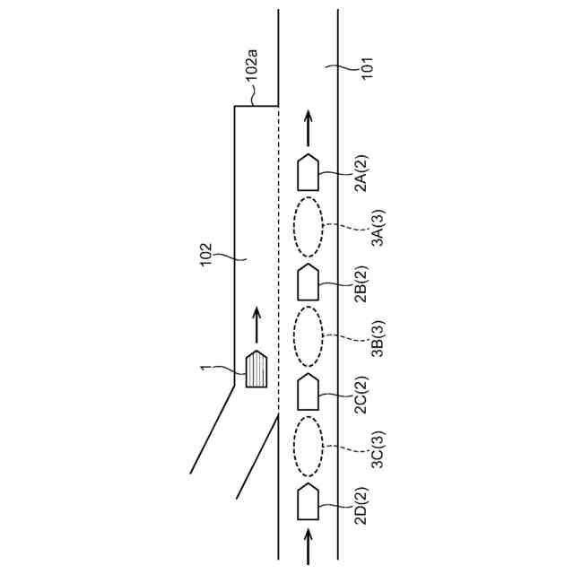
自車両が支線を通って本線に合流するときの合流位置を評価する装置であって、
前記本線を走行する他車群の位置及び速度並びに道路形状を含む、前記自車両の周囲の交通環境を取得する取得部と、
前記取得部が取得した前記交通環境に基づいて、前記自車両が前記他車群の中に割り込むときの割込み先ギャップの候補である合流位置候補を抽出する抽出部と、
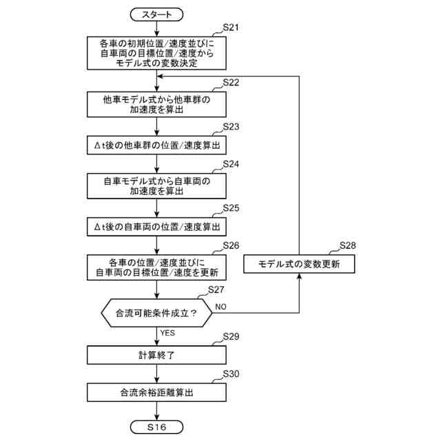
前記自車両及び前記他車群の挙動を予測する運転挙動モデルを用いて、当該運転挙動モデルのモデルパラメータに変動を付与しながら、前記自車両及び前記他車群の将来挙動を繰り返しシミュレーションするシミュレーション部と、
前記シミュレーション部が行ったシミュレーションの結果に基づいて、前記抽出部が抽出した前記合流位置候補ごとの評価値の分布を求め、当該評価値の分布に基づいて前記合流位置候補の優劣を評価する評価部と、を備えた、車両の合流位置評価装置。
続きを表示(約 1,300 文字)
【請求項2】
請求項1に記載の車両の合流位置評価装置において、
前記評価部は、前記評価値の分布として、前記評価値の平均及び標準偏差を前記合流位置候補ごとに求め、当該平均及び標準偏差に基づいて前記合流位置候補の優劣を評価する、車両の合流位置評価装置。
【請求項3】
請求項2に記載の車両の合流位置評価装置において、
前記評価部は、前記評価値の平均及び標準偏差から下式(1)により定まる総合評価指数Egを前記合流位置候補ごとに求めるとともに、当該総合評価指数Egが大きい前記合流位置候補を、当該総合評価指数Egが小さい前記合流位置候補よりも優れていると評価する、車両の合流位置評価装置。
Eg=μ+k×σ ‥‥(1)
ここに、μは評価値の平均、σは評価値の標準偏差、kは-1以上+1以下の係数である。
【請求項4】
請求項1~3のいずれか1項に記載の車両の合流位置評価装置において、
前記シミュレーション部は、前記モデルパラメータのうち、前記他車群のドライバー特性または車両性能に応じて定まる特性パラメータに対し、統計的な出現頻度分布データに基づいた前記変動を付与する、車両の合流位置評価装置。
【請求項5】
請求項1~3のいずれか1項に記載の車両の合流位置評価装置において、
前記評価部は、前記評価値として、前記自車両の合流が完了したか又は合流完了が見込まれた時点における前記支線の終端までの残り距離又は残り時間である合流余裕度を求める、車両の合流位置評価装置。
【請求項6】
請求項1~3のいずれか1項に記載の車両の合流位置評価装置において、
前記運転挙動モデルは、前記他車群の挙動を予測するモデルとして、先行車両との間に適切な車間距離を維持しながら走行するのに必要な加速度を出力する追従走行モデルを含む、車両の合流位置評価装置。
【請求項7】
請求項6に記載の車両の合流位置評価装置において、
前記運転挙動モデルは、前記自車両の挙動を予測するモデルとして、所定の目標位置及び目標速度との差に比例した加速度を出力する比例モデルを含む、車両の合流位置評価装置。
【請求項8】
自車両が支線を通って本線に合流するときの合流位置を評価する方法であって、
前記本線を走行する他車群の位置及び速度並びに道路形状を含む、前記自車両の周囲の交通環境を取得するステップと、
取得した前記交通環境に基づいて、前記自車両が前記他車群の中に割り込むときの割込み先ギャップの候補である合流位置候補を抽出するステップと、
前記自車両及び前記他車群の挙動を予測する運転挙動モデルを用いて、当該運転挙動モデルのモデルパラメータに変動を付与しながら、前記自車両及び前記他車群の将来挙動を繰り返しシミュレーションするステップと、
前記シミュレーションの結果に基づいて、抽出した前記合流位置候補ごとの評価値の分布を求め、当該評価値の分布に基づいて前記合流位置候補の優劣を評価するステップと、を含む、車両の合流位置評価方法。
発明の詳細な説明
【技術分野】
【0001】
本発明は、自車両が支線を通って本線に合流するときの合流位置を評価する装置及び方法に関する。
続きを表示(約 1,600 文字)
【背景技術】
【0002】
近年、車両の運転支援もしくは自動運転に関する研究の一環として、車両が支線から本線に合流する合流動作を支援もしくは自動化することが検討されている。例えば、下記特許文献1には、本線に合流する自車両の行動計画を生成する行動計画生成装置において、車両の運転を模擬的に体験することが可能なシミュレータ機能を通じて得られる走行データから生成された学習モデルを用いて、本線を走行する他車両が自車両に対し進路を譲る可能性を表す譲り度合いを算出し、算出した当該譲り度合いに基づいて自車両が本線に合流するときの行動計画を生成することが開示されている。
【先行技術文献】
【特許文献】
【0003】
特開2023-146576号公報
【発明の概要】
【発明が解決しようとする課題】
【0004】
ここで、自車両が本線に合流する際には、本線を走行する他車群における複数のギャップ(車間)のいずれかを目標の合流位置として定める必要がある。しかしながら、上記特許文献1では、目標の合流位置に実際に合流できるか否かの判定、つまり合流位置の評価が、シミュレータ機能を用いた被験者の繰り返し実験から得られる学習モデルの出力値(譲り度合い)に基づき行われるので、その評価ロジックの確立に手間と時間がかかるという問題がある。
【0005】
本発明は、上記のような事情に鑑みてなされたものであり、合流位置の評価を短時間で適切に行うことが可能な車両の合流位置評価装置及び方法を提供することを目的とする。
【課題を解決するための手段】
【0006】
上記課題を解決するためのものとして、本発明の一局面に係る車両の合流位置評価装置は、自車両が支線を通って本線に合流するときの合流位置を評価する装置であって、前記本線を走行する他車群の位置及び速度並びに道路形状を含む、前記自車両の周囲の交通環境を取得する取得部と、前記取得部が取得した前記交通環境に基づいて、前記自車両が前記他車群の中に割り込むときの割込み先ギャップの候補である合流位置候補を抽出する抽出部と、前記自車両及び前記他車群の挙動を予測する運転挙動モデルを用いて、当該運転挙動モデルのモデルパラメータに変動を付与しながら、前記自車両及び前記他車群の将来挙動を繰り返しシミュレーションするシミュレーション部と、前記シミュレーション部が行ったシミュレーションの結果に基づいて、前記抽出部が抽出した前記合流位置候補ごとの評価値の分布を求め、当該評価値の分布に基づいて前記合流位置候補の優劣を評価する評価部と、を備えたものである。
【0007】
本発明によれば、自車両及び他車群の挙動を予測する運転挙動モデルを用いたシミュレーションを通じて合流位置候補ごとの評価が行われるので、評価値の算出のために機械学習や強化学習のような複雑な処理を経ることが不要になり、評価に要する時間を短縮することができる。
【0008】
また、運転挙動モデルのモデルパラメータに変動を付与しながら繰り返しシミュレーションが行われるとともに、その繰り返しシミュレーションの結果から合流位置候補ごとに評価値の分布が求められるので、当該評価値の分布に基づいて合流位置候補の優劣を適切に評価することができ、統計的に妥当な合流位置候補を特定することができる。
【0009】
好ましくは、前記評価部は、前記評価値の分布として、前記評価値の平均及び標準偏差を前記合流位置候補ごとに求め、当該平均及び標準偏差に基づいて前記合流位置候補の優劣を評価する。
【0010】
この態様では、評価値の平均及び標準偏差の双方に基づく総合的な評価を行うことができる。
(【0011】以降は省略されています)
この特許をJ-PlatPat(特許庁公式サイト)で参照する
関連特許
マツダ株式会社
二次電池
1か月前
マツダ株式会社
回転電機
5日前
マツダ株式会社
車載機器
1か月前
マツダ株式会社
エンジン
1か月前
マツダ株式会社
二次電池
1か月前
マツダ株式会社
運転支援装置
1か月前
マツダ株式会社
排気システム
1か月前
マツダ株式会社
排気システム
1か月前
マツダ株式会社
運転支援装置
1か月前
マツダ株式会社
車体後部構造
27日前
マツダ株式会社
運転支援装置
1か月前
マツダ株式会社
車両の下部構造
7日前
マツダ株式会社
車両の下部構造
7日前
マツダ株式会社
車両の下部構造
5日前
マツダ株式会社
車両の前部構造
1か月前
マツダ株式会社
車両の前部構造
6日前
マツダ株式会社
車両の上部構造
1か月前
マツダ株式会社
車両の前部構造
6日前
マツダ株式会社
インバータ装置
1か月前
マツダ株式会社
インバータ装置
1か月前
マツダ株式会社
インバータ装置
1か月前
マツダ株式会社
車両の下部構造
5日前
マツダ株式会社
インバータ装置
1か月前
マツダ株式会社
バッテリユニット
26日前
マツダ株式会社
バッテリユニット
26日前
マツダ株式会社
バッテリ冷却構造
13日前
マツダ株式会社
バッテリ冷却構造
13日前
マツダ株式会社
二次電池の制御装置
1か月前
マツダ株式会社
車両の下部車体構造
2か月前
マツダ株式会社
車両の下部車体構造
1か月前
マツダ株式会社
二次電池の制御装置
1か月前
マツダ株式会社
車両の下部車体構造
2か月前
マツダ株式会社
車両の下部車体構造
2か月前
マツダ株式会社
車両用フレーム部材
6日前
マツダ株式会社
車両用フレーム部材
6日前
マツダ株式会社
車両の下部車体構造
2か月前
続きを見る
他の特許を見る