TOP
|
特許
|
意匠
|
商標
特許ウォッチ
Twitter
他の特許を見る
10個以上の画像は省略されています。
公開番号
2025144897
公報種別
公開特許公報(A)
公開日
2025-10-03
出願番号
2024044810
出願日
2024-03-21
発明の名称
車両の下部車体構造
出願人
マツダ株式会社
代理人
弁理士法人三協国際特許事務所
主分類
B62D
25/20 20060101AFI20250926BHJP(鉄道以外の路面車両)
要約
【課題】側突時のエネルギー吸収量を確実に増大させることが可能な車両の下部車体構造の提供を目的とする。
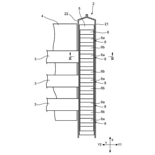
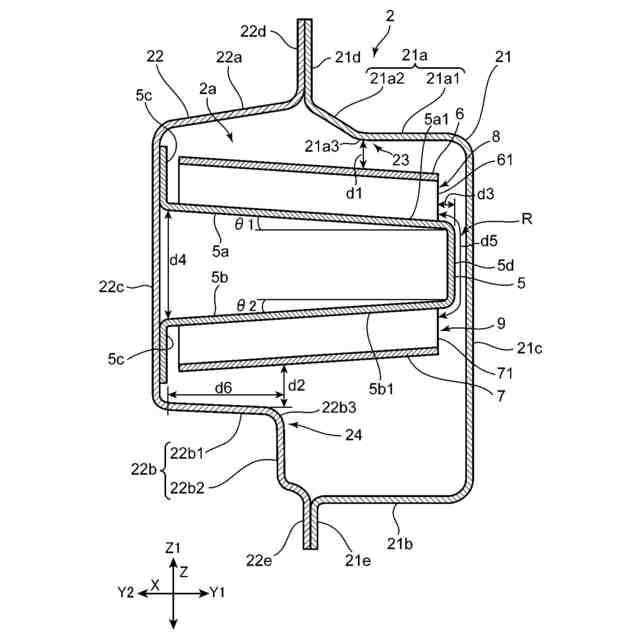
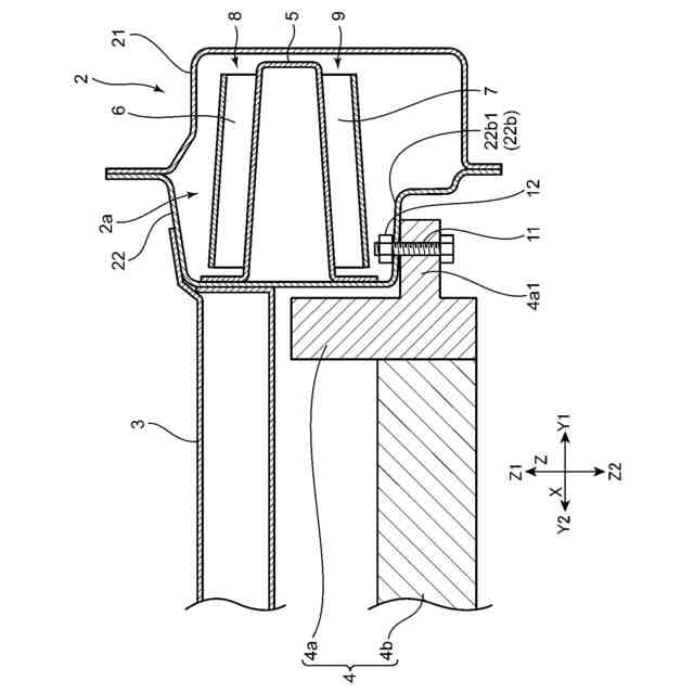
【解決手段】車体1は、サイドシル2の閉断面2aの内部に配置された第1レインフォースメント5、第2レインフォースメント6および第3レインフォースメント7を備える。第1レインフォースメント5は、上壁部5aおよび下壁部5bと、上下方向に延びる縦壁部5cとを有するハット型形状である。第2レインフォースメント6は、上壁部5aと協働して複数の第1閉断面8を形成する。第3レインフォースメント7は、下壁部5bと協働して複数の第2閉断面8を形成する。
【選択図】図4
特許請求の範囲
【請求項1】
車体の車幅方向外側で車両前後方向に延びる閉断面を構成する左右一対のサイドシルと、
前記閉断面の内部に配置された補強部材である、第1レインフォースメント、第2レインフォースメント、および第3レインフォースメントと
を備え、
前記第1レインフォースメントは、前記サイドシルの車幅方向内側の壁部に固定され、車幅方向及び前後方向に延びる上壁部および下壁部と、前記上壁部の車幅方向外側端部から前記下壁部の車幅方向外側端部に上下方向に延びる縦壁部と、を有し、車幅方向外側に突出するとともに車幅方向内側に開口するハット型形状であり、
前記第2レインフォースメントは、車両側面視にて前記上壁部と協働して車両前後方向に並ぶ複数の第1閉断面を形成し、
前記第3レインフォースメントは、車両側面視にて前記下壁部と協働して車両前後方向に並ぶ複数の第2閉断面を形成する、
ことを特徴とする車両の下部車体構造。
続きを表示(約 740 文字)
【請求項2】
請求項1記載の車両の下部車体構造において、
前記第2レインフォースメントは、前記上壁部の上面に固定され、
前記第3レインフォースメントは、前記下壁部の下面に固定されている、
車両の下部車体構造。
【請求項3】
請求項1または2記載の車両の下部車体構造において、
前記サイドシルは、サイドシルアウタと、当該サイドシルアウタよりも車幅方向内側に配置され、当該サイドシルアウタに接合されたサイドシルインナとを有し、
前記縦壁部は、前記サイドシルアウタと前記サイドシルインナとの接合部より車幅方向外側に配置されている、
車両の下部車体構造。
【請求項4】
請求項1または2記載の車両の下部車体構造において、
前記第1閉断面は、車幅方向に延びる複数の稜線を有する多角形構造である、車両の下部車体構造。
【請求項5】
請求項1または2記載の車両の下部車体構造において、
前記第2閉断面は、車幅方向に延びる複数の稜線を有する多角形構造である、車両の下部車体構造。
【請求項6】
請求項1または2記載の車両の下部車体構造において、
前記第2レインフォースメントおよび前記第3レインフォースメントは、互いに異なる剛性を有している、車両の下部車体構造。
【請求項7】
請求項1または2に記載の車両の下部車体構造において、
車幅方向に延びて前記左右一対のサイドシルを連結するクロスメンバをさらに備え、
前記第1閉断面は、車両側面視において前記クロスメンバと重なる位置に配置されている、車両の下部車体構造。
発明の詳細な説明
【技術分野】
【0001】
本発明は、車両の下部車体構造に関するものである。
続きを表示(約 1,600 文字)
【背景技術】
【0002】
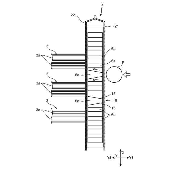
車両の側方からポールなどの障害物に衝突する側突時において、車体側部の構成部分であるサイドシルには大きな衝突エネルギーが入力される。サイドシルから車体内部へのエネルギー伝達は、車体内部の乗員や車載部品に影響を与えるおそれがある。とくに電気自動車(EV)の場合ではサイドシルに対して車幅方向内側に配置されたバッテリーパックに影響を与えるおそれがある。これらの影響を避けるために、サイドシルでエネルギーを吸収する必要がある。
【0003】
そこで、従来では、サイドシルの内部において中空閉断面を形成する補強部材を設けることにより側突時にエネルギーを吸収する構造が種々提案されている。例えば、特許文献1に記載されている車体構造では、サイドシルの内部に略M字断面形状の板金で形成された補強部材が設けられている。補強部材は、M字断面を形成する2つの凸部が車幅方向外側を向くように配置され、サイドシルとともに中空閉断面を形成する。
【0004】
この構造では、側突時に略M字断面形状の補強部材の2つの凸部で形成される中空閉断面が車幅方向に圧縮されることにより、エネルギー吸収を行う。
【先行技術文献】
【特許文献】
【0005】
特表2023-522161号公報
【発明の概要】
【発明が解決しようとする課題】
【0006】
しかし、上記のサイドシル内部の略M字断面形状の補強部材は、側突時の条件によっては、側突時に凸部で形成される閉断面が予定通りに車幅方向に圧縮されずに上下方向にずれながら圧縮する意図しない変形をするおそれがある。その場合には、補強部材におけるエネルギー吸収量の損失が生じ、狙ったエネルギー吸収量を得られない場合がある。
【0007】
本発明は、前記のような事情に鑑みてなされたものであり、側突時のエネルギー吸収量を確実に増大させることが可能な車両の下部車体構造の提供を目的とする。
【課題を解決するための手段】
【0008】
前記課題を解決するために本発明の車両の下部車体構造は、車体の車幅方向外側で車両前後方向に延びる閉断面を構成する左右一対のサイドシルと、前記閉断面の内部に配置された補強部材である、第1レインフォースメント、第2レインフォースメント、および第3レインフォースメントとを備え、前記第1レインフォースメントは、前記サイドシルの車幅方向内側の壁部に固定され、車幅方向及び前後方向に延びる上壁部および下壁部と、前記上壁部の車幅方向外側端部から前記下壁部の車幅方向外側端部に上下方向に延びる縦壁部と、を有し、車幅方向外側に突出するとともに車幅方向内側に開口するハット型形状であり、前記第2レインフォースメントは、車両側面視にて前記上壁部と協働して車両前後方向に並ぶ複数の第1閉断面を形成し、前記第3レインフォースメントは、車両側面視にて前記下壁部と協働して車両前後方向に並ぶ複数の第2閉断面を形成することを特徴とする。
【0009】
かかる構成では、車両の側突時に第2レインフォースメントおよび第3レインフォースメントが車幅方向外側から軸圧縮されてエネルギー吸収を行う。これにより、第1レインフォースメントの面外変形、すなわち、上壁部の上方への曲げおよび下壁部の下方への変形を抑制する。その結果、サイドシル内の第1レインフォースメントの上下方向への変形を抑制し、側突時のエネルギー吸収量を確実に増大させることが可能である。
【0010】
上記の車両の下部車体構造において、前記第2レインフォースメントは、前記上壁部の上面に固定され、前記第3レインフォースメントは、前記下壁部の下面に固定されているのが好ましい。
(【0011】以降は省略されています)
この特許をJ-PlatPat(特許庁公式サイト)で参照する
関連特許
マツダ株式会社
二次電池
16日前
マツダ株式会社
排気浄化装置
1か月前
マツダ株式会社
排気浄化装置
1か月前
マツダ株式会社
車両用駆動装置
24日前
マツダ株式会社
車両用駆動装置
24日前
マツダ株式会社
車両用駆動装置
24日前
マツダ株式会社
車両用駆動装置
24日前
マツダ株式会社
車両用駆動装置
24日前
マツダ株式会社
冷媒循環システム
18日前
マツダ株式会社
冷媒循環システム
18日前
マツダ株式会社
冷媒循環システム
18日前
マツダ株式会社
冷媒循環システム
18日前
マツダ株式会社
冷媒循環システム
18日前
マツダ株式会社
冷媒循環システム
18日前
マツダ株式会社
冷媒循環システム
18日前
マツダ株式会社
エンジンシステム
1か月前
マツダ株式会社
エンジンシステム
1か月前
マツダ株式会社
燃料改質システム
1か月前
マツダ株式会社
冷媒循環システム
18日前
マツダ株式会社
モータ軸受システム
6日前
マツダ株式会社
モータ軸受システム
6日前
マツダ株式会社
車両の下部車体構造
6日前
マツダ株式会社
車両の下部車体構造
6日前
マツダ株式会社
車両の下部車体構造
6日前
マツダ株式会社
車両の下部車体構造
2日前
マツダ株式会社
車両の下部車体構造
2日前
マツダ株式会社
車両の下部車体構造
2日前
マツダ株式会社
車両の下部車体構造
2日前
マツダ株式会社
ドライバ状態推定装置
1か月前
マツダ株式会社
ドライバ状態推定装置
1か月前
マツダ株式会社
ドライバ状態推定装置
1か月前
マツダ株式会社
車両運転支援システム
2日前
マツダ株式会社
ドライバ状態推定装置
1か月前
マツダ株式会社
樹脂発泡体及びシート
17日前
マツダ株式会社
車両運転支援システム
16日前
マツダ株式会社
車両運転支援システム
16日前
続きを見る
他の特許を見る