TOP
|
特許
|
意匠
|
商標
特許ウォッチ
Twitter
他の特許を見る
10個以上の画像は省略されています。
公開番号
2025167868
公報種別
公開特許公報(A)
公開日
2025-11-07
出願番号
2024072850
出願日
2024-04-26
発明の名称
バッテリユニット及びバッテリユニットの製造方法。
出願人
マツダ株式会社
代理人
弁理士法人前田特許事務所
主分類
H01M
50/209 20210101AFI20251030BHJP(基本的電気素子)
要約
【課題】バッテリケースにて、板材を撓ませずに縦フレーム及び横フレームに接合する。
【解決手段】バッテリケースは、前後方向に平行に延びる一対の縦フレームと、左右方向に平行に延びる一対の横フレームと、前後方向及び左右方向に延びる板材と、を有する。縦フレームと横フレームとは、四角枠状に組み合わされる。縦フレームは、中空断面における上端と下端とを連結し且つ前後方向に延びる縦リブを有する。横フレームは、中空断面における上端と下端とを連結し且つ左右方向に延びる横リブを有する。縦フレーム側接続部と横フレーム側接続部とが互いに接触するとき、縦リブと横リブとは互いに接触する。板材は、四角枠状に組み合わされた縦フレーム及び横フレームを上下方向のうちの少なくとも一方から覆う。板材は、縦リブ及び横リブに対して上下方向に見て重なるように沿って延びる接合ラインにおいて、縦フレーム及び横フレームに対して接合される。
【選択図】図6
特許請求の範囲
【請求項1】
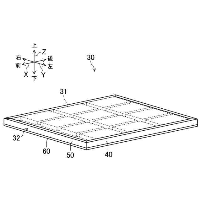
バッテリケースにバッテリセルを収容した状態で車両のフロアパネルの下方に配置されるバッテリユニットであって、
前記バッテリケースは、
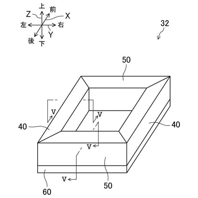
前後方向に平行に延びる一対の縦フレームと、
左右方向に平行に延びる一対の横フレームと、
前後方向及び左右方向に延びる板材と、を有し、
前記縦フレームと前記横フレームとは、前記バッテリセルを囲むように四角枠状に組み合わされ、
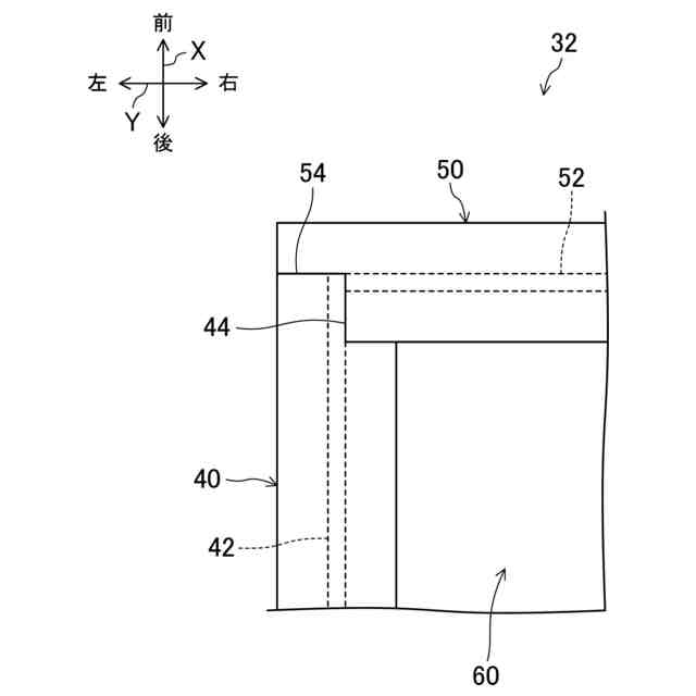
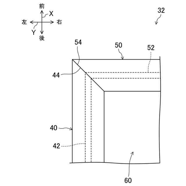
前記縦フレームは、中空断面における上端と下端とを連結し且つ前後方向に延びる縦リブを有し、
前記横フレームは、中空断面における上端と下端とを連結し且つ左右方向に延びる横リブを有し、
前記縦フレームにおける前記横フレームに対する縦フレーム側接続部と、前記横フレームにおける前記縦フレームに対する横フレーム側接続部とが、互いに接触するとき、前記縦リブと前記横リブとは、互いに接触し、
前記板材は、四角枠状に組み合わされた前記縦フレーム及び前記横フレームを上下方向のうちの少なくとも一方から覆い、
前記板材は、前記縦リブ及び前記横リブに対して上下方向に見て重なるように沿って延びる接合ラインにおいて、前記縦フレーム及び前記横フレームに対して接合されている、バッテリユニット。
続きを表示(約 890 文字)
【請求項2】
前記縦フレーム側接続部は、前後方向及び左右方向に対して斜めに形成され、
前記横フレーム側接続部は、前後方向及び左右方向に対して斜めに形成されている、
請求項1に記載のバッテリユニット。
【請求項3】
前記縦フレーム側接続部は、階段状に形成され、
前記横フレーム側接続部は、階段状に形成され、
階段状の前記縦フレーム側接続部と階段状の前記横フレーム側接続部とは、互いに係合している、請求項1に記載のバッテリユニット。
【請求項4】
前記縦フレームは、中空断面における両側端を連結し且つ前後方向に延びる縦補助リブを有し、
前記横フレームは、中空断面における両側端を連結し且つ左右方向に延びる横補助リブを有する、請求項1から3のいずれか1つに記載のバッテリユニット。
【請求項5】
請求項1から3のいずれか1つに記載のバッテリユニットを製造するための方法であって、
前記板材が前記縦フレーム及び前記横フレームに重ねられた状態で、前記縦リブ及び前記横リブに沿うように、押圧ツールで前記板材を押圧することによって、前記板材を前記接合ラインにおいて前記縦フレーム及び前記横フレームに対して接合する、バッテリユニットの製造方法。
【請求項6】
前記押圧ツールとしての回転ツールを回転させながら、前記回転ツールで前記板材を押圧することによって、前記板材を前記接合ラインにおいて前記縦フレーム及び前記横フレームに対して摩擦攪拌接合する、請求項5に記載のバッテリユニットの製造方法。
【請求項7】
前記押圧ツールは、第1電極及び第2電極を含み、
前記第1電極及び前記第2電極を前記縦リブ及び前記横リブに沿うように前記板材に並べて配置した状態で、前記第1電極及び前記第2電極で前記板材に電流を流すことによって、前記板材を前記接合ラインにおいて前記縦フレーム及び前記横フレームに対して溶接する、請求項5に記載のバッテリユニットの製造方法。
発明の詳細な説明
【技術分野】
【0001】
本開示は、バッテリケースにバッテリセルを収容した状態で車両のフロアパネルの下方に配置されるバッテリユニット、及びその製造方法に、関する。
続きを表示(約 1,600 文字)
【背景技術】
【0002】
従来技術に係るバッテリユニット130を、図11に示す。バッテリユニット130は、バッテリセルを収容するバッテリケース132を有する。バッテリケース132は、前後方向に平行に延びる一対の縦フレーム140と、左右方向に平行に延びる一対の横フレーム150と、前後方向及び左右方向に延びる板材160と、を有する。縦フレーム140と横フレーム150とは、互いに突き合わされることによって、バッテリセルを囲むように四角枠状に組み合わされている。
【0003】
板材160は、四角枠状に組み合わされた縦フレーム140及び横フレーム150を、上下方向のうちの少なくとも一方から覆う。板材160は、縦フレーム140及び横フレーム150に対して、接合される。
【0004】
板材160を縦フレーム140及び横フレーム150に対して接合する手法として、押圧接合が考えられる。押圧接合では、板材160を、縦フレーム140及び横フレーム150に対して、押圧しながら接合する。押圧接合の具体例として、例えば、摩擦攪拌接合や、シリーズ溶接などがある。前者の摩擦攪拌接合については、特許文献1に開示されている。
【先行技術文献】
【特許文献】
【0005】
特開2020-159488号公報
【発明の概要】
【発明が解決しようとする課題】
【0006】
縦フレーム140は、中空断面における上端と下端とを連結し且つ前後方向に延びる縦リブ142を有する。横フレーム150は、中空断面における上端と下端とを連結し且つ左右方向に延びる横リブ152を有する。
【0007】
縦フレーム140と横フレーム150とは、互いに突き合わされることによって、四角枠状に組み合わされる。このとき、バッテリケース132の四隅では、縦リブ142と横リブ152とが互いに接触しないため、リブの無いリブ無し箇所Nが発生してしまう。
【0008】
リブ無し箇所Nが発生した状態で、板材160を縦フレーム140及び横フレーム150に対して押圧接合すると、板材160を縦リブ142及びは横リブ152で支持できないので、板材160が撓んでしまう。板材160の撓みは、縦フレーム140及び横フレーム150に対する板材160の接合強度を低減させるので、好ましくない。
【0009】
本開示の目的は、車両のフロアパネルの下方に配置されるバッテリユニットのバッテリケースにおいて、板材を撓ませることなく縦フレーム及び横フレームに接合することある。
【課題を解決するための手段】
【0010】
本開示に係るバッテリユニットは、バッテリケースにバッテリセルを収容した状態で車両のフロアパネルの下方に配置されるバッテリユニットであって、前記バッテリケースは、前後方向に平行に延びる一対の縦フレームと、左右方向に平行に延びる一対の横フレームと、前後方向及び左右方向に延びる板材と、を有し、前記縦フレームと前記横フレームとは、バッテリセルを囲むように四角枠状に組み合わされ、前記縦フレームは、中空断面における上端と下端とを連結し且つ前後方向に延びる縦リブを有し、前記横フレームは、中空断面における上端と下端とを連結し且つ左右方向に延びる横リブを有し、前記縦フレームにおける前記横フレームに対する縦フレーム側接続部と、前記横フレームにおける前記縦フレームに対する横フレーム側接続部とが、互いに接触するとき、前記縦リブと前記横リブとは、互いに接触し、前記板材は、四角枠状に組み合わされた前記縦フレーム及び前記横フレームを上下方向のうちの少なくとも一方から覆い、前記板材は、前記縦リブ及び前記横リブに対して上下方向に見て重なるように沿って延びる接合ラインにおいて、前記縦フレーム及び前記横フレームに対して接合されている。
(【0011】以降は省略されています)
この特許をJ-PlatPat(特許庁公式サイト)で参照する
関連特許
マツダ株式会社
二次電池
1か月前
マツダ株式会社
二次電池
1か月前
マツダ株式会社
車載機器
1か月前
マツダ株式会社
回転電機
6日前
マツダ株式会社
エンジン
1か月前
マツダ株式会社
排気システム
1か月前
マツダ株式会社
運転支援装置
1か月前
マツダ株式会社
運転支援装置
1か月前
マツダ株式会社
排気システム
1か月前
マツダ株式会社
運転支援装置
1か月前
マツダ株式会社
車体後部構造
28日前
マツダ株式会社
車両の前部構造
1か月前
マツダ株式会社
車両の下部構造
6日前
マツダ株式会社
車両の上部構造
1か月前
マツダ株式会社
インバータ装置
1か月前
マツダ株式会社
インバータ装置
1か月前
マツダ株式会社
車両の下部構造
8日前
マツダ株式会社
車両の下部構造
8日前
マツダ株式会社
インバータ装置
1か月前
マツダ株式会社
車両の下部構造
6日前
マツダ株式会社
インバータ装置
1か月前
マツダ株式会社
車両の前部構造
7日前
マツダ株式会社
車両の前部構造
7日前
マツダ株式会社
バッテリ冷却構造
14日前
マツダ株式会社
バッテリ冷却構造
14日前
マツダ株式会社
バッテリユニット
27日前
マツダ株式会社
バッテリユニット
27日前
マツダ株式会社
エンジンの制御装置
1か月前
マツダ株式会社
二次電池の制御装置
1か月前
マツダ株式会社
車両用フレーム部材
7日前
マツダ株式会社
車両用フレーム部材
7日前
マツダ株式会社
二次電池の制御装置
1か月前
マツダ株式会社
エンジンの燃焼室構造
1か月前
マツダ株式会社
エンジンの燃焼室構造
1か月前
マツダ株式会社
被覆金属材の試験方法
1か月前
マツダ株式会社
自動変速機の油路構造
1か月前
続きを見る
他の特許を見る