TOP
|
特許
|
意匠
|
商標
特許ウォッチ
Twitter
他の特許を見る
10個以上の画像は省略されています。
公開番号
2025152681
公報種別
公開特許公報(A)
公開日
2025-10-10
出願番号
2024054696
出願日
2024-03-28
発明の名称
車両の前部構造
出願人
マツダ株式会社
代理人
弁理士法人三協国際特許事務所
主分類
B60K
1/00 20060101AFI20251002BHJP(車両一般)
要約
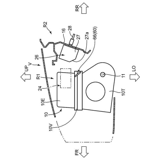
【課題】車両の前突時に補機が後退することを抑制して乗員の安全性を高める。
【解決手段】車両Vの前部構造は、車両前部のコンパートメントR1内に配置されるインバータ10Vと、インバータ10Vの後方であってかつ車両前後方向視において該インバータ10Vと重複する位置に配置されたブレーキブースタ26とを備える。インバータ10Vの後端部であってブレーキブースタ26との対向部分にはプロテクタ60が取付けられている。プロテクタ60は、インバータ10Vの後退に伴いブレーキブースタ26に当接して該ブレーキブースタ26を上方に変位させる傾斜面66aを備えたガイド部66を含む。
【選択図】図2
特許請求の範囲
【請求項1】
車両前部のコンパーメント内に配置されて、走行用のモータとバッテリとの間で電力を変換する電力変換装置と、
前記コンパーメント内における前記電力変換装置の後方であってかつ車両前後方向視において該電力変換装置と重複する位置に配置された補機と、を備える車両の前部構造であって、
前記電力変換装置及び前記補機のうち、少なくとも一方側における他方側との対向部分に、車両前突時の前記電力変換装置の後退に伴い該他方側に当接して前記補機を相対的に上方に変位させる傾斜面を備えたガイド部材が取付けられている、ことを特徴とする車両の前部構造。
続きを表示(約 1,200 文字)
【請求項2】
請求項1に記載の車両の前部構造において、
前記ガイド部材は、前記電力変換装置の後端部に取付けられており、
前記傾斜面は、車両前後方向において前上がりの傾斜面である、ことを特徴とする車両の前部構造。
【請求項3】
請求項1又は2に記載の車両の前部構造において、
前記電力変換装置は、電力の変換を行う回路部と、該回路部が収容される変換装置ハウジングとを含み、該変換装置ハウジングを介して前記モータを含む駆動装置の上部に固定されており、
前記ガイド部材は、前記変換装置ハウジングに取付けられている、ことを特徴とする車両の前部構造。
【請求項4】
請求項3に記載の車両の前部構造において、
前記変換装置ハウジングは、前記駆動装置に固定される下側ハウジングと、該下側ハウジングに結合される上側ハウジングとを含み、
前記ガイド部材は、前記下側ハウジングに取付けられている、ことを特徴とする車両の前部構造。
【請求項5】
請求項4に記載の車両の前部構造において、
前記下側ハウジングは、その周囲に、他の部分よりも肉厚に形成された部分であって締結部材によって前記駆動装置に締結される締結部を備え、
前記ガイド部材は、前記締結部又は該締結部に隣接する部分に取付けられている、ことを特徴とする車両の前部構造。
【請求項6】
請求項3に記載の車両の前部構造において、
前記変換装置ハウジングは、車両前後方向において前記補機に対向する面を備えた第1壁部と、該第1壁部の一端から車両前後方向の前方に延びる第2壁部とを備え、
前記ガイド部材は、前記一端を含む領域で前記第1壁部に取付けられている、ことを特徴とする車両の前部構造。
【請求項7】
請求項3に記載の車両の前部構造において、
前記ガイド部材は、前記傾斜面を有する本体部と、前記変換装置ハウジングに固定される脚部とを含み、
前記本体部は、前記変換装置ハウジングから離間している、ことを特徴とする車両の前部構造。
【請求項8】
請求項7に記載の車両の前部構造において、
前記脚部は、前記傾斜面の面直方向に沿って車両前後方向の前方に延びる部分を有する、ことを特徴とする車両の前部構造。
【請求項9】
請求項2に記載の車両の前部構造において、
前記補機は、車両前後方向において前記ガイド部材の前記傾斜面に対向する前上がりの傾斜面を有する、ことを特徴とする車両の前部構造。
【請求項10】
請求項1又は2に記載の車両の前部構造において、
前記補機は、ブレーキブースタである、ことを特徴とする車両の前部構造。
発明の詳細な説明
【技術分野】
【0001】
本発明は、車両の前部空間に、走行用モータと、電力を変換する電力変換装置とが備えられた、車両の前部構造に関する。
続きを表示(約 1,300 文字)
【背景技術】
【0002】
車両の前部空間(フロントコンパートメント)に、走行用モータと電力変換装置とが備えられる電気自動車やハイブリッド車などの電動車両が周知である。電力変換装置は、バッテリと走行用モータとの間で電力を直交変換する装置である。
【0003】
電力変換装置は、走行用モータへの供給電力の損失を小さくするため、また、スペース効率の観点から走行用モータの上部などに配置される場合が多い。
【0004】
この構造では、車両の前方衝突(車両前突という)の際、電力変換装置が走行用モータと共に後退してその後方に配置された補機に干渉(衝突)し、電力交換装置や補機が損傷するおそれがある。特許文献1には、このような衝突による電力変換装置(電力制御ユニット)の損傷を防止するために、詳しくは電力交換装置の後方上部に備えられたコネクタの損傷を防止するために、電力交換装置にプロテクタを備えた構造が開示されている。
【先行技術文献】
【特許文献】
【0005】
特開2018-111420号公報
【発明の概要】
【発明が解決しようとする課題】
【0006】
ところで、車両前突時、電力変換装置が走行用モータと共に後退して補機に衝突すると補機が後退することが考えられる。この場合、補機がさらにその後方のダッシュパネルと共に後退して車室内に侵入するおそれがある。
【0007】
従って、乗員保護の観点からは、仮に電力変換装置が補機に衝突するような状況が発生しても、補機の後退を回避できるのが望ましい。しかし、特許文献1には、そのような構造的な工夫についての言及は見られない。
【0008】
本発明は、上記のような事情に鑑みてなされたものであり、走行用のモータと電力変換装置とが備えられる車両の前部構造において、車両前突時に補機が後退することを抑制すること、ひいては乗員の安全性をより高めることを目的とする。
【課題を解決するための手段】
【0009】
本発明は、上記課題に鑑みてなされたものであり、車両前部のコンパーメント内に配置されて、走行用のモータとバッテリとの間で電力を変換する電力変換装置と、前記コンパーメント内における前記電力変換装置の後方であってかつ車両前後方向視において該電力変換装置と重複する位置に配置された補機と、を備える車両の前部構造であって、前記電力変換装置及び前記補機のうち、少なくとも一方側における他方側との対向部分に、車両前突時の前記電力変換装置の後退に伴い該他方側に当接して前記補機を相対的に上方に変位させる傾斜面を備えたガイド部材が取付けられている、ことを特徴とする。
【0010】
なお、「電力を変換する」とは、電力の変数としての電圧、電流、周波数、位相、位相数などの少なくとも1つを別の形態に変換する意味である。例えば、直流電力と交流電力との変換、電圧の昇圧又は降圧の変換などを意味する。
(【0011】以降は省略されています)
この特許をJ-PlatPat(特許庁公式サイト)で参照する
関連特許
マツダ株式会社
二次電池
26日前
マツダ株式会社
車載機器
26日前
マツダ株式会社
エンジン
27日前
マツダ株式会社
二次電池
26日前
マツダ株式会社
運転支援装置
26日前
マツダ株式会社
運転支援装置
26日前
マツダ株式会社
排気システム
28日前
マツダ株式会社
運転支援装置
26日前
マツダ株式会社
インバータ装置
27日前
マツダ株式会社
インバータ装置
27日前
マツダ株式会社
インバータ装置
27日前
マツダ株式会社
車両の前部構造
26日前
マツダ株式会社
車両の上部構造
6日前
マツダ株式会社
インバータ装置
27日前
マツダ株式会社
エンジンの制御装置
27日前
マツダ株式会社
二次電池の制御装置
26日前
マツダ株式会社
二次電池の制御装置
28日前
マツダ株式会社
被覆金属材の試験方法
27日前
マツダ株式会社
エンジンの燃焼室構造
27日前
マツダ株式会社
自動変速機の油路構造
27日前
マツダ株式会社
エンジンの燃焼室構造
27日前
マツダ株式会社
バッテリ温度制御システム
26日前
マツダ株式会社
車両のパワートレイン構造
27日前
マツダ株式会社
車両のパワートレイン構造
26日前
マツダ株式会社
車両のパワートレイン構造
27日前
マツダ株式会社
車両のパワートレイン構造
27日前
マツダ株式会社
車両の合流位置評価装置及び方法
26日前
マツダ株式会社
車両の合流位置評価装置及び方法
26日前
マツダ株式会社
車両の合流位置評価装置及び方法
26日前
マツダ株式会社
車両の合流位置評価装置及び方法
26日前
マツダ株式会社
車載エンジンのCO2回収システム
26日前
マツダ株式会社
車載エンジンのCO2回収システム
26日前
マツダ株式会社
車両のドア構造およびその製造方法
6日前
マツダ株式会社
電動自動車のバッテリマネジメント装置
26日前
マツダ株式会社
車両の上部構造、および車両の上部構造の製造方法
6日前
マツダ株式会社
樹脂成形品の解析方法、解析装置、解析用プログラム及び記録媒体
26日前
続きを見る
他の特許を見る