TOP
|
特許
|
意匠
|
商標
特許ウォッチ
Twitter
他の特許を見る
公開番号
2025151812
公報種別
公開特許公報(A)
公開日
2025-10-09
出願番号
2024053402
出願日
2024-03-28
発明の名称
インバータ装置
出願人
マツダ株式会社
代理人
弁理士法人前田特許事務所
主分類
H02M
7/48 20070101AFI20251002BHJP(電力の発電,変換,配電)
要約
【課題】インバータ装置のインダクタンスを低減する。
【解決手段】
インバータ装置1は、配線層L1と配線層L2と配線層L5とを有する配線基板2と、配線基板2の中間層に並べて配置され、一方の面にソース領域Sと、ソース領域Sを囲むドレイン領域Dとを有するトランジスタQ1,Q2と、容量C1を備える。第1電源配線11は、容量の一方の端子C11から第1方向に延び、トランジスタQ1のソース領域Sよりも第1方向側のドレイン領域DにおいてトランジスタQ1のドレインに接続される。トランジスタQ1のソースに接続された出力配線OUTは、第2方向に延びてトランジスタQ2のソース領域Sよりも第1方向側のドレイン領域DでトランジスタQ2のドレインに接続される。第2電源配線12は、容量C1の他方の端子C12から第2方向に延び、トランジスタQ2のソースに接続される。
【選択図】図2
特許請求の範囲
【請求項1】
第1配線層、第2配線層、第3配線層が重ねて配置された配線基板と、
一方の面にソース領域と、当該ソース領域を囲むドレイン領域とを有し、前記第2配線層と前記第3配線層の間の中間層に、前記一方の面が前記第2配線層と対向するように並べて配置された第1トランジスタおよび第2トランジスタと、
一方の端子が前記第1配線層の第1電源配線に接続され、他方の端子が前記第1配線層の第2電源配線に接続された容量とを備え、
前記第1電源配線は、前記第1配線層において、前記容量の一方の端子から第1方向に延びており、かつ、前記第1トランジスタの前記ソース領域よりも第1方向側の前記ドレイン領域において前記第1トランジスタのドレインに接続され、
前記第1トランジスタのソースに接続された出力配線が、前記第2配線層において、前記第1方向と反対の第2方向に延びて前記第2トランジスタの前記ソース領域よりも第1方向側のドレインに接続され、
前記第2電源配線は、前記第1配線層において、前記容量の他方の端子から前記第2方向に延びており、かつ、前記第2トランジスタのソースに接続される、インバータ装置。
続きを表示(約 750 文字)
【請求項2】
請求項1に記載のインバータ装置において、
前記第1電源配線は、前記第2配線層と前記第3配線層とを接続するビアで互いに接続され、かつ、前記第3配線層において、前記第1トランジスタのドレインと接続される、インバータ装置。
【請求項3】
請求項1に記載のインバータ装置において、
前記出力配線は、前記第2配線層と前記第3配線層とを接続するビアで互いに接続され、かつ、前記第3配線層において、前記第2トランジスタのドレインと接続される、インバータ装置。
【請求項4】
第1配線層、第2配線層、第3配線層が重ねて配置された配線基板と、
一方の面にソース領域が設けられ、他方の面にドレイン領域が設けられて、前記第2配線層と前記第3配線層の間の中間層に並べて配置された第1トランジスタおよび第2トランジスタと、
一方の端子が前記第1配線層の第1電源配線に接続され、他方の端子が前記第1配線層の第2電源配線に接続された容量とを備え、
前記第1トランジスタは、前記一方の面が前記第2配線層と対向し、前記第2トランジスタは、前記他方の面が前記第2配線層と対向しており、
前記第1電源配線は、前記第1配線層において、前記容量の一方の端子から第1方向に延びて、前記第1トランジスタのドレインに接続され、
前記第1トランジスタのソースに接続された出力配線が、前記第2配線層において、前記第1方向と反対の第2方向に延びて前記第2トランジスタのドレインに接続され、
前記第2電源配線は、前記第1配線層において、前記容量の他方の端子から前記第2方向に延びて、前記第2トランジスタのソースに接続される、インバータ装置。
発明の詳細な説明
【技術分野】
【0001】
ここに開示された技術は、インバータ装置に関する技術分野に属する。
続きを表示(約 1,600 文字)
【背景技術】
【0002】
インバータ装置のパワー密度の向上に伴う高出力化が進み、インバータ装置のインダクタンスを低減する技術が求められている。
【0003】
特許文献1には、直流-交流変換のインバータにおいて、配線インダクタンスを低減させるために、2本の配線導体を近接かつ平行に配置し、それぞれに異なる方向の電流を流すことで、相互インダクタンスを用いて配線インダクタンスを減少させる技術が示されている。
【先行技術文献】
【特許文献】
【0004】
特開2003-259656号公報
【発明の概要】
【発明が解決しようとする課題】
【0005】
従来のインバータ装置は、トランジスタを基板の表面に実装して構成されている。しかしながら、トランジスタを基板表面に実装した場合、トランジスタと基板とを接続するボンディングワイヤの影響から自己インダクタンスを十分に低減できないという問題がある。
【0006】
ここに開示された技術は斯かる点に鑑みてなされたものであり、インダクタンスが低減されたインバータ装置を提供することにある。
【課題を解決するための手段】
【0007】
前記課題を解決するために、ここに開示された技術では、インバータ装置を対象として、第1配線層、第2配線層、第3配線層が重ねて配置された配線基板と、一方の面にソース領域と、当該ソース領域を囲むドレイン領域とを有し、前記第2配線層と前記第3配線層の間の中間層に、前記一方の面が前記第2配線層と対向するように並べて配置された第1トランジスタおよび第2トランジスタと、一方の端子が前記第1配線層の第1電源配線に接続され、他方の端子が前記第1配線層の第2電源配線に接続された容量とを備え、前記第1電源配線は、前記第1配線層において、前記容量の一方の端子から第1方向に延びて、前記第1トランジスタのドレインに接続され、前記第1トランジスタのソースに接続された出力配線が、前記第2配線層において、前記第1方向と反対の第2方向に延びて前記第2トランジスタのドレインに接続され、前記第2電源配線は、前記第1配線層において、前記容量の他方の端子から前記第2方向に延び、前記第2トランジスタのソースに接続される、構成とした。
【0008】
このような構成にすることで、容量、第1トランジスタおよび第2トランジスタで形成されるループ回路に着目した場合に、物理的に狭いループを実現することができるので、自己インダクタンスを低減することができる。さらに、第1配線層の第1電源配線に流れる電流の方向と、出力配線に流れる電流の方向とを反対にすることができる。同様に、出力配線に流れる電流の方向と第1配線層の第2電源配線に流れる電流の方向とを、反対にすることができる。これにより、自己インダクタンスから相互インダクタンス分が差し引かれるので、合成インダクタンスの値を小さくすることができる。このように、本実施形態の構成にすることで、インバータ装置の低インダクタンスと、高い熱伝導率の両立をすることができる。
【発明の効果】
【0009】
以上説明したように、ここに開示された技術によると、インバータ装置のインダクタンスを低減することができる。
【図面の簡単な説明】
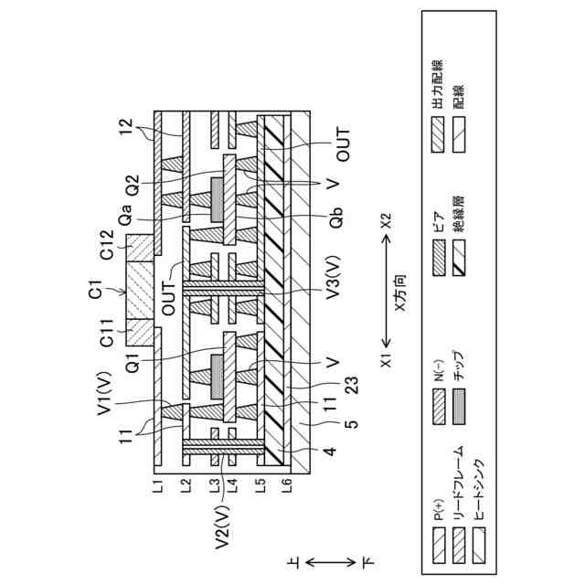
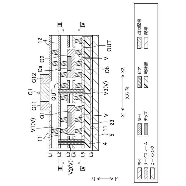
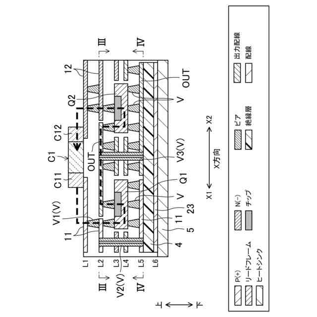
【0010】
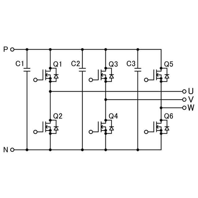
インバータ装置の回路図
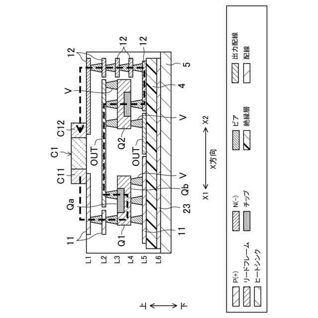
インバータ装置の構成の一例を示す側断面図
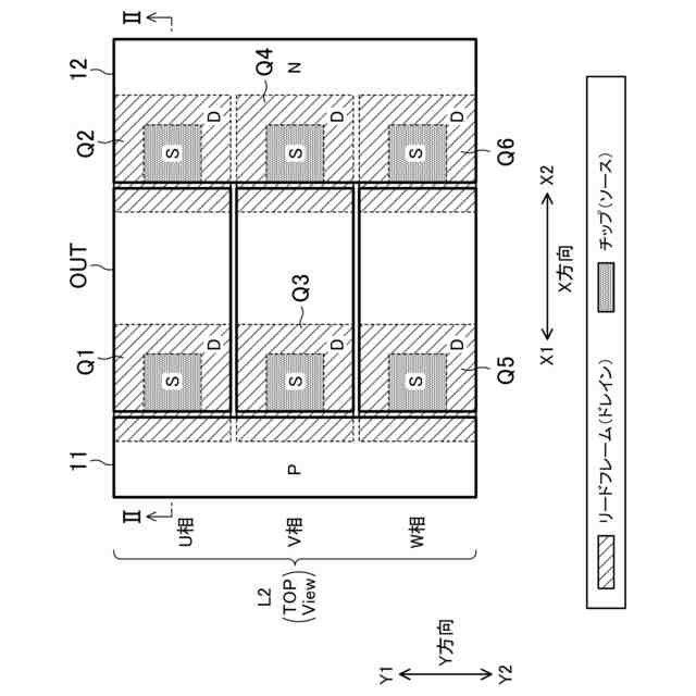
インバータ装置を第2配線層の上から見た平面図
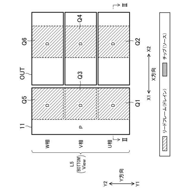
インバータ装置を第5配線層の下から見た下面図
インバータ装置の電流の流れを説明するための図
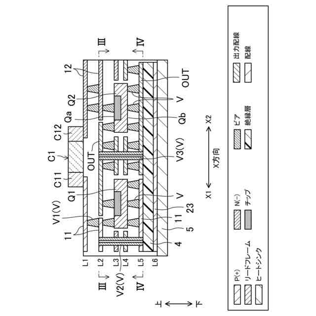
インバータ装置の他の構成例1を示す図2相当の側断面図
インバータ装置の他の構成例2を示す図2相当の側断面図
【発明を実施するための形態】
(【0011】以降は省略されています)
この特許をJ-PlatPat(特許庁公式サイト)で参照する
関連特許
マツダ株式会社
回転電機
9日前
マツダ株式会社
車両の下部構造
9日前
マツダ株式会社
車両の下部構造
2日前
マツダ株式会社
車両の下部構造
9日前
マツダ株式会社
車両の車体骨格構造
2日前
マツダ株式会社
認知運動能力評価装置
2日前
マツダ株式会社
車両の状態量検出装置
4日前
マツダ株式会社
リサーキュレーションパイプの支持構造および支持方法
2日前
マツダ株式会社
車両用空調装置の冷媒取り出し方法及び車両用空調装置
9日前
マツダ株式会社
データ変換方法、データ変換装置、データ変換プログラム、および、該データ変換プログラムを記憶したコンピュータ読取可能な記憶媒体
2日前
個人
高圧電気機器の開閉器
18日前
個人
電気を重力で発電装置
1か月前
キヤノン電子株式会社
モータ
1か月前
キヤノン電子株式会社
モータ
1か月前
日星電気株式会社
ケーブル組立体
1か月前
コーセル株式会社
電源装置
1か月前
トヨタ自動車株式会社
モータ
1か月前
株式会社アイドゥス企画
減反モータ
18日前
株式会社デンソー
端子台
11日前
株式会社デンソー
回転電機
2日前
個人
二次電池繰返パルス放電器用印刷基板
1か月前
株式会社ダイヘン
送配電装置
2日前
富士電機株式会社
電力変換装置
2日前
ローム株式会社
半導体集積回路
9日前
株式会社デンソー
電力変換装置
1か月前
富士電機株式会社
電力変換装置
2日前
株式会社不二越
空冷式油圧装置
2日前
本田技研工業株式会社
回転電機
4日前
矢崎総業株式会社
給電装置
10日前
株式会社デンソー
非接触受電装置
1か月前
トヨタ自動車株式会社
固定子の加熱装置
1か月前
株式会社日立製作所
回転電機
9日前
株式会社TMEIC
制御装置
10日前
矢崎総業株式会社
電源回路
17日前
山洋電気株式会社
モータ
1か月前
個人
非対称鏡像力を有する4層PWB電荷搬送体
25日前
続きを見る
他の特許を見る