TOP
|
特許
|
意匠
|
商標
特許ウォッチ
Twitter
他の特許を見る
10個以上の画像は省略されています。
公開番号
2025174662
公報種別
公開特許公報(A)
公開日
2025-11-28
出願番号
2024081156
出願日
2024-05-17
発明の名称
車両用空調装置の冷媒取り出し方法及び車両用空調装置
出願人
マツダ株式会社
代理人
弁理士法人前田特許事務所
主分類
B60H
1/22 20060101AFI20251120BHJP(車両一般)
要約
【課題】冷媒回路からの冷媒の回収時間を短くする。
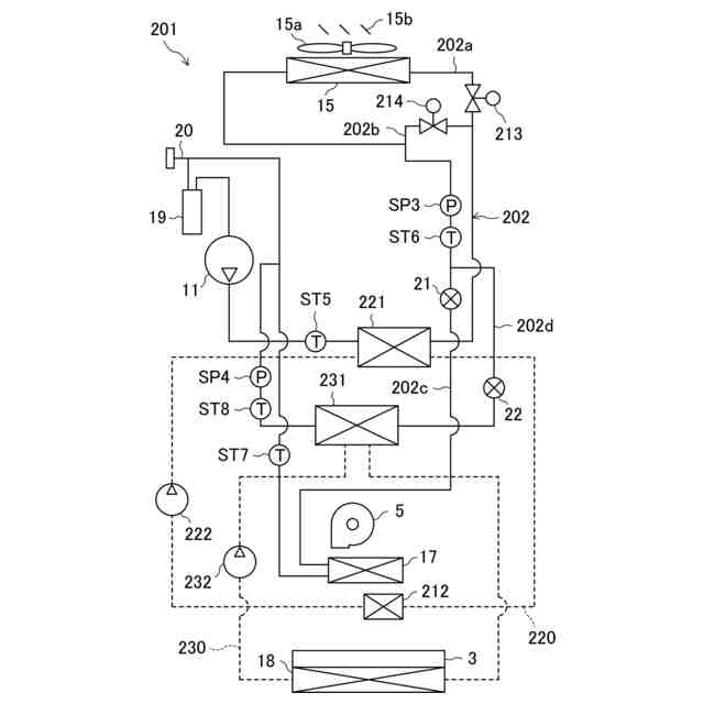
【解決手段】車両用空調装置1は、車室内の空気調和を行うための空調部と、減圧により冷媒を気化させる第1状態と、減圧による冷媒の気化を行わない第2状態とに変更可能な冷媒調整部と、冷媒を圧縮してから出力するコンプレッサ11と、冷媒を冷媒回路2の外に取り出す取出口20と、を含む。冷媒回収モードでは、冷媒調整部を第2状態にして、コンプレッサから出力された冷媒を、空調部、冷媒調整部の順に通過させた後、コンプレッサ11に再度流入させる冷媒加熱ステップと、冷媒加熱ステップの後又は冷媒加熱ステップの実行中に、取出口20を開放する取り出しステップと、を備える。
【選択図】図5
特許請求の範囲
【請求項1】
冷媒回路を循環する冷媒を用いて車室内の空気調和を行う車両用空調装置の冷媒取り出し方法であって、
前記車両用空調装置は、
前記車室内の空気調和を行うための空調部と、
減圧により前記冷媒を気化させる第1状態と、減圧による前記冷媒の気化を行わない第2状態とに変更可能な冷媒調整部と、
前記冷媒を圧縮してから出力するコンプレッサと、
前記冷媒を前記冷媒回路の外に取り出す取出口と、
を含み、
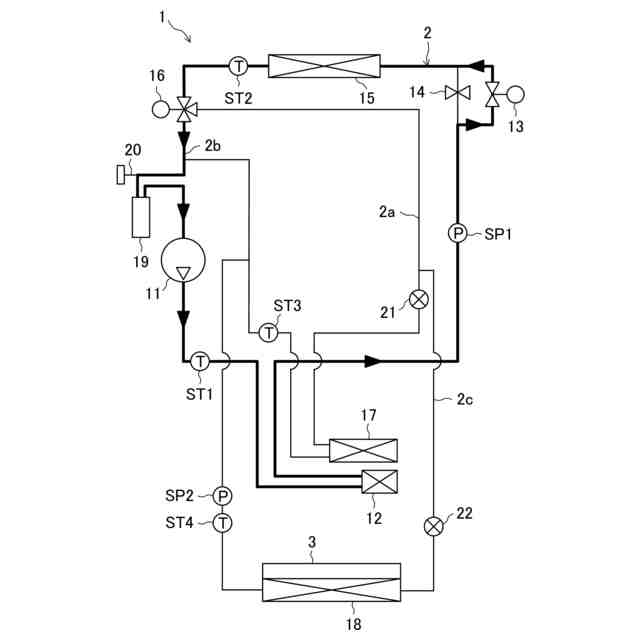
前記冷媒を用いて前記車室内の空気調和を行う冷房モード及び暖房モードでは、前記冷媒調整部を前記第1状態にして、前記コンプレッサから出力された前記冷媒を、前記空調部及び前記冷媒調整部を通過させた後、前記コンプレッサに再度流入させて、前記冷媒回路内で循環させ、
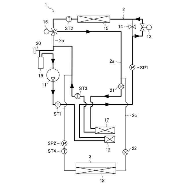
前記冷媒を前記冷媒回路から取り出す冷媒回収モードでは、
前記冷媒調整部を前記第2状態にして、前記コンプレッサから出力された前記冷媒を、前記空調部及び前記冷媒調整部の順に通過させた後、前記コンプレッサに再度流入させて、前記冷媒回路内で循環させる冷媒加熱ステップと、
前記冷媒加熱ステップの後又は前記冷媒加熱ステップの実行中に、前記取出口を開放する取り出しステップと、
を備える、車両用空調装置の冷媒取り出し方法。
続きを表示(約 2,700 文字)
【請求項2】
請求項1に記載の車両用空調装置の冷媒取り出し方法において、
前記空調部は、暖房用熱交換器及びエバポレータを有し、
前記車両用空調装置は、前記冷媒が前記エバポレータを通過する開状態と前記冷媒が前記エバポレータを通過しない閉状態とに切り替え可能な第1切替部を更に含み、
前記冷房モードでは、前記第1切替部を前記開状態にしかつ前記冷媒調整部を前記第1状態にして、前記コンプレッサから出力された前記冷媒を、前記暖房用熱交換器、前記冷媒調整部、前記エバポレータの順に通過させた後、前記コンプレッサに再度流入させ、
前記暖房モードでは、前記第1切替部を前記閉状態にしかつ前記冷媒調整部を前記第1状態にして、前記コンプレッサから出力された前記冷媒を、前記暖房用熱交換器、前記冷媒調整部の順に通過させた後、前記コンプレッサに再度流入させ、
前記冷媒回収モードの前記冷媒加熱ステップでは、前記第1切替部を前記閉状態にしかつ前記冷媒調整部を前記第2状態にして、前記コンプレッサから出力された前記冷媒を、前記暖房用熱交換器、前記冷媒調整部の順に通過させた後、前記コンプレッサに再度流入させる、車両用空調装置の冷媒取り出し方法。
【請求項3】
請求項2に記載の車両用空調装置の冷媒取り出し方法において、
前記冷媒加熱ステップは、
前記第1切替部を前記閉状態にしかつ前記冷媒調整部を前記第2状態にして、前記コンプレッサから出力された前記冷媒を、前記暖房用熱交換器、前記冷媒調整部の順に通過させた後、前記コンプレッサに再度流入させる第1循環ステップと、
前記第1循環ステップの後、前記第1切替部を前記開状態にしかつ前記冷媒調整部を前記第2状態にして、前記暖房用熱交換器、前記冷媒調整部、前記エバポレータの順に通過させた後、前記コンプレッサに再度流入させる第2循環ステップと、
を含む車両用空調装置の冷媒取り出し方法。
【請求項4】
請求項3に記載の車両用空調装置の冷媒取り出し方法において、
前記車両用空調装置は、
前記冷媒回路における前記暖房用熱交換器から前記エバポレータまでの経路から分岐した経路に位置しかつ車両の駆動力を生成する電動機に電力を供給するバッテリの温度を調節するバッテリ温度調整部と、
前記冷媒が前記バッテリ温度調整部を通過する開状態と前記冷媒が前記バッテリ温度調整部を通過しない閉状態とに切り替え可能な第2切替部と、
を更に含み、
前記第1循環ステップ及び第2循環ステップでは、前記第2切替部を前記閉状態にし、
前記冷媒加熱ステップは、前記第1循環ステップの後、前記第1切替部を前記閉状態にしかつ前記第2切替部を前記開状態にしかつ前記冷媒調整部を前記第2状態にして、前記暖房用熱交換器、前記冷媒調整部、前記バッテリ温度調整部の順に通過させた後、前記コンプレッサに再度流入させる第3循環ステップを更に含む、車両用空調装置の冷媒取り出し方法。
【請求項5】
請求項3に記載の車両用空調装置の冷媒取り出し方法において、
前記車両用空調装置は、前記冷媒回路における前記暖房用熱交換器から前記エバポレータまでの経路から分岐した経路に位置しかつ車両の駆動力を生成する電動機に電力を供給するバッテリの温度を調節するバッテリ温度調整部を更に含み、
前記冷媒調整部は、前記バッテリ温度調整部に設けられかつ開度を調整可能な膨張弁を有し、
前記冷房モード及び前記暖房モードでは、前記膨張弁を前記冷媒が気化する開度にする一方、前記冷媒回収モードの前記第1循環ステップでは、前記膨張弁を前記冷媒が気化しない開度にし、前記冷媒回収モードの前記第2循環ステップでは、前記膨張弁を全閉させる、車両用空調装置の冷媒取り出し方法。
【請求項6】
請求項3~5のいずれか1つに記載の車両用空調装置の冷媒取り出し方法において、
前記車両用空調装置は、
前記冷媒回路内の冷媒温度を検出する温度センサと、
前記冷媒回路内の冷媒圧力を検出する圧力センサと、
を更に含み、
前記第1循環ステップにおいて前記温度センサにより検出された冷媒温度が第1所定温度以上であること、及び前記第1循環ステップにおいて前記圧力センサにより検出された冷媒圧力が第1所定圧力以上であることの少なくとも一方が満たされたときに、前記第2循環ステップに移行する車両用空調装置の冷媒取り出し方法。
【請求項7】
請求項6に記載の車両用空調装置の冷媒取り出し方法において、
前記温度センサにより検出された冷媒温度が前記第1所定温度よりも高い第2所定温度であること、及び前記圧力センサにより検出された冷媒圧力が前記第1所定圧力よりも高い第2所定圧力であることの少なくとも一方が満たされたときに、前記冷媒加熱ステップから前記取り出しステップに移行する車両用空調装置の冷媒取り出し方法。
【請求項8】
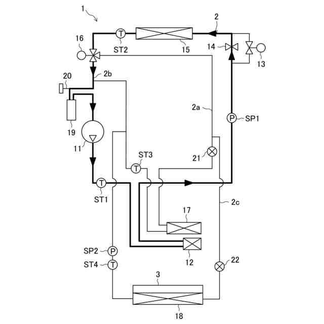
冷媒回路を循環する冷媒を用いて車室内の空気調和を行う車両用空調装置であって、
前記車室内の空気調和を行うための空調部と、
減圧により前記冷媒を気化させる第1状態と、減圧による前記冷媒の気化を行わない第2状態とに変更可能な冷媒調整部と、
前記冷媒を圧縮してから出力するコンプレッサと、
前記冷媒を前記冷媒回路の外に取り出す取出口と、
コントローラと、を備え、
前記コントローラは、
前記冷媒を用いて前記車室内の空気調和を行う冷房モード及び暖房モードでは、前記冷媒調整部を前記第1状態にして、前記コンプレッサから出力された前記冷媒を、前記空調部及び前記冷媒調整部を通過させた後、前記コンプレッサに再度流入させて、前記冷媒回路内で循環させ、
前記冷媒を前記冷媒回路から取り出す冷媒回収モードでは、前記取出口が開放される前に、前記冷媒調整部を前記第2状態にして、前記コンプレッサから出力された前記冷媒を、前記空調部及び前記冷媒調整部を通過させた後、前記コンプレッサに再度流入させて、前記冷媒回路内で循環させる車両用空調装置。
【請求項9】
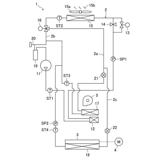
請求項8に記載の車両用空調装置において、
前記取出口は、前記冷媒回路における、前記空調部よりも下流に設けられている車両用空調装置。
発明の詳細な説明
【技術分野】
【0001】
ここに開示された技術は、車両用空調装置の冷媒取り出し方法及び車両用空調装置に関する技術分野に属する。
続きを表示(約 2,000 文字)
【背景技術】
【0002】
従来より、冷媒を用いて車室内の空気調和を行う車両用空調装置が知られている。
【0003】
例えば、特許文献1に記載の車両用空調装置では、冷房モードでは、コンプレッサから出力した冷媒を、ヒータコア、室外熱交換器、空調弁、エバポレータの順で循環させて、コンプレッサに再度流入させ、暖房モードでは、コンプレッサから出力した冷媒を、ヒータコア、膨張弁、室外熱交換器の順で循環させて、コンプレッサに再度流入させる。
【先行技術文献】
【特許文献】
【0004】
特開2021-035104号公報
【発明の概要】
【発明が解決しようとする課題】
【0005】
ところで、車両用空調装置の冷媒を交換するときには、冷媒回路から既存の冷媒を全て排出する必要がある。従来は、冷媒回路の取出口を開放するとともに、外部装置で減圧して、冷媒を回収するため、冷媒の回収に時間がかかっていた。特に、暖房モードを実行するような外気温が低い環境では、冷媒を回収する段階で冷媒が液化していることがある。冷媒が液化していると、冷媒が気化する程度にまで冷媒回路を減圧させる必要があるため、冷媒の回収時間が長くなってしまう。
【0006】
ここに開示された技術は斯かる点に鑑みてなされたものであり、その目的とするところは、冷媒回路からの冷媒の回収時間を短くすることにある。
【課題を解決するための手段】
【0007】
前記課題を解決するために、ここに開示された技術の第1の態様は、冷媒回路を循環する冷媒を用いて車室内の空気調和を行う車両用空調装置の冷媒取り出し方法を対象とする。前記車両用空調装置は、前記車室内の空気調和を行うための空調部と、減圧により前記冷媒を気化させる第1状態と、減圧による前記冷媒の気化を行わない第2状態とに変更可能な冷媒調整部と、前記冷媒を圧縮してから出力するコンプレッサと、前記冷媒を前記冷媒回路の外に取り出す取出口と、を含む。前記冷媒を用いて前記車室内の空気調和を行う冷房モード及び暖房モードでは、前記冷媒調整部を前記第1状態にして、前記コンプレッサから出力された前記冷媒を、前記空調部及び前記冷媒調整部を通過させた後、前記コンプレッサに再度流入させて、前記冷媒回路内で循環させ、前記冷媒を前記冷媒回路から取り出す冷媒回収モードでは、前記冷媒調整部を前記第2状態にして、前記コンプレッサから出力された前記冷媒を、前記空調部及び前記冷媒調整部の順に通過させた後、前記コンプレッサに再度流入させて、前記冷媒回路内で循環させる冷媒加熱ステップと、前記冷媒加熱ステップの後又は前記冷媒加熱ステップの実行中に、前記取出口を開放する取り出しステップと、を備える。
【0008】
第1の態様では、冷媒加熱ステップにより、減圧による冷媒の気化を行わずに、冷媒回路を循環させることで、冷媒回路内で冷媒の温度及び圧力を高くすることができる。冷媒の温度が高くなれば、減圧せずとも、冷媒を気化させることができる。そして、冷媒の温度及び圧力が高い状態で取出口を開放することで、気化した冷媒を取出口から効率良く流出させることができる。これにより、冷媒の回収時間を短くできる。
【0009】
なお、本明細書において、「減圧による冷媒の気化を行わない第2状態」とは、全ての冷媒を減圧により気化させない状態のみでなく、冷媒のごく一部が減圧により気化しかつ冷媒の大半が減圧による気化をされない状態を含む。
【0010】
第2の態様は、第1の態様において、前記空調部は、暖房用熱交換器及びエバポレータを有し、前記車両用空調装置は、前記冷媒が前記エバポレータを通過する開状態と前記冷媒が前記エバポレータを通過しない閉状態とに切り替え可能な第1切替部を更に含み、冷房モードでは、前記第1切替部を前記開状態にしかつ前記冷媒調整部を前記第1状態にして、前記コンプレッサから出力された前記冷媒を、前記暖房用熱交換器、前記冷媒調整部、前記エバポレータの順に通過させた後、前記コンプレッサに再度流入させ、暖房モードでは、前記第1切替部を前記閉状態にしかつ前記冷媒調整部を前記第1状態にして、前記コンプレッサから出力された前記冷媒を、前記暖房用熱交換器、前記冷媒調整部の順に通過させた後、前記コンプレッサに再度流入させ、前記冷媒回収モードの前記冷媒加熱ステップでは、前記第1切替部を前記閉状態にしかつ前記冷媒調整部を前記第2状態にして、前記コンプレッサから出力された前記冷媒を、前記暖房用熱交換器、前記冷媒調整部の順に通過させた後、前記コンプレッサに再度流入させる。
(【0011】以降は省略されています)
この特許をJ-PlatPat(特許庁公式サイト)で参照する
関連特許
マツダ株式会社
回転電機
今日
マツダ株式会社
車体後部構造
22日前
マツダ株式会社
車両の下部構造
今日
マツダ株式会社
車両の下部構造
2日前
マツダ株式会社
車両の上部構造
29日前
マツダ株式会社
車両の前部構造
1日前
マツダ株式会社
車両の前部構造
1日前
マツダ株式会社
車両の下部構造
今日
マツダ株式会社
車両の下部構造
2日前
マツダ株式会社
バッテリ冷却構造
8日前
マツダ株式会社
バッテリユニット
21日前
マツダ株式会社
バッテリ冷却構造
8日前
マツダ株式会社
バッテリユニット
21日前
マツダ株式会社
車両用フレーム部材
1日前
マツダ株式会社
車両用フレーム部材
1日前
マツダ株式会社
塗布方法及び塗布装置
8日前
マツダ株式会社
運転者の覚醒維持装置
1日前
マツダ株式会社
バッテリ温度制御システム
1か月前
マツダ株式会社
車両のドア構造およびその製造方法
29日前
マツダ株式会社
車両用フレーム部材および車体前部構造
8日前
マツダ株式会社
車両用フレーム部材および車体前部構造
8日前
マツダ株式会社
車両の構造設計方法及び構造設計プログラム
2日前
マツダ株式会社
バッテリユニットを搭載した車両の前部車体構造
21日前
マツダ株式会社
車両の上部構造、および車両の上部構造の製造方法
29日前
マツダ株式会社
バッテリユニット及びバッテリユニットの製造方法。
21日前
マツダ株式会社
車両用空調装置の冷媒取り出し方法及び車両用空調装置
今日
マツダ株式会社
ゴム材料の応力-ひずみ特性予測方法、装置、プログラム、記録媒体及び設計方法
1か月前
個人
タイヤレバー
4か月前
個人
前輪キャスター
3か月前
個人
上部一体型自動車
1か月前
個人
タイヤ脱落防止構造
3か月前
個人
ルーフ付きトライク
3か月前
個人
空間形成装置
29日前
日本精機株式会社
照明装置
24日前
個人
マスタシリンダ
2か月前
日本精機株式会社
表示装置
3か月前
続きを見る
他の特許を見る