TOP
|
特許
|
意匠
|
商標
特許ウォッチ
Twitter
他の特許を見る
10個以上の画像は省略されています。
公開番号
2025173274
公報種別
公開特許公報(A)
公開日
2025-11-27
出願番号
2024078782
出願日
2024-05-14
発明の名称
車両用フレーム部材
出願人
マツダ株式会社
代理人
個人
,
個人
,
個人
主分類
B62D
25/20 20060101AFI20251119BHJP(鉄道以外の路面車両)
要約
【課題】衝撃荷重が入力される際に、均等に軸圧縮させることで、意図した衝撃荷重を吸収しやすい車両用フレーム部材を提供する。
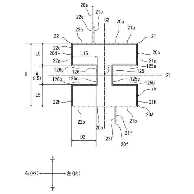
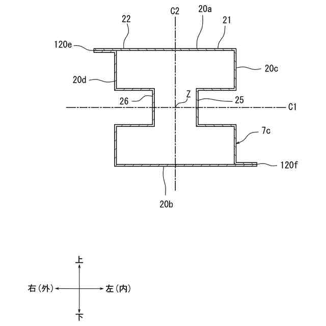
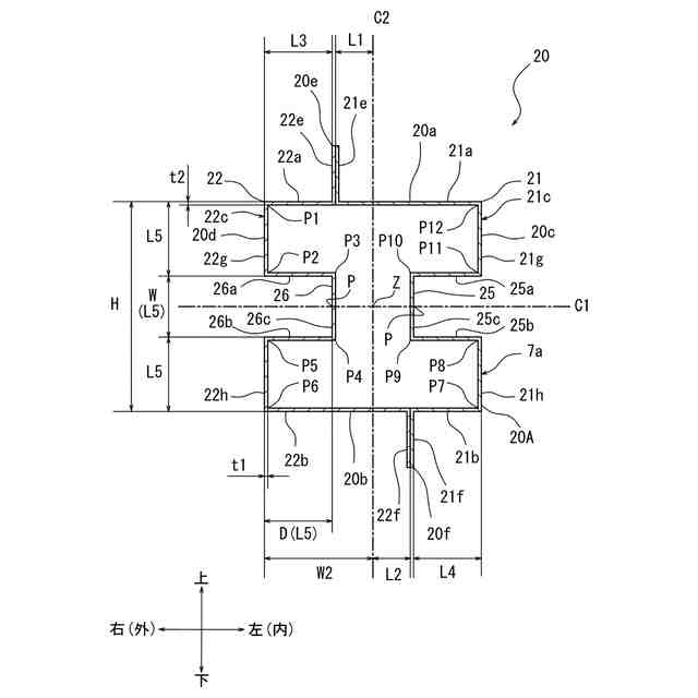
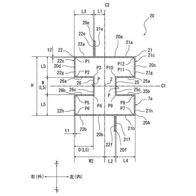
【解決手段】前後方向に延びる車両用フレーム部材は、延在方向に直交する断面が複数の頂点P1~P12を有する閉断面7aに形成された、フレーム本体部20Aと、閉断面7aを形成する車体幅方向に一対の側壁部20c,20cと、一対の側壁部20c,20dを閉断面7aの内側に向けて凹設させた溝部25,26と、閉断面7aの外方に突出する複数のフランジ20e,20fとを備え、閉断面7aは、複数のフランジ20e,20fの突出する位置を含めて、閉断面7aの図心Zに対して点対称であると共に、図心Zを通り前後方向に垂直なすべての直線に対して非線対称である。
【選択図】図4
特許請求の範囲
【請求項1】
前後方向に延びる車両用フレーム部材であって、
延在方向に直交する断面が複数の頂点を有する閉断面に形成された、フレーム本体部と、
前記閉断面を形成する車体幅方向に一対の側壁部を、前記閉断面の内側に向けて凹設させた溝部と、
前記閉断面の外方に突出する複数のフランジと、を備え、
前記閉断面は、前記複数のフランジの突出する位置を含めて、前記閉断面の図心に対して点対称であると共に、前記図心を通り前記前後方向に垂直なすべての直線に対して非線対称である
車両用フレーム部材。
続きを表示(約 400 文字)
【請求項2】
車両用フレーム部材は、エンジンルームの車体幅方向両側部に位置する左右一対のフロントサイドフレームである
請求項1に記載の車両用フレーム部材。
【請求項3】
前記溝部は、車体幅方向において対向して設けられている
請求項1または2に記載の車両用フレーム部材。
【請求項4】
前記溝部は、上側に位置するとともに内側に延びる溝上壁部と、下側に位置するとともに内側に延びて前記溝上壁部に対向する溝下壁部と、前記溝上壁部と前記溝下壁部の内端を上下方向に接続する溝底壁部とを有し、
前記溝上壁部と、前記溝下壁部と、前記溝底壁部とは、前記閉断面における辺長が等しい
請求項1または2に記載の車両用フレーム部材。
【請求項5】
前記溝部は、車体前側よりも車体後側が深い
請求項1または2に記載の車両用フレーム部材。
発明の詳細な説明
【技術分野】
【0001】
本発明は、車両用フレーム部材に関する。
続きを表示(約 1,800 文字)
【背景技術】
【0002】
特許文献1には、車体前後方向に延びると共に、延在方向に直交する断面が車体幅方向外側に開放したハット状に形成されたインナパネルと、延在方向に直交する断面が車体幅方向内側に開放したハット状に形成されたアウタパネルを備え、インナパネルおよびアウタパネルの上下のフランジ同士を車体幅方向に接合することによって形成され、延在方向に直交する閉断面を備えた車両用フレーム部材が開示されている。
【先行技術文献】
【特許文献】
【0003】
特開2009-166697号公報
【発明の概要】
【発明が解決しようとする課題】
【0004】
特許文献1の車両用フレーム部材では、フランジが車体幅方向外側に偏在するため、インナパネルよりもアウタパネルの座屈耐力が高く、衝撃荷重が前後方向一方側から入力された際に、アウタパネルよりもインナパネルが座屈しやすい。したがって、衝撃荷重が入力される際に、車両用フレーム部材を均等に軸圧縮させにくく、意図した衝撃荷重が吸収されにくい。
【0005】
本発明は、衝撃荷重が入力される際に、均等に軸圧縮させることによって、意図した衝撃荷重を吸収しやすい車両用フレーム部材を提供する。
【課題を解決するための手段】
【0006】
本発明は、
前後方向に延びる車両用フレーム部材であって、
延在方向に直交する断面が複数の頂点を有する閉断面に形成された、フレーム本体部と、
前記閉断面を形成する車体幅方向に一対の側壁部を、前記閉断面の内側に向けて凹設させた溝部と、
前記閉断面の外方に突出する複数のフランジと、を備え、
前記閉断面は、前記複数のフランジの突出する位置を含めて、前記閉断面部の図心に対して点対称であると共に、前記図心を通り前記前後方向に垂直なすべての直線に対して非線対称である
車両用フレーム部材を提供する。
【0007】
本発明によれば、車両用フレーム部材の閉断面は、複数のフランジの突出する位置を含めて閉断面の図心に対して点対称であるので、サスペンションハウジング等の取付部材を取り付けるためにフランジそれぞれの突出する位置が車体幅方向に偏在する場合でも、車両用フレーム部材の前後方向からの荷重に対する座屈耐力の車体幅方向における差を抑制できる。その結果、衝撃荷重が入力される際に、車両用フレーム部材を安定した挙動で軸圧縮させやすく、意図した衝撃荷重を吸収しやすい。また、溝部を設けない場合に比べて、車両用フレーム部材の断面2次モーメントを大きくでき、座屈耐力を大きくできる。従って、溝部を含む閉断面を、閉断面の図心に対して点対称に形成することにより、車両用フレーム部材の座屈耐力の増大と、安定した軸圧縮とを両立することができる。
【発明の効果】
【0008】
本発明によれば、衝撃荷重が入力される際に、均等に軸圧縮させることによって、意図した衝撃荷重を吸収しやすい車両用フレーム部材を提供できる。
【図面の簡単な説明】
【0009】
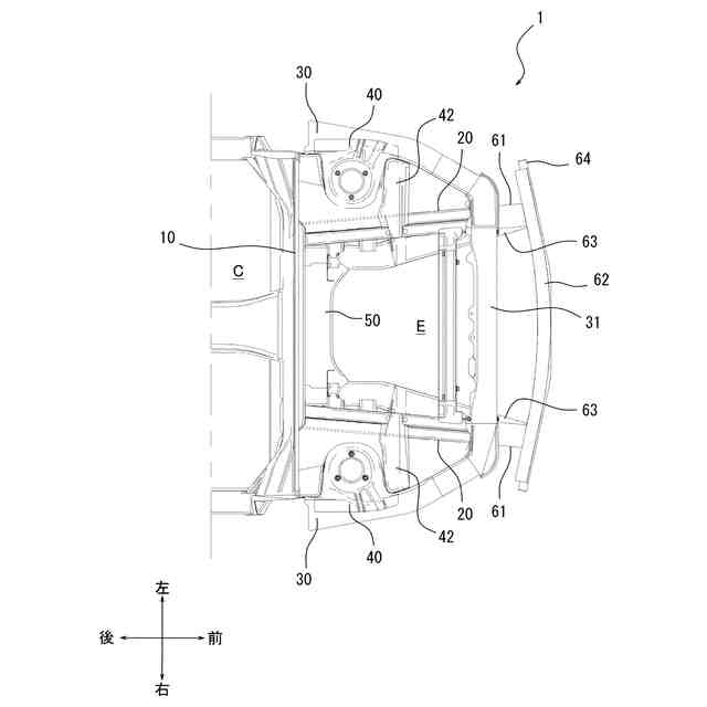
本発明の一実施形態に係る車両用フレーム部材を有する前部車体構造の平面図。
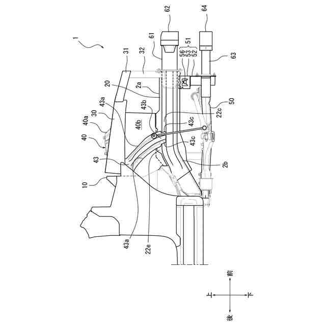
前記前部車体構造の側面図。
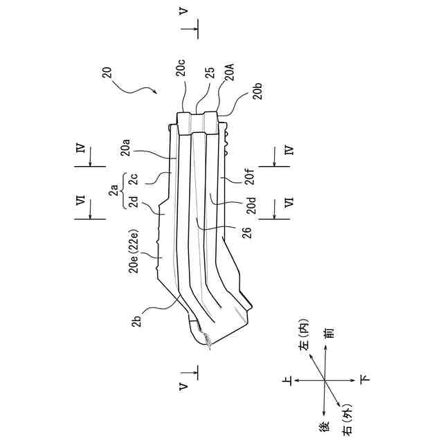
車両用フレーム部材の単体斜視図。
図3のIV-IV線に沿った車両用フレーム部材の断面を模式的に示す模式図。
図3のV-V線に沿った車両用フレーム部材の断面図。
図3のVI-VI線に沿った車両用フレーム部材の断面を模式的に示す模式図。
前記前部車体構造のサスペンションハウジング周辺の部分拡大図。
車両用フレーム部材とサブフレームとの接続部材およびその周辺の部分拡大図。
車両用フレーム部材の第1の変形例の断面を模式的に示す模式図。
車両用フレーム部材の第2の変形例の断面を模式的に示す模式図。
【発明を実施するための形態】
【0010】
以下、本発明に係る実施の形態を図面に従って説明する。なお、以下の説明は、本質的に例示に過ぎず、本発明、その適用物、あるいは、その用途を制限することを意図するものではない。
(【0011】以降は省略されています)
この特許をJ-PlatPat(特許庁公式サイト)で参照する
関連特許
マツダ株式会社
運転支援装置
1か月前
マツダ株式会社
車体後部構造
21日前
マツダ株式会社
車両の下部構造
1日前
マツダ株式会社
車両の上部構造
28日前
マツダ株式会社
車両の前部構造
今日
マツダ株式会社
車両の前部構造
今日
マツダ株式会社
車両の下部構造
1日前
マツダ株式会社
バッテリ冷却構造
7日前
マツダ株式会社
バッテリユニット
20日前
マツダ株式会社
バッテリユニット
20日前
マツダ株式会社
バッテリ冷却構造
7日前
マツダ株式会社
車両用フレーム部材
今日
マツダ株式会社
車両用フレーム部材
今日
マツダ株式会社
運転者の覚醒維持装置
今日
マツダ株式会社
塗布方法及び塗布装置
7日前
マツダ株式会社
バッテリ温度制御システム
1か月前
マツダ株式会社
車両のドア構造およびその製造方法
28日前
マツダ株式会社
車両用フレーム部材および車体前部構造
7日前
マツダ株式会社
車両用フレーム部材および車体前部構造
7日前
マツダ株式会社
車両の構造設計方法及び構造設計プログラム
1日前
マツダ株式会社
バッテリユニットを搭載した車両の前部車体構造
20日前
マツダ株式会社
車両の上部構造、および車両の上部構造の製造方法
28日前
マツダ株式会社
バッテリユニット及びバッテリユニットの製造方法。
20日前
マツダ株式会社
樹脂成形品の解析方法、解析装置、解析用プログラム及び記録媒体
1か月前
マツダ株式会社
ゴム材料の応力-ひずみ特性予測方法、装置、プログラム、記録媒体及び設計方法
1か月前
個人
カート
4か月前
個人
走行装置
5か月前
個人
三輪バイク
1か月前
個人
台車
7日前
個人
乗り物
6か月前
個人
電動走行車両
5か月前
個人
駐輪設備
2か月前
個人
自転車用歩数計
1か月前
個人
発音装置
8か月前
個人
閂式ハンドル錠
5か月前
個人
電動モビリティ
8か月前
続きを見る
他の特許を見る