TOP
|
特許
|
意匠
|
商標
特許ウォッチ
Twitter
他の特許を見る
公開番号
2025173312
公報種別
公開特許公報(A)
公開日
2025-11-27
出願番号
2024078837
出願日
2024-05-14
発明の名称
車両の前部構造
出願人
マツダ株式会社
代理人
個人
,
個人
,
個人
主分類
B62D
25/20 20060101AFI20251119BHJP(鉄道以外の路面車両)
要約
【課題】ポール前突時において衝突荷重を効果的に吸収できる、車両の前部構造を提供する。
【解決手段】車両の前部構造1は、前後方向に延びており、延在方向に直交する断面形状が閉断面であり、車幅方向内側に位置する内壁部11aに前縁21aから後方に凹んでおり内壁部11aを車幅方向に貫通する、凹部26を有する、左右一対のフロントサイドフレーム11と、左右一対のフロントサイドフレーム11の間にわたって車幅方向に延びており、車幅方向の両側部分が左右の内壁部11aそれぞれにおいて凹部26に対して前方より嵌まり込んで固定されている、第1クロスメンバ12とを備えている。
【選択図】図5
特許請求の範囲
【請求項1】
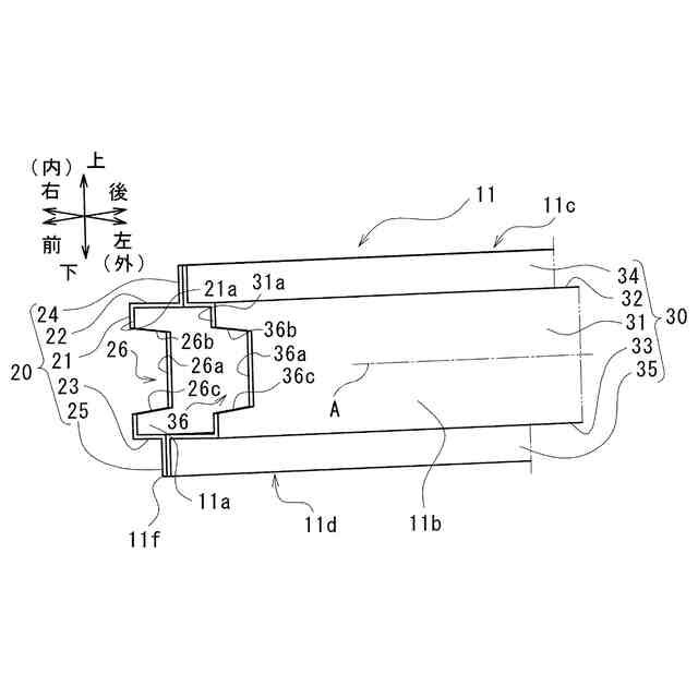
前後方向に延びており、延在方向に直交する断面形状が閉断面であり、車幅方向内側に位置する内壁部に前縁から後方に凹んでおり当該内壁部を車幅方向に貫通する、凹部を有する、左右一対のフロントサイドフレームと、
前記左右一対のフロントサイドフレームの間にわたって車幅方向に延びており、車幅方向の両側部分が左右の前記内壁部それぞれにおいて前記凹部に対して前方より嵌まり込んで固定されている、クロスメンバと
を備えた、車両の前部構造。
続きを表示(約 1,600 文字)
【請求項2】
前記左右一対のフロントサイドフレームは、車幅方向外側に位置する外壁部にも前縁から後方に凹んでおり当該外壁部を車幅方向に貫通する、前記凹部をさらに有しており、
前記クロスメンバは、前記両側部分が左右の前記外壁部それぞれにおいても前記凹部に対して前方より嵌まり込んで固定されている、
請求項1に記載の車両の前部構造。
【請求項3】
前記クロスメンバは、
延在方向に直交する断面形状が車幅方向にわたって一様であり、
上下方向に延びるクロス後壁部と、
前記クロス後壁部の上縁から前方に延びるクロス上壁部と、
前記クロス後壁部の下縁から前方に延びるクロス下壁部と
を有しており、
前記凹部は、
上下方向に延びる凹部底縁と、
前記凹部底縁の上端部から前方に延びる凹部上縁と、
前記凹部底縁の下端部から前方に延びる凹部下縁と
を有しており、
前記クロス後壁部は、前記凹部底縁に対して前方から固定されており、
前記クロス上壁部は、前記凹部上縁に対して下方から固定されており、
前記クロス下壁部は、前記凹部下縁に対して上方から固定されている、
請求項1又は2に記載の車両の前部構造。
【請求項4】
前記クロスメンバは、
前記クロス後壁部と、前記クロス上壁部と、前記クロス下壁部と、前記クロス上壁部の前縁から上方に延びるクロス上フランジ部と、前記クロス下壁部の前縁から下方に延びるクロス下フランジ部とを含む、クロス本体部と、
前記クロス上フランジ部と前記クロス下フランジ部との間にわたって上下に延びており、前記クロス本体部に対して前側から固定されている、クロス前壁部と
を有している、
請求項3に記載の車両の前部構造。
【請求項5】
前記クロス後壁部は、前記凹部底縁に対して線溶接により固定されており、
前記クロス上壁部は、前記凹部上縁に対して線溶接により固定されており、
前記クロス下壁部は、前記凹部下縁に対して線溶接により固定されている、
請求項3に記載の車両の前部構造。
【請求項6】
前記クロスメンバは、前記両側部分が前記左右一対のフロントサイドフレームよりも車幅方向外側へ突出している、
請求項1又は2に記載の車両の前部構造。
【請求項7】
前記左右一対のフロントサイドフレームのそれぞれに対して前方に対応する位置に、前記クロスメンバを介して設けられており、前記クロスメンバから車両前方へ延びる、左右一対の衝撃吸収部材をさらに備えている、
請求項1又は2に記載の車両の前部構造。
【請求項8】
前記クロスメンバは、前記両側部分が前記左右一対の衝撃吸収部材よりも車幅方向外側へ突出している、
請求項7に記載の車両の前部構造。
【請求項9】
前記クロスメンバは、
延在方向に直交する断面形状が車幅方向にわたって一様であり、
上下方向に延びる、クロス前壁部と、
前記クロス前壁部に対して後方から接合されて、前記クロス前壁部と共に前記断面形状を閉断面に構成する、クロス本体部と
を有しており、
前記衝撃吸収部材は、前記クロス前壁部に固定されている、
請求項7に記載の車両の前部構造。
【請求項10】
前記左右一対のフロントサイドフレームは、前端面が、前記クロス上フランジ部及び前記クロス下フランジ部に対して後方から固定されている、
請求項4に記載の車両の前部構造。
(【請求項11】以降は省略されています)
発明の詳細な説明
【技術分野】
【0001】
本発明は、車両の前部構造に関する。
続きを表示(約 1,700 文字)
【背景技術】
【0002】
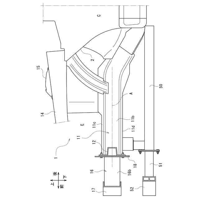
特許文献1には、前後方向に延びる左右一対のフロントサイドメンバと、左右一対のフロントサイドメンバの間を車幅方向に延びるフロントクロスメンバと、左右一対のフロントサイドメンバの前端部にそれぞれ設けられた左右一対の接合部材とを備えた車両前部構造が開示されている。この車両前部構造では、左右一対の接合部材は車幅方向内側に突出した筒状の挿入部をそれぞれ有している。左右の挿入部には、フロントクロスメンバの両端部が挿入されて接続されている。
【先行技術文献】
【特許文献】
【0003】
特開2018-199407
【発明の概要】
【発明が解決しようとする課題】
【0004】
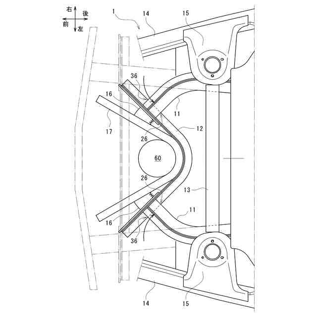
車両における衝突態様の1つとして、車両の車幅方向略中央に電柱等のポール状の障害物が衝突する、ポール前突が知られている。ポール前突では、フロントクロスメンバに対して後方に向かう衝突荷重が作用し得る。この場合、衝突荷重は、フロントクロスメンバのフロントサイドフレームへの接合部に剪断荷重として作用することになり、当該接合部が破断するおそれがある。その結果、フロントクロスメンバがフロントサイドフレームから離脱して、フロントサイドフレームにおける衝突荷重の吸収性能が低下する。
【0005】
本開示は、ポール前突時において衝突荷重を効果的に吸収できる、車両の前部構造を提供することを課題とする。
【課題を解決するための手段】
【0006】
本開示の一態様は、
前後方向に沿って延びており、延在方向に直交する断面形状が閉断面であり、車幅方向内側に位置する内壁部に前縁から後方に凹んでおり当該内壁部を車幅方向に貫通する、凹部を有する、左右一対のフロントサイドフレームと、
前記左右一対のフロントサイドフレームの間にわたって車幅方向に延びており、車幅方向の両側部分が左右の前記内壁部それぞれにおいて前記凹部に対して前方より嵌まり込んで固定されている、クロスメンバと
を備えた、車両の前部構造を提供する。
【0007】
この構成によれば、クロスメンバは両側部分が左右一対のフロントサイドフレームの内壁部それぞれにおいて凹部に対して車両前方より嵌まり込んで固定されている。その結果、クロスメンバに作用する、例えばポール前突による衝突荷重は、凹部によってフロントサイドフレームの軸方向に支持されるので、クロスメンバのフロントサイドフレームへの固定部に剪断荷重として作用することが抑制される。
【0008】
したがって、ポール前突時において、クロスメンバの両側部の左右一対のフロントサイドフレームからの離脱が抑制されるので、クロスメンバを後方へU字状に凸となるように変形させつつ、クロスメンバの両側部分間の距離が短くなることに伴って該両側部分に固定された左右一対のフロントサイドフレームを車幅方向内側に湾曲させやすい。よって、クロスメンバ及び左右一対のフロントサイドフレームによって、ポール前突時における衝突荷重の吸収性能を増大させることができる。
【発明の効果】
【0009】
本開示によれば、ポール前突時において衝突荷重を効果的に吸収できる。
【図面の簡単な説明】
【0010】
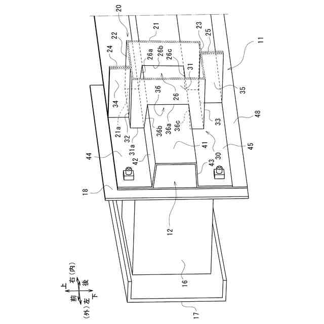
本開示の一実施形態に係る車両の前部構造の平面図。
図1の車両の前部構造の側面図。
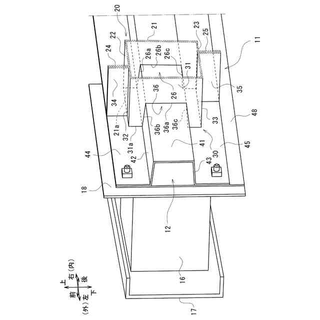
フロントサイドフレームの前部を斜め前方から見た斜視図。
第1クロスメンバを斜め後方から見た斜視図。
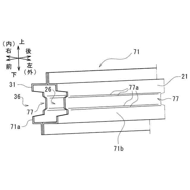
第1クロスメンバとフロントサイドフレームとの接合部を斜め後方から見た斜視図。
ポール前突時における車両の前部構造の変形態様を概念的に示す平面図。
変形例に係るフロントサイドフレームの前部を斜め前方から見た斜視図。
【発明を実施するための形態】
(【0011】以降は省略されています)
この特許をJ-PlatPat(特許庁公式サイト)で参照する
関連特許
マツダ株式会社
車体後部構造
21日前
マツダ株式会社
車両の前部構造
今日
マツダ株式会社
車両の前部構造
今日
マツダ株式会社
車両の上部構造
28日前
マツダ株式会社
車両の下部構造
1日前
マツダ株式会社
車両の下部構造
1日前
マツダ株式会社
バッテリユニット
20日前
マツダ株式会社
バッテリユニット
20日前
マツダ株式会社
バッテリ冷却構造
7日前
マツダ株式会社
バッテリ冷却構造
7日前
マツダ株式会社
車両用フレーム部材
今日
マツダ株式会社
車両用フレーム部材
今日
マツダ株式会社
運転者の覚醒維持装置
今日
マツダ株式会社
塗布方法及び塗布装置
7日前
マツダ株式会社
バッテリ温度制御システム
1か月前
マツダ株式会社
車両のドア構造およびその製造方法
28日前
マツダ株式会社
車両用フレーム部材および車体前部構造
7日前
マツダ株式会社
車両用フレーム部材および車体前部構造
7日前
マツダ株式会社
車両の構造設計方法及び構造設計プログラム
1日前
マツダ株式会社
バッテリユニットを搭載した車両の前部車体構造
20日前
マツダ株式会社
車両の上部構造、および車両の上部構造の製造方法
28日前
マツダ株式会社
バッテリユニット及びバッテリユニットの製造方法。
20日前
マツダ株式会社
ゴム材料の応力-ひずみ特性予測方法、装置、プログラム、記録媒体及び設計方法
1か月前
個人
カート
4か月前
個人
走行装置
5か月前
個人
三輪バイク
1か月前
個人
台車
7日前
個人
乗り物
6か月前
個人
電動走行車両
5か月前
個人
駐輪設備
2か月前
個人
自転車用歩数計
1か月前
個人
発音装置
8か月前
個人
閂式ハンドル錠
5か月前
個人
電動モビリティ
8か月前
個人
折り畳み自転車
11か月前
個人
ボギー・フレーム
3か月前
続きを見る
他の特許を見る