TOP
|
特許
|
意匠
|
商標
特許ウォッチ
Twitter
他の特許を見る
10個以上の画像は省略されています。
公開番号
2025176749
公報種別
公開特許公報(A)
公開日
2025-12-05
出願番号
2024083020
出願日
2024-05-22
発明の名称
車両の下部構造
出願人
マツダ株式会社
代理人
弁理士法人三協国際特許事務所
主分類
B60K
1/04 20190101AFI20251128BHJP(車両一般)
要約
【課題】サイドシルに対して車幅方向の外側から側突荷重が入力された場合にも、サイドシルとバッテリとの固定が外れるのを抑制することができる車両の下部構造を提供する。
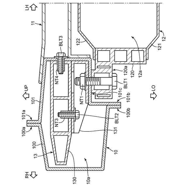
【解決手段】車両は、一対のサイドシル10、クロスメンバ11、バッテリ12、および補強部材13を備える。バッテリ12は、クロスメンバ11の下方に配され、バッテリフレーム120を有する。補強部材13は、サイドシル10の中空部10aに収容されるとともに、閉断面構造で構成された本体部130を有し、車幅方向の一方側からの側面視において本体部130がクロスメンバ11と重複する領域に配されている。サイドシル10とバッテリフレーム120および補強部材13ととは、ボルトBLT1とナットNT1との螺合により固定されている。ボルトBLT1は、ブラケット131を挿通して、補強部材13の本体部130側に向けて先端側部分が貫入している。
【選択図】図2
特許請求の範囲
【請求項1】
車両のフロアにおける車幅方向両外側に配設されるとともに、それぞれが前記車両の前後方向に延び、且つ、内部に中空部を有する閉断面構造で構成された一対のサイドシルと、
車幅方向に延びるとともに、前記一対のサイドシルに両端が固定されたクロスメンバと、
前記車両のフロア下における前記クロスメンバの下方に配置されるとともに、前記一対のサイドシルの車幅方向内側で前記車両の前後方向に延びるバッテリフレームを有するバッテリと、
前記一対のサイドシルのそれぞれにおける前記中空部に収容されるとともに、閉断面構造で構成された部分を少なくとも一部に有し、且つ、車幅方向の一方側からの側面視において前記閉断面構造で構成された部分が前記クロスメンバと重複する領域に配された補強部材と、
前記バッテリフレームを前記一対のサイドシルに固定する固定部材と、
を備え、
前記固定部材は、前記補強部材に対して一部が貫入し、前記補強部材とともに前記バッテリフレームを前記サイドシルに固定するように配設されている、
車両の下部構造。
続きを表示(約 1,000 文字)
【請求項2】
前記補強部材は、前記閉断面構造で構成された部分を有する本体部と、前記本体部の下方に配置されたブラケットと、を備え、
前記固定部材は、前記ブラケットに対して一部が貫入するとともに、当該ブラケットを前記バッテリフレームに固定するように配設されている、
請求項1に記載の車両の下部構造。
【請求項3】
前記固定部材は、前記本体部に対しても一部が貫入するように配設されている、
請求項2に記載の車両の下部構造。
【請求項4】
前記固定部材は、前記本体部に対して貫入する部分が棒形状を有し、
前記本体部は、前記固定部材の前記一部が貫入する部分に、前記棒形状の断面サイズよりも大きなサイズを有する開口を有する、
請求項3に記載の車両の下部構造。
【請求項5】
前記サイドシルは、当該サイドシルの外壁の一部が前記ブラケットと前記バッテリフレームとの間に挟持された状態で前記バッテリフレームに固定されている、
請求項2に記載の車両の下部構造。
【請求項6】
前記本体部は、車幅方向の内側および外側の少なくとも一方において、前記サイドシルに固定されている、
請求項2に記載の車両の下部構造。
【請求項7】
前記ブラケットは、前記本体部に固定されている、
請求項2に記載の車両の下部構造。
【請求項8】
前記バッテリフレームは、少なくとも一部に閉断面構造を有する部分を備え、
前記固定部材は、前記バッテリフレームにおける前記閉断面構造を有する部分を前記サイドシルおよび前記補強部材に固定する、
請求項1から請求項7の何れかに記載の車両の下部構造。
【請求項9】
前記固定部材は、前記バッテリフレームにおける前記閉断面構造を有する部分から前記補強部材に向けて前記車両の上下方向における上方に向けて延びるように配設されている、
請求項8に記載の車両の下部構造。
【請求項10】
前記一対のサイドシルのそれぞれは、車幅方向外側に配されるサイドシルアウタと、車幅方向内側に配されるとともに前記サイドシルアウタに固定されるサイドシルインナとを備え、
前記バッテリフレームおよび前記補強部材は、前記固定部材により前記サイドシルインナに固定されている、
請求項1から請求項7の何れかに記載の車両の下部構造。
発明の詳細な説明
【技術分野】
【0001】
本発明は、車両の下部構造に関し、特にフロア下にバッテリが配設されてなる車両の下部構造に関する。
続きを表示(約 1,500 文字)
【背景技術】
【0002】
近年では、バッテリ式電気自動車(BEV)やハイブリッド式電気自動車(HEV)などが急速に普及してきている。このような車両では、フロア下に大型で大容量なバッテリが搭載される。特許文献1に開示の車両でのバッテリの搭載形態について、図8を用いて説明する。
【0003】
図8に示すように、特許文献1の車両では、サイドシル90の下部にバッテリ92のバッテリフレーム920が固定されている。具体的に、サイドシル90は、車幅方向外側のサイドシルアウタ900と、車幅方向内側のサイドシルインナ901との組み合わせで構成されており、バッテリフレーム920は、サイドシルインナ901の下壁部901cにボルトBLT9とナットNT9との螺合により固定されている。
【0004】
サイドシル90のサイドシルインナ901には、車幅方向の反対側のサイドシル90との間を繋ぐように設けられるクロスメンバ91も固定される。クロスメンバ91は、バッテリ92の上方に配置される。
【0005】
また、特許文献1の車両において、サイドシル90の内方に形成された中空部90aには、スティフナ(補強部材)93が収容されている。スティフナ93は、平板状の中壁部材930と、ともに断面形状がハット形状をした外側部材931および内側部材932とで構成されている。スティフナ93は、中壁部材930の上縁部がサイドシルアウタ900の上フランジ部900aとサイドシルインナ901の上フランジ部901aとの間に挟持され、下縁部がサイドシルアウタ900の下フランジ部900bとサイドシルインナ901の下フランジ部901bとの間に挟持されることにより、サイドシル90に固定されている。
【0006】
特許文献1の車両では、中空部90a内において、スティフナ93における内側部材932が、車幅方向外側から内側へと行くのに従って上方へとシフトするように形成されている。
【先行技術文献】
【特許文献】
【0007】
特開2018-131133号公報
【発明の概要】
【発明が解決しようとする課題】
【0008】
上記特許文献1に開示の構造では、車幅方向の一方側のサイドシル90に対して側突荷重が入力された場合に、車幅方向の他方側のサイドシル90とバッテリ92との固定が外れてしまうことが懸念される。これについて、図9を用いて説明する。図9には、車両の右方から右側のサイドシル90Rに側突荷重Fが入力された場合のサイドシル90L,90R、クロスメンバ91、およびバッテリ92の挙動を示す。
【0009】
図9に示すように、車両の右方から右側のサイドシル90Rに側突荷重Fが入力された場合には、矢印B1で示すように右側のサイドシル90Rによりクロスメンバ91が左方に向けて押圧される。押圧されたクロスメンバ91は、右側のサイドシル90Rの変形量に応じて左方に向けて変位する(矢印B2)。これにより、側突荷重Fは、クロスメンバ91を介して左方のサイドシル90Lに伝達される。
【0010】
ここで、フロア下に搭載されるバッテリ92は、大型で重量が重いため、慣性によりその場に留まろうとする。これより、バッテリ92には、クロスメンバ91や左側のサイドシル90Lに対して相対的に逆向きの変位(右向きの変位)が生じることになる。よって、矢印B3で示すように、側突荷重Fが入力された側とは反対側において(左側において)、左側のサイドシル90Lとバッテリ92との固定が破断などにより外れてしまうことが懸念される。
(【0011】以降は省略されています)
この特許をJ-PlatPat(特許庁公式サイト)で参照する
関連特許
マツダ株式会社
回転電機
8日前
マツダ株式会社
車体後部構造
1か月前
マツダ株式会社
車両の下部構造
10日前
マツダ株式会社
車両の下部構造
8日前
マツダ株式会社
車両の前部構造
9日前
マツダ株式会社
車両の前部構造
9日前
マツダ株式会社
車両の下部構造
10日前
マツダ株式会社
車両の下部構造
8日前
マツダ株式会社
車両の下部構造
1日前
マツダ株式会社
車両の上部構造
1か月前
マツダ株式会社
バッテリ冷却構造
16日前
マツダ株式会社
バッテリユニット
29日前
マツダ株式会社
バッテリ冷却構造
16日前
マツダ株式会社
バッテリユニット
29日前
マツダ株式会社
車両の車体骨格構造
1日前
マツダ株式会社
車両用フレーム部材
9日前
マツダ株式会社
車両用フレーム部材
9日前
マツダ株式会社
認知運動能力評価装置
1日前
マツダ株式会社
運転者の覚醒維持装置
9日前
マツダ株式会社
塗布方法及び塗布装置
16日前
マツダ株式会社
車両の状態量検出装置
3日前
マツダ株式会社
バッテリ温度制御システム
1か月前
マツダ株式会社
車両のドア構造およびその製造方法
1か月前
マツダ株式会社
車両用フレーム部材および車体前部構造
16日前
マツダ株式会社
車両用フレーム部材および車体前部構造
16日前
マツダ株式会社
車両の構造設計方法及び構造設計プログラム
10日前
マツダ株式会社
バッテリユニットを搭載した車両の前部車体構造
29日前
マツダ株式会社
車両の上部構造、および車両の上部構造の製造方法
1か月前
マツダ株式会社
バッテリユニット及びバッテリユニットの製造方法。
29日前
マツダ株式会社
リサーキュレーションパイプの支持構造および支持方法
1日前
マツダ株式会社
車両用空調装置の冷媒取り出し方法及び車両用空調装置
8日前
マツダ株式会社
樹脂成形品の解析方法、解析装置、解析用プログラム及び記録媒体
1か月前
マツダ株式会社
ゴム材料の応力-ひずみ特性予測方法、装置、プログラム、記録媒体及び設計方法
1か月前
マツダ株式会社
データ変換方法、データ変換装置、データ変換プログラム、および、該データ変換プログラムを記憶したコンピュータ読取可能な記憶媒体
1日前
個人
タイヤレバー
4か月前
個人
前輪キャスター
3か月前
続きを見る
他の特許を見る