TOP
|
特許
|
意匠
|
商標
特許ウォッチ
Twitter
他の特許を見る
公開番号
2025177731
公報種別
公開特許公報(A)
公開日
2025-12-05
出願番号
2024084797
出願日
2024-05-24
発明の名称
リサーキュレーションパイプの支持構造および支持方法
出願人
マツダ株式会社
代理人
個人
,
個人
,
個人
,
個人
,
個人
主分類
F02M
37/00 20060101AFI20251128BHJP(燃焼機関;熱ガスまたは燃焼生成物を利用する機関設備)
要約
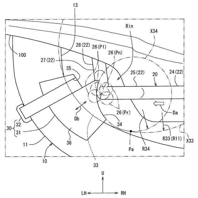
【課題】フューエルパイプの屈曲部とリサーキュレーションパイプの給油口側パイプとの隙がばらついてもリサーキュレーションパイプの車体組付け時に給油口側パイプに加わる負荷を抑制しつつ、タンク側パイプとのスムーズな連結作業を達成すること。
【解決手段】タンク2の内部の上部空間とフューエルパイプ10の給油口3側とを連通し、屈曲部11を有するリサーキュレーションパイプ20は、タンク2寄りのタンク側パイプ21と給油口3寄りの給油口側パイプ22とが互いに連結可能に形成され、両パイプ21,22を連結する際、給油口側パイプ22は、屈曲部11の側へタンク側パイプ21によって押し込まれるように該屈曲部11の近傍に配置され、さらに、屈曲部11と給油口側パイプ22との間において、これら両部位11,22に当接状態で介在するスペーサ30には、給油口側パイプ22に対して凹状に湾曲する給油口側パイプ当接面34が設けられた。
【選択図】図1
特許請求の範囲
【請求項1】
タンクの内部と給油口を連通するとともに屈曲部を有するフューエルパイプと、上記タンクの内部の上部空間と上記フューエルパイプの上記給油口側とを連通するリサーキュレーションパイプとを備え、
上記リサーキュレーションパイプは、
上記タンク寄りに位置するタンク側パイプと、上記給油口寄りに位置する給油口側パイプとが互いに連結可能に形成され、
上記タンク側パイプと上記給油口側パイプとを連結する際、上記給油口側パイプは、
上記タンク側パイプによって上記屈曲部の側へ押し込まれるように該屈曲部の近傍に配置され、かつ、
上記屈曲部と上記給油口側パイプとの間には、上記屈曲部と上記給油口側パイプとのそれぞれに当接した状態で介在するスペーサを備え、
上記スペーサは、押し込まれた上記給油口側パイプが当接可能に上記給油口側パイプに対して凹状に湾曲する給油口側パイプ当接面を有する
リサーキュレーションパイプの支持構造。
続きを表示(約 960 文字)
【請求項2】
上記給油口側パイプ当接面は、該給油口側パイプ当接面に当接する上記給油口側パイプの配索方向と平行に形成された
請求項1に記載のリサーキュレーションパイプの支持構造。
【請求項3】
上記給油口側パイプ当接面は、上記屈曲部の曲率より小さい曲率に設定された
請求項1に記載のリサーキュレーションパイプの支持構造。
【請求項4】
上記給油口側パイプ当接面に沿う円軌道は、上記スペーサよりも上記給油口側パイプの側の位置で上記屈曲部に沿う円軌道に内接する構成とした
請求項3に記載のリサーキュレーションパイプの支持構造。
【請求項5】
上記スペーサにおける、上記屈曲部に沿う方向における、上記給油口側パイプ当接面に対して少なくとも何れか一方側部位に、当該スペーサを上記屈曲部に固定する固定部材を備えた
請求項1に記載のリサーキュレーションパイプの支持構造。
【請求項6】
タンクの内部と給油口を連通するとともに屈曲部を備えたフューエルパイプと、上記タンクの内部の上部空間と上記フューエルパイプの上記給油口側とを連通し、かつ上記タンク寄りに位置するタンク側パイプおよび、上記給油口寄りに位置する給油口側パイプが互いに連結可能に形成されたリサーキュレーションパイプと、上記タンク側パイプおよび上記給油口側パイプの連結状態において、上記給油口側パイプに当接する給油口側パイプ当接面を有するスペーサと、を備え、上記タンク側パイプを連結する際に、該タンク側パイプによって上記屈曲部の側へ押し込まれた上記給油口側パイプを上記スペーサを介して上記フューエルパイプによって支持するリサーキュレーションパイプの支持方法において、上記屈曲部と上記給油口側パイプとの間において上記スペーサを上記屈曲部に当接させた状態で配置するスペーサ配置工程と、上記スペーサを上記給油口側パイプ当接面が上記給油口側パイプに当接する位置まで上記屈曲部に沿ってスライドさせるスペーサ位置特定工程と、上記スペーサ位置特定工程で特定した位置で上記スペーサを上記屈曲部に固定するスペーサ固定工程と、をこの順に行う
リサーキュレーションパイプの支持方法。
発明の詳細な説明
【技術分野】
【0001】
この発明は、タンクの内部と給油口を連通するフューエルパイプと、タンクの内部の上部空間とフューエルパイプの給油口側とを連通するリサーキュレーションパイプと、を備え、リサーキュレーションパイプを車体側に組付け時に車体側のフューエルパイプによって支持する支持構造および支持方法に関する。
続きを表示(約 1,800 文字)
【背景技術】
【0002】
リサーキュレーションパイプは、タンク寄りに位置するタンク側パイプと、給油口寄りに位置する給油口側パイプとが互いに連結可能に形成されている。そして、リサーキュレーションパイプを車体に組付け時にタンク側パイプと給油口側パイプとを互いに連結する。
【0003】
ここで、タンク側パイプと給油口側パイプとを連結する際には、タンク側パイプの連結端部を給油口側パイプの連結端部に押し込んで連結するが、給油口側パイプの連結端部がタンク側パイプの連結端部の押し込みにより、ガタつく場合は、スムーズな連結作業性が困難となるとともに給油口側パイプに負荷が加わるため好ましくない。
【0004】
このため、特許文献1に例示されるように、リサーキュレーションパイプを、その周辺に配置されるフューエルパイプにブラケットを用いて固定することで、給油口側パイプをタンク側パイプに連結する際に、タンク側パイプからの押し込みによってガタつかないように支持することができるため有効である。
【0005】
しかし、フューエルパイプの屈曲部は直線部よりも加工誤差等の要因により寸法がばらつき易いため、フューエルパイプの屈曲部の近傍に配置された給油口側パイプを該屈曲部に固定した場合には、屈曲部と給油口側パイプとの隙もばらつき易くなる。そのような状況下で、これら屈曲部と給油口側パイプとの隙のばらつきを無視してブラケットを用いて給油口側パイプを屈曲部に強引に固定しようとすると、給油口側パイプに負荷が加わるおそれがあり対策を講じる必要がある。
【0006】
なお、上述した特許文献1には、リサーキュレーションパイプをフューエルパイプに固定する際に、互いに略直線状に並列される部分をブラケットを用いて固定する構造が開示されているにすぎず、リサーキュレーションパイプをフューエルパイプの屈曲部に固定することや、固定した場合に生じる上述した課題について何ら開示されていない。
【先行技術文献】
【特許文献】
【0007】
国際公開第2017/222031号
【発明の概要】
【発明が解決しようとする課題】
【0008】
この発明はこのような課題に鑑みてなされたもので、フューエルパイプの屈曲部とリサーキュレーションパイプの給油口側パイプとの隙がばらついても給油口側パイプとタンク側パイプとを連結する際に、給油口側パイプに加わる負荷を抑制しつつ、スムーズな連結作業を達成できるリサーキュレーションパイプの支持構造および支持方法の提供を目的とする。
【課題を解決するための手段】
【0009】
この発明のリサーキュレーションパイプの支持構造は、タンクの内部と給油口を連通するとともに屈曲部を有するフューエルパイプと、上記タンクの内部の上部空間と上記フューエルパイプの上記給油口側とを連通するリサーキュレーションパイプとを備え、上記リサーキュレーションパイプは、上記タンク寄りに位置するタンク側パイプと、上記給油口寄りに位置する給油口側パイプとが互いに連結可能に形成され、上記タンク側パイプと上記給油口側パイプとを連結する際、上記給油口側パイプは、上記タンク側パイプによって上記屈曲部の側へ押し込まれるように該屈曲部の近傍に配置され、かつ、上記屈曲部と上記給油口側パイプとの間には、上記屈曲部と上記給油口側パイプとのそれぞれに当接した状態で介在するスペーサを備え、上記スペーサは、押し込まれた上記給油口側パイプが当接可能に上記給油口側パイプに対して凹状に湾曲する給油口側パイプ当接面を有することを特徴とする。
【0010】
この発明によれば、車体組付け時に上記リサーキュレーションパイプにおける、上記タンク側パイプと上記給油口側パイプとを連結する際、上記給油口側パイプは、上記屈曲部の側へ上記タンク側パイプによって押し込まれる位置に配置された構造において、上記リサーキュレーションパイプは、上記フューエルパイプとの隙の寸法が該フューエルパイプの上記屈曲部においてばらつき易くなるが、その場合においても、上記スペーサを上記屈曲部に沿って位置調整することで、湾曲形状の給油口側パイプ当接面を上記リサーキュレーションパイプの上記給油口側パイプに確実に当接させることができる。
(【0011】以降は省略されています)
この特許をJ-PlatPat(特許庁公式サイト)で参照する
関連特許
マツダ株式会社
回転電機
8日前
マツダ株式会社
車体後部構造
1か月前
マツダ株式会社
運転支援装置
1か月前
マツダ株式会社
運転支援装置
1か月前
マツダ株式会社
運転支援装置
1か月前
マツダ株式会社
車両の前部構造
9日前
マツダ株式会社
車両の下部構造
1日前
マツダ株式会社
車両の下部構造
8日前
マツダ株式会社
車両の下部構造
8日前
マツダ株式会社
車両の前部構造
9日前
マツダ株式会社
車両の下部構造
10日前
マツダ株式会社
車両の下部構造
10日前
マツダ株式会社
車両の上部構造
1か月前
マツダ株式会社
バッテリユニット
29日前
マツダ株式会社
バッテリユニット
29日前
マツダ株式会社
バッテリ冷却構造
16日前
マツダ株式会社
バッテリ冷却構造
16日前
マツダ株式会社
車両用フレーム部材
9日前
マツダ株式会社
車両用フレーム部材
9日前
マツダ株式会社
車両の車体骨格構造
1日前
マツダ株式会社
二次電池の制御装置
1か月前
マツダ株式会社
認知運動能力評価装置
1日前
マツダ株式会社
塗布方法及び塗布装置
16日前
マツダ株式会社
運転者の覚醒維持装置
9日前
マツダ株式会社
車両の状態量検出装置
3日前
マツダ株式会社
バッテリ温度制御システム
1か月前
マツダ株式会社
車両のドア構造およびその製造方法
1か月前
マツダ株式会社
車両用フレーム部材および車体前部構造
16日前
マツダ株式会社
車両用フレーム部材および車体前部構造
16日前
マツダ株式会社
車両の構造設計方法及び構造設計プログラム
10日前
マツダ株式会社
バッテリユニットを搭載した車両の前部車体構造
29日前
マツダ株式会社
車両の上部構造、および車両の上部構造の製造方法
1か月前
マツダ株式会社
バッテリユニット及びバッテリユニットの製造方法。
29日前
マツダ株式会社
リサーキュレーションパイプの支持構造および支持方法
1日前
マツダ株式会社
車両用空調装置の冷媒取り出し方法及び車両用空調装置
8日前
マツダ株式会社
樹脂成形品の解析方法、解析装置、解析用プログラム及び記録媒体
1か月前
続きを見る
他の特許を見る