TOP
|
特許
|
意匠
|
商標
特許ウォッチ
Twitter
他の特許を見る
公開番号
2025177797
公報種別
公開特許公報(A)
公開日
2025-12-05
出願番号
2024084904
出願日
2024-05-24
発明の名称
認知運動能力評価装置
出願人
マツダ株式会社
代理人
個人
,
個人
主分類
A63B
71/06 20060101AFI20251128BHJP(スポーツ;ゲーム;娯楽)
要約
【課題】 人間の内部モデル(予測誤差低減モデル)を考慮することにより、人間の認知運動機能を適切に評価し得る認知運動能力評価装置を提供する。
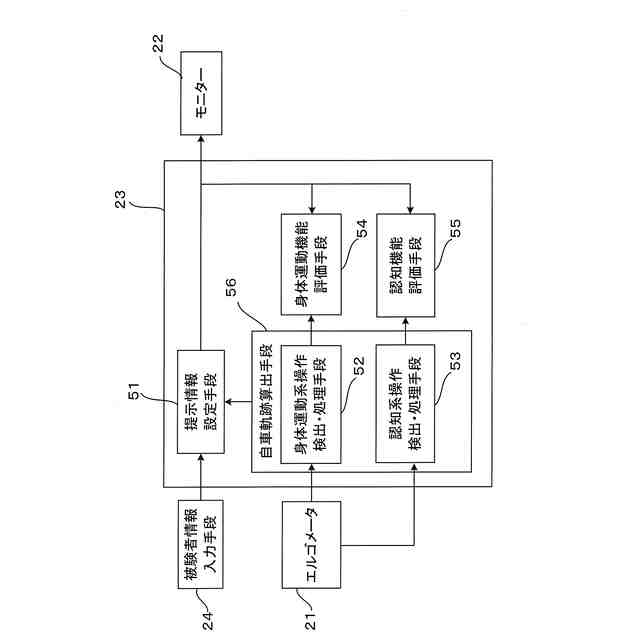
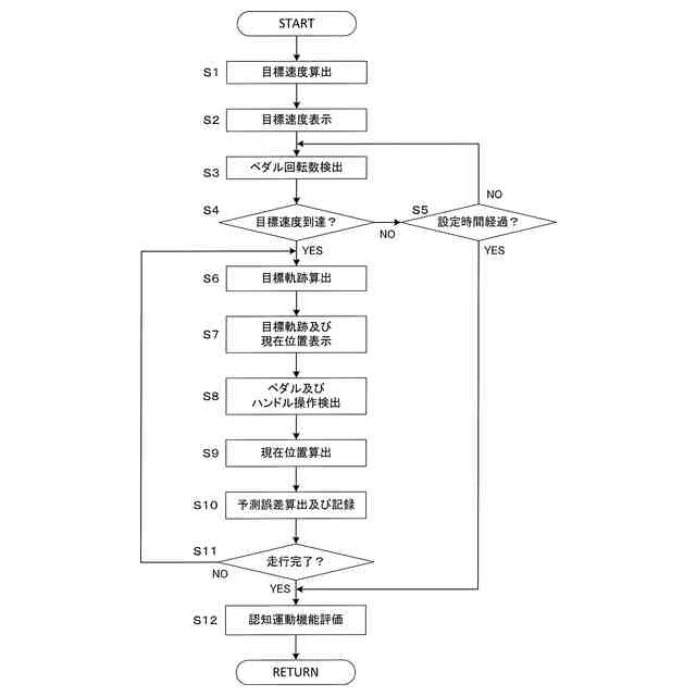
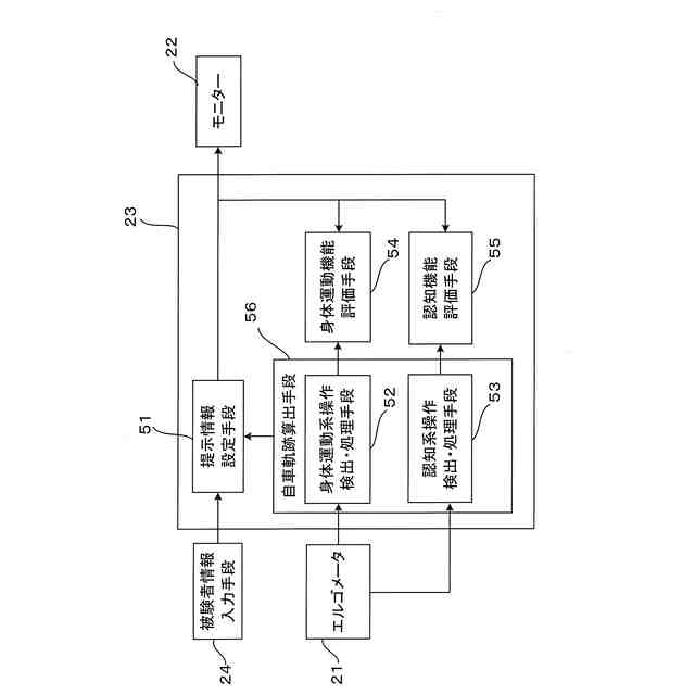
【解決手段】 認知運動能力評価装置20において、エルゴメータ21と、モニター22と、身体運動機能評価手段54と認知機能評価手段55を有する制御部23を備え、身体運動機能評価手段54による被験者の身体運動機能の評価が所定の水準を超えて高まった後、認知機能評価手段55による被験者の認知機能の評価を行うようにした。身体運動機能は、エルゴメータ21のペダル部32の操作による模擬車両の速度と目標速度の差に基づいて評価され、認知機能は、エルゴメータ21のハンドル部33の操作による自車軌跡41Bと目標軌跡41Aの差に基づいて評価される。
【選択図】 図5
特許請求の範囲
【請求項1】
被験者の認知運動能力を評価する認知運動能力評価装置において、
前記被験者に対して情報を提供する情報提供手段と、
前記情報提供手段からの情報に応じて前記被験者が操作を入力可能な操作入力手段と、
前記情報と前記被験者が行った操作に基づいて前記被験者の身体運動機能を評価する身体運動機能評価手段と、
前記情報と前記被験者が行った操作に基づいて前記被験者の認知機能を評価する認知機能評価手段と
を備え、
前記認知機能評価手段は、前記身体運動機能評価手段による前記被験者の身体運動機能の評価が所定の水準を超えて高まった後に、前記被験者の認知機能の評価を行う認知運動能力評価装置。
続きを表示(約 940 文字)
【請求項2】
請求項1に記載の認知運動能力評価装置において、
前記操作入力手段に入力される操作は、身体運動系操作と認知系操作に分類され、
前記身体運動機能評価手段は、前記情報に対する前記身体運動系操作の乖離の程度に基づいて前記被験者の身体運動機能を評価し、
前記認知機能評価手段は、前記情報に対する前記認知系操作の乖離の程度に基づいて前記被験者の認知系機能を評価する認知運動能力評価装置。
【請求項3】
請求項1に記載の認知運動能力評価装置において、
前記身体運動系操作は、前記被験者が自らの身体動作に対する予測にしたがって実行する操作であり、
前記認知系操作は、前記被験者が外部環境に対する知覚に基づく予測にしたがって実行する操作である認知運動能力評価装置。
【請求項4】
請求項2に記載の認知運動能力評価装置において、
前記運転操作入力手段は、車両を模擬した装置であり、前記被験者の脚による操作で前記車両を前進させるペダル部と、前記被験者の手による操作で前記車両の進行方向を決めるハンドル部を備え、
前記身体運動機能評価手段は、前記被験者の前記ペダル部に対する操作を前記身体運動系操作として、前記被験者の身体運動機能を評価し、
前記認知機能評価手段は、前記被験者の前記ハンドル部に対する操作を前記認知系操作として、前記被験者の認知機能を評価する認知運動能力評価装置。
【請求項5】
請求項4に記載の認知運動能力評価装置において、
前記身体運動機能評価手段は、前記情報として前記被験者に与えられた前記車両の目標速度と前記被験者による前記ペダル部の操作により得られた前記車両の速度との差に基づいて、前記被験者の身体運動機能を評価する認知運動能力評価装置。
【請求項6】
請求項4に記載の認知運動能力評価装置において、
前記認知機能評価手段は、前記情報として前記被験者に与えられた前記車両の目標軌跡と前記被験者による前記ハンドル部の操作により得られた前記車両の軌跡との差に基づいて、前記被験者の認知機能を評価する認知運動能力評価装置。
発明の詳細な説明
【技術分野】
【0001】
本発明は、被験者の認知運動能力を評価する認知運動能力評価装置に関するものである。
続きを表示(約 2,200 文字)
【背景技術】
【0002】
従来から、車両の運転には、高齢者等の認知運動機能(認知機能及び身体運動機能)を維持・向上する効果があることが知られている。このため、高齢者等の認知運動機能の訓練や評価のための装置として、車両の運転を模擬した様々な装置が提案されてきている。例えば、特許文献1には、自転車の走行を模擬して、ペダル及びハンドルの操作を行う模擬操縦装置が提案されている。また、特許文献2には、認知機能維持向上システムにおいて、ペダル踏みによる有酸素運動と、これと連動したスクリーンタッチのゲームを行うことにより、有酸素運動と認知機能トレーニングを同時に行えるようにした構成が開示されている。
【先行技術文献】
【特許文献】
【0003】
実用新案登録第2589581号
特許第6934826号
【発明の概要】
【発明が解決しようとする課題】
【0004】
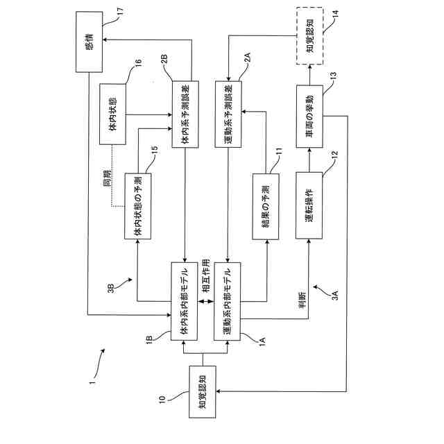
このように、従来から、認知運動機能のトレーニングや評価を行い得る装置は存在していたが、従来の装置には、人間の認知における内部モデルを考慮した認知機能の評価という観点はなかった。このため、従来の装置では、必ずしも的確な認知機能評価を行えない場合があった。例えば、認知機能自体に大きな問題が無くても、高齢によりトレーニング装置を操作する筋力発揮が不安定な場合(単純に身体運動機能が不十分である場合)に、認知機能が不十分であるとの評価がなされてしまうことがあった。
【0005】
本発明は、以上のような事情を勘案してなされたもので、人間の内部モデル(予測誤差低減モデル)を考慮することにより、人間の認知運動機能を適切に評価し得る認知運動能力評価装置を提供することを目的とする。
【課題を解決するための手段】
【0006】
前記目的を達成するため、本発明にあっては、次のような解決方法を採択している。すなわち、請求項1に記載のように、被験者の認知運動能力を評価する認知運動能力評価装置において、前記被験者に対して情報を提供する情報提供手段と、前記情報提供手段からの情報に応じて前記被験者が操作を入力可能な操作入力手段と、前記情報と前記被験者が行った操作に基づいて前記被験者の身体運動機能を評価する身体運動機能評価手段と、 前記情報と前記被験者が行った操作に基づいて前記被験者の認知機能を評価する認知機能評価手段とを備え、前記認知機能評価手段は、前記身体運動機能評価手段による前記被験者の身体運動機能の評価が所定の水準を超えて高まった後に、前記被験者の認知機能の評価を行う。
【0007】
上記解決手法によれば、身体運動機能評価手段(例えば、身体運動機能評価手段)による被験者の身体運動機能の評価が所定の水準を超えて高まった後に、認知機能評価手段(例えば、認知機能評価手段55)による評価が行われるので、例えば、認知機能自体は十分であるにも関わらず、高齢により単に身体運動機能が低下して、意図通りに身体を動かせない場合等に、認知機能の評価が低くなってしまうことが防止され、的確な認知機能評価を行うことができる。
【0008】
上記解決手法を前提とした好ましい態様は、特許請求の範囲における請求項2以下に記載の通りである。すなわち、前記操作入力手段に入力される操作は、身体運動系操作と認知系操作に分類され、前記身体運動機能評価手段は、前記情報に対する前記身体運動系操作の乖離の程度に基づいて前記被験者の身体運動機能を評価し、前記認知機能評価手段は、前記情報に対する前記認知系操作の乖離の程度に基づいて前記被験者の認知系機能を評価する(請求項2対応)。この場合、身体運動機能評価手段による身体運動機能の評価は身体運動系操作に基づいて行われ、認知機能評価手段による認知機能の評価は、認知系操作に基づいて行われるので、身体運動機能と認知機能のそれぞれについての評価を的確に行うことができる。
【0009】
前記身体運動系操作は、前記被験者が自らの身体動作に対する予測にしたがって実行する操作であり、前記認知系操作は、前記被験者が外部環境に対する知覚に基づく予測にしたがって実行する操作である(請求項3対応)。この場合、人間の予測誤差低減モデルに基づいて、身体運動系操作と認知系操作を適切に分類することができる。
【0010】
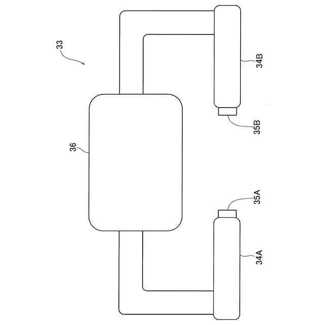
前記運転操作入力手段は、車両を模擬した装置であり、前記被験者の脚による操作で前記車両を前進させるペダル部と、前記被験者の手による操作で前記車両の進行方向を決めるハンドル部を備え、前記身体運動機能評価手段は、前記被験者の前記ペダル部に対する操作を前記身体運動系操作として、前記被験者の身体運動機能を評価し、前記認知機能評価手段は、前記被験者の前記ハンドル部に対する操作を前記認知系操作として、前記被験者の認知機能を評価する(請求項4対応)。この場合、車両を模擬した装置(例えば、エルゴメータ21)において、身体運動系操作と認知機能系操作の設定を適切に行うことができ、被験者の認知運動機能評価を的確に行うことができる。
(【0011】以降は省略されています)
この特許をJ-PlatPat(特許庁公式サイト)で参照する
関連特許
マツダ株式会社
二次電池
1か月前
マツダ株式会社
回転電機
8日前
マツダ株式会社
エンジン
1か月前
マツダ株式会社
二次電池
1か月前
マツダ株式会社
車載機器
1か月前
マツダ株式会社
排気システム
1か月前
マツダ株式会社
運転支援装置
1か月前
マツダ株式会社
車体後部構造
1か月前
マツダ株式会社
運転支援装置
1か月前
マツダ株式会社
運転支援装置
1か月前
マツダ株式会社
排気システム
1か月前
マツダ株式会社
車両の下部構造
10日前
マツダ株式会社
インバータ装置
1か月前
マツダ株式会社
車両の下部構造
8日前
マツダ株式会社
インバータ装置
1か月前
マツダ株式会社
車両の上部構造
1か月前
マツダ株式会社
インバータ装置
1か月前
マツダ株式会社
車両の下部構造
10日前
マツダ株式会社
インバータ装置
1か月前
マツダ株式会社
車両の前部構造
1か月前
マツダ株式会社
車両の前部構造
9日前
マツダ株式会社
車両の前部構造
9日前
マツダ株式会社
車両の下部構造
1日前
マツダ株式会社
車両の下部構造
8日前
マツダ株式会社
バッテリユニット
29日前
マツダ株式会社
バッテリ冷却構造
16日前
マツダ株式会社
バッテリユニット
29日前
マツダ株式会社
バッテリ冷却構造
16日前
マツダ株式会社
二次電池の制御装置
1か月前
マツダ株式会社
車両の下部車体構造
2か月前
マツダ株式会社
車両の下部車体構造
2か月前
マツダ株式会社
車両の下部車体構造
2か月前
マツダ株式会社
エンジンの制御装置
1か月前
マツダ株式会社
バッテリの制御装置
2か月前
マツダ株式会社
車両の下部車体構造
2か月前
マツダ株式会社
車両の下部車体構造
2か月前
続きを見る
他の特許を見る