TOP
|
特許
|
意匠
|
商標
特許ウォッチ
Twitter
他の特許を見る
10個以上の画像は省略されています。
公開番号
2025144899
公報種別
公開特許公報(A)
公開日
2025-10-03
出願番号
2024044812
出願日
2024-03-21
発明の名称
車両の下部車体構造
出願人
マツダ株式会社
代理人
弁理士法人三協国際特許事務所
主分類
B62D
25/20 20060101AFI20250926BHJP(鉄道以外の路面車両)
要約
【課題】側突時のエネルギー吸収量を確実に増大させることが可能な車両の下部車体構造の提供を目的とする。
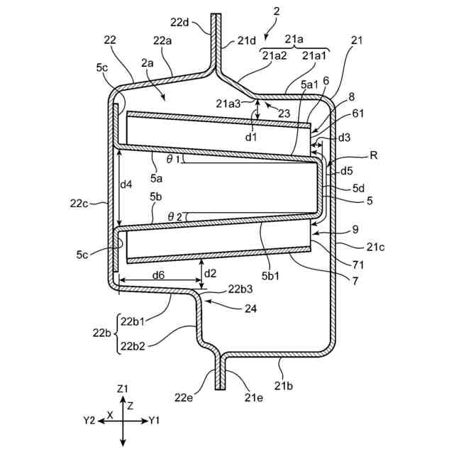
【解決手段】車体1は、サイドシル2の閉断面2aの内部に配置された第1レインフォースメント5および第2レインフォースメント6を備える。第1レインフォースメント5は、上壁部5a(第1壁部)および下壁部5b(第2壁部)と、上下方向に延びる縦壁部5cとを有するハット型形状である。第2レインフォースメント6は、上壁部5aと協働して複数の第1閉断面8を形成する。第2レインフォースメント6は、上壁部5aにおける第1レインフォースメント5の外側を向く上面5a1に配置されている。サイドシルアウタ21は、車両の側突時に前記第2レインフォースメント6に対して上下方向における外側から当接するようにサイドシル2の内側に変形する変形促進部23である角部21a3を有する。
【選択図】図4
特許請求の範囲
【請求項1】
車体の車幅方向外側で車両前後方向に延びる閉断面を構成する左右一対のサイドシルと、
前記閉断面の内部に配置された補強部材である、第1レインフォースメントおよび第2レインフォースメントと
を備え、
前記サイドシルは、サイドシルアウタと、当該サイドシルアウタよりも車幅方向内側に配置され、当該サイドシルアウタに接合されたサイドシルインナとを有し、
前記第1レインフォースメントは、前記サイドシルインナに固定され、車幅方向及び前後方向に延びる第1壁部および第2壁部と、前記第1壁部の車幅方向外側端部から前記第2壁部の車幅方向外側端部に上下方向に延びる縦壁部と、を有し、車幅方向外側に突出するとともに車幅方向内側に開口するハット型形状であり、
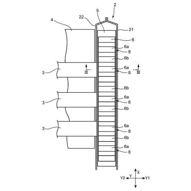
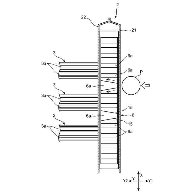
前記第2レインフォースメントは、車両側面視にて前記第1壁部と協働して車両前後方向に並ぶ複数の第1閉断面を形成し、
前記第2レインフォースメントは、前記第1壁部における前記第1レインフォースメントの外側を向く面に配置され、
前記サイドシルアウタは、車両の側突時に前記第2レインフォースメントに対して上下方向における外側から当接するように前記サイドシルの内側に変形する変形促進部を有する、
車両の下部車体構造。
続きを表示(約 650 文字)
【請求項2】
請求項1記載の車両の下部車体構造において、
前記サイドシルアウタは、車幅方向および車両前後方向に延びるとともに前記第2レインフォースメントに対向する対向壁部を有し、
前記対向壁部は、車両前面視において、前記サイドシルの内側に折れ曲がることによって前記第2レインフォースメントに近づく方向に突出する角部を有し、
前記変形促進部は、前記角部によって構成されている、
車両の下部車体構造。
【請求項3】
請求項1または2に記載の車両の下部車体構造において、
前記第1壁部は、車幅方向内側ほど前記第2壁部から漸次離間する方向に傾斜するように形成されている、
車両の下部車体構造。
【請求項4】
請求項1または2に記載の車両の下部車体構造において、
前記第1壁部は、前記第2壁部よりも上側に配置され、
前記変形促進部は、前記サイドシルアウタの上部に形成されている、
車両の下部車体構造。
【請求項5】
請求項1または2記載の車両の下部車体構造において、
前記縦壁部は、前記サイドシルアウタと前記サイドシルインナとの接合部より車幅方向外側に配置されている、
車両の下部車体構造。
【請求項6】
請求項1または2記載の車両の下部車体構造において、
前記第1閉断面は、車幅方向に延びる複数の稜線を有する多角形構造である、車両の下部車体構造。
発明の詳細な説明
【技術分野】
【0001】
本発明は、車両の下部車体構造に関するものである。
続きを表示(約 1,900 文字)
【背景技術】
【0002】
車両の側方からポールなどの障害物に衝突する側突時において、車体側部の構成部分であるサイドシルには大きな衝突エネルギーが入力される。サイドシルから車体内部へのエネルギー伝達は、車体内部の乗員や車載部品に影響を与えるおそれがある。とくに電気自動車(EV)の場合ではサイドシルに対して車幅方向内側に配置されたバッテリーパックに影響を与えるおそれがある。これらの影響を避けるために、サイドシルでエネルギーを吸収する必要がある。
【0003】
そこで、従来では、サイドシルの内部において中空閉断面を形成する補強部材を設けることにより側突時にエネルギーを吸収する構造が種々提案されている。例えば、特許文献1に記載されている車体構造では、サイドシルの内部に略M字断面形状の板金で形成された補強部材が設けられている。補強部材は、M字断面を形成する2つの凸部が車幅方向外側を向くように配置され、サイドシルとともに中空閉断面を形成する。
【0004】
この構造では、側突時に略M字断面形状の補強部材の2つの凸部で形成される中空閉断面が車幅方向に圧縮されることにより、エネルギー吸収を行う。
【先行技術文献】
【特許文献】
【0005】
特表2023-522161号公報
【発明の概要】
【発明が解決しようとする課題】
【0006】
しかし、上記のサイドシル内部の略M字断面形状の補強部材は、側突時の条件によっては、側突時に凸部で形成される閉断面が予定通りに車幅方向に圧縮されずに上下方向にずれながら圧縮する意図しない変形をするおそれがある。その場合には、補強部材におけるエネルギー吸収量の損失が生じ、狙ったエネルギー吸収量を得られない場合がある。
【0007】
本発明は、前記のような事情に鑑みてなされたものであり、側突時のエネルギー吸収量を確実に増大させることが可能な車両の下部車体構造の提供を目的とする。
【課題を解決するための手段】
【0008】
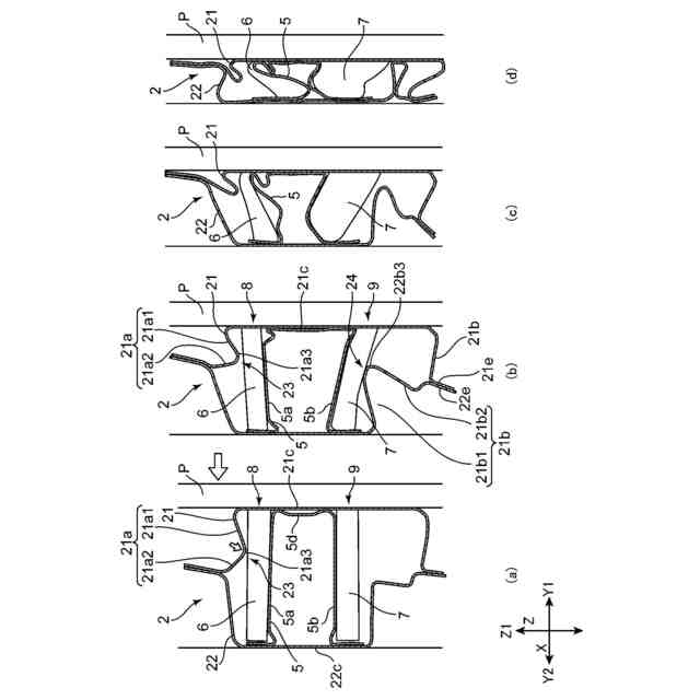
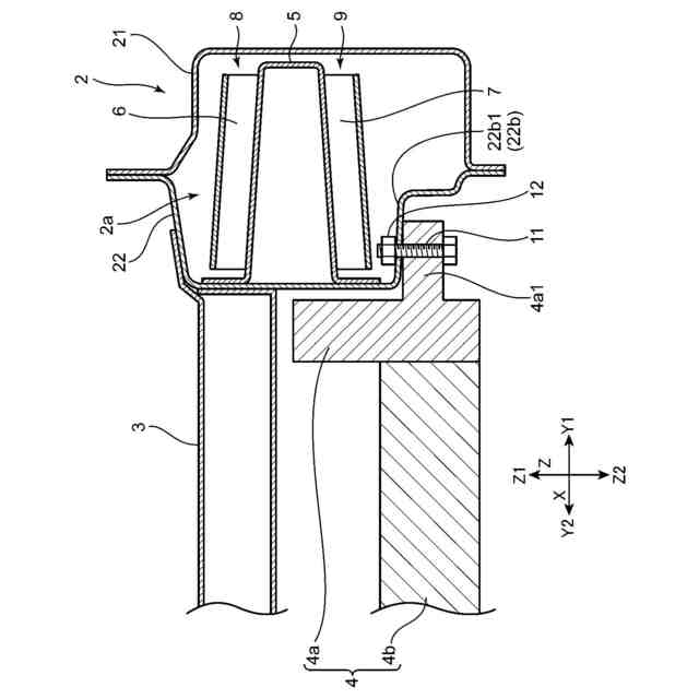
前記課題を解決するために本発明の車両の下部車体構造は、車体の車幅方向外側で車両前後方向に延びる閉断面を構成する左右一対のサイドシルと、前記閉断面の内部に配置された補強部材である、第1レインフォースメントおよび第2レインフォースメントとを備え、前記サイドシルは、サイドシルアウタと、当該サイドシルアウタよりも車幅方向内側に配置され、当該サイドシルアウタに接合されたサイドシルインナとを有し、前記第1レインフォースメントは、前記サイドシルインナに固定され、車幅方向及び前後方向に延びる第1壁部および第2壁部と、前記第1壁部の車幅方向外側端部から前記第2壁部の車幅方向外側端部に上下方向に延びる縦壁部と、を有し、車幅方向外側に突出するとともに車幅方向内側に開口するハット型形状であり、前記第2レインフォースメントは、車両側面視にて前記第1壁部と協働して車両前後方向に並ぶ複数の第1閉断面を形成し、前記第2レインフォースメントは、前記第1壁部における前記第1レインフォースメントの外側を向く面に配置され、前記サイドシルアウタは、車両の側突時に前記第2レインフォースメントに対して上下方向における外側から当接するように前記サイドシルの内側に変形する変形促進部を有することを特徴とする。
【0009】
かかる構成によれば、側突時にサイドシルアウタの変形促進部がサイドシル内側に変形して第2レインフォースメントと当接する。これにより、第2レインフォースメントは、変形促進部と第1レインフォースメントの第1壁部との間に挟まれることによって上下方向への変形が規制されるので、第1壁部および第2レインフォースメントによって形成された第1閉断面の軸圧縮を確実に進行させることが可能である。その結果、側突時のエネルギー吸収量を確実に増大させることが可能である。
【0010】
上記の車両の下部車体構造において、前記サイドシルアウタは、車幅方向および車両前後方向に延びるとともに前記第2レインフォースメントに対向する対向壁部を有し、前記対向壁部は、車両前面視において、前記サイドシルの内側に折れ曲がることによって前記第2レインフォースメントに近づく方向に突出する角部を有し、前記変形促進部は、前記角部によって構成されているのが好ましい。
(【0011】以降は省略されています)
この特許をJ-PlatPat(特許庁公式サイト)で参照する
関連特許
マツダ株式会社
二次電池
14日前
マツダ株式会社
排気浄化装置
1か月前
マツダ株式会社
排気浄化装置
1か月前
マツダ株式会社
車両用駆動装置
22日前
マツダ株式会社
車両用駆動装置
22日前
マツダ株式会社
車両用駆動装置
22日前
マツダ株式会社
車両用駆動装置
22日前
マツダ株式会社
車両用駆動装置
22日前
マツダ株式会社
冷媒循環システム
16日前
マツダ株式会社
冷媒循環システム
16日前
マツダ株式会社
冷媒循環システム
16日前
マツダ株式会社
冷媒循環システム
16日前
マツダ株式会社
冷媒循環システム
16日前
マツダ株式会社
冷媒循環システム
16日前
マツダ株式会社
冷媒循環システム
16日前
マツダ株式会社
エンジンシステム
1か月前
マツダ株式会社
エンジンシステム
1か月前
マツダ株式会社
燃料改質システム
1か月前
マツダ株式会社
冷媒循環システム
16日前
マツダ株式会社
モータ軸受システム
4日前
マツダ株式会社
モータ軸受システム
4日前
マツダ株式会社
車両の下部車体構造
4日前
マツダ株式会社
車両の下部車体構造
4日前
マツダ株式会社
車両の下部車体構造
4日前
マツダ株式会社
車両の下部車体構造
今日
マツダ株式会社
車両の下部車体構造
今日
マツダ株式会社
車両の下部車体構造
今日
マツダ株式会社
車両の下部車体構造
今日
マツダ株式会社
ドライバ状態推定装置
1か月前
マツダ株式会社
ドライバ状態推定装置
1か月前
マツダ株式会社
ドライバ状態推定装置
1か月前
マツダ株式会社
車両運転支援システム
今日
マツダ株式会社
ドライバ状態推定装置
1か月前
マツダ株式会社
樹脂発泡体及びシート
15日前
マツダ株式会社
車両運転支援システム
14日前
マツダ株式会社
車両運転支援システム
14日前
続きを見る
他の特許を見る