TOP
|
特許
|
意匠
|
商標
特許ウォッチ
Twitter
他の特許を見る
公開番号
2025147995
公報種別
公開特許公報(A)
公開日
2025-10-07
出願番号
2024048552
出願日
2024-03-25
発明の名称
車両の下部車体構造
出願人
マツダ株式会社
代理人
弁理士法人三協国際特許事務所
主分類
B62D
25/20 20060101AFI20250930BHJP(鉄道以外の路面車両)
要約
【課題】衝突荷重が入力された場合における安全性確保と、車室内におけるシートの配置に関する設計の高い自由度の確保と、を両立することができる車両の下部車体構造を提供する。
【解決手段】車両は、フロアパネルと、車両用シートと、フロアパネルの下方に配設されるバッテリと、フロアパネルとバッテリ筐体との間で車幅方向に延びるバッテリ外クロスメンバ8と、を備える。バッテリにおけるバッテリ筐体71は、蓋体73の下方において、前後方向に延び、筐体本体部72における互いに対向する外周壁同士を繋ぐように形成された内部メンバ725~727を有する。バッテリ外クロスメンバ8は、蓋体73を挟んだ状態で内部メンバ725~727に固定されるとともに、フロアパネルを挟んだ状態でシートレールに固定されている。
【選択図】図4
特許請求の範囲
【請求項1】
車両の下部車体構造であって、
前記車両における車室の床を構成するフロアパネルと、
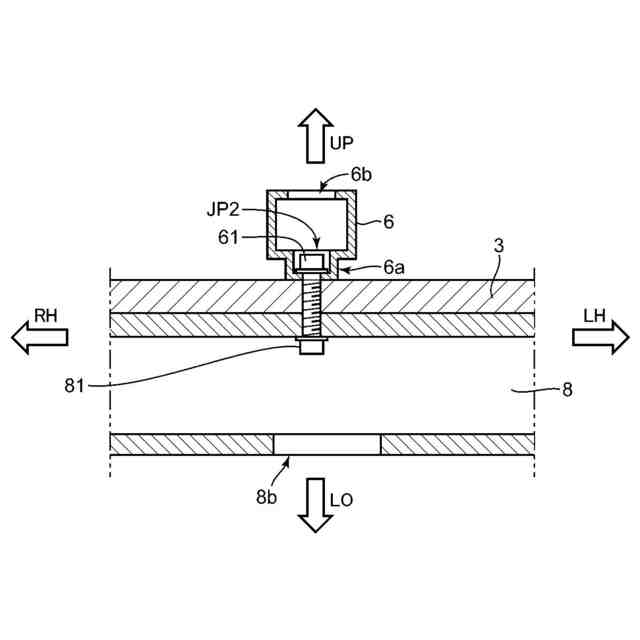
前記フロアパネル上に配されるシートレールを含む車両用シートと、
前記車両の前後方向または車幅方向の一方の方向である第1方向に延びるように形成されるとともに、前記フロアパネルの下方に配された外部骨格部と、
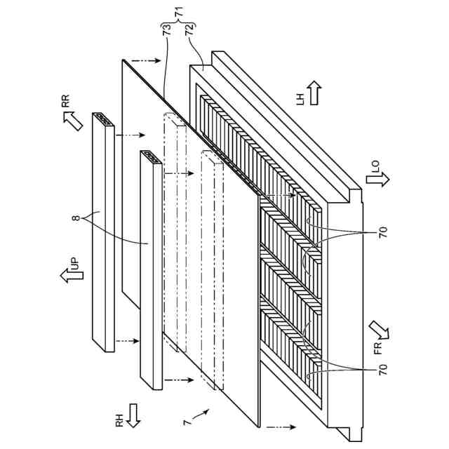
バッテリセルと、当該バッテリセルを収容するバッテリ筐体と、を有し、前記外部骨格部の下方に配設されるバッテリと、
を備え、
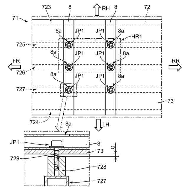
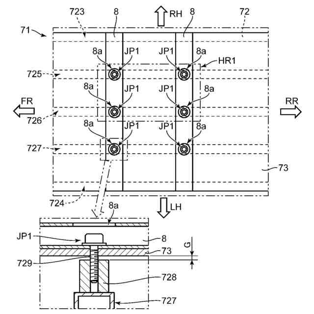
前記バッテリ筐体は、外周壁を有するとともに、上部が開口されたケースである筐体本体部と、前記筐体本体部の前記開口を塞ぐ蓋部と、前記筐体本体部内において、前記車両の上下方向および前記第1方向の双方に交差する第2方向に延びるとともに、前記外周壁における互いに対向する部分同士の間を繋ぐように形成された内部骨格部と、を有し、
前記外部骨格部は、前記蓋部を挟んだ状態で前記内部骨格部に固定されるとともに、前記フロアパネルを挟んだ状態で前記シートレールに固定されている、
車両の下部車体構造。
続きを表示(約 1,000 文字)
【請求項2】
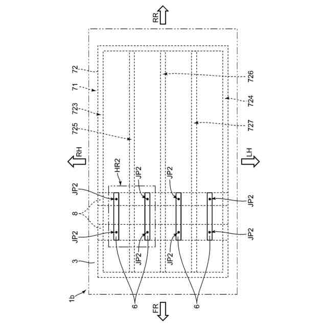
前記外部骨格部を第1外部骨格部とする場合に、前記フロアパネルと前記バッテリ筐体との間に配された、前記第1外部骨格部とは別の外部骨格部であって、前記第1方向に延びるとともに、前記第1外部骨格部に対して前記第2方向に間隔を空けて配設された第2外部骨格部をさらに備え、
前記内部骨格部を第1内部骨格部とする場合に、前記バッテリ筐体は、前記筐体本体部内に配され、前記第2方向に延びるとともに、前記第1内部骨格部に対して前記第1方向に間隔を空け、且つ、前記筐体本体部における外周壁の前記対向する部分同士を繋ぐように形成された第2内部骨格部をさらに有し、
前記第2内部骨格部は、前記第1外部骨格部および前記第2外部骨格部のそれぞれに対して、前記蓋部を挟んだ状態で固定されており、
前記第2外部骨格部は、前記蓋部を挟んだ状態で前記第1内部骨格部に固定されるとともに、前記フロアパネルを挟んだ状態で前記シートレールに固定されている、
請求項1に記載の車両の下部車体構造。
【請求項3】
前記外部骨格部は、前記バッテリ筐体における前記蓋部とは別体であって、当該蓋部の上に直に載置されている、
請求項1に記載の車両の下部車体構造。
【請求項4】
前記シートレールは、前記フロアパネルの上に直に載置されている、
請求項1に記載の車両の下部車体構造。
【請求項5】
前記第1方向は、前記車幅方向であり、
前記第2方向は、前記前後方向である、
請求項1から請求項4の何れかに記載の車両の下部車体構造。
【請求項6】
前記第1方向において、前記筐体本体部における前記外周壁は、車幅方向の両側に配設されたサイドシルに当接または近接するように配置されている、
請求項5に記載の車両の下部車体構造。
【請求項7】
前記外周壁は、前記サイドシルの下面に当接または近接する外向凸部を有する、
請求項6に記載の車両の下部車体構造。
【請求項8】
前記内部骨格部は、前記バッテリ筐体における前記筐体本体部とは別体であって、当該筐体本体部における前記外周壁に固定されている、
請求項1から請求項4の何れかに記載の車両の下部車体構造。
発明の詳細な説明
【技術分野】
【0001】
本発明は、車両の下部車体構造に関し、特にフロアパネルの下方にバッテリが配設されてなる車両の下部車体構造に関する。
続きを表示(約 1,800 文字)
【背景技術】
【0002】
近年では、バッテリ式電気自動車(BEV)やハイブリッド式電気自動車(HEV)などが急速に普及してきている。このような電気自動車では、フロアパネルの下に大型のバッテリが搭載される。特許文献1には、フロアパネルの下に搭載されたバッテリの筐体に対してシートフレームが固定された車両が開示されている。
【0003】
特許文献1に開示の車両では、フロアパネル上においてサイドシルとセンタートンネルとを車幅方向に繋ぐ車体側クロスメンバと、バッテリ筐体の蓋体の下部に設けられ、車幅方向に延びるバッテリ側クロスメンバと、を備える。シートフレームの内の車幅方向内側に位置する内側シートフレームは、センタートンネルに固定されるとともに、車体側クロスメンバにボルトを用いた締結で固定されている。車幅方向の外側に位置する外側シートフレームは、サイドシルに固定されるとともに、車体側クロスメンバにボルトを用いた締結で固定されている。
【0004】
バッテリ側クロスメンバは、内側および外側の各シートフレームとボルトを用いた締結で固定されている。
【先行技術文献】
【特許文献】
【0005】
特開2021-59141号公報
【発明の概要】
【発明が解決しようとする課題】
【0006】
上記特許文献1に開示の車両では、衝突荷重が入力された場合における安全性確保と、車室内におけるシートの配置に関する設計の自由度の確保と、を両立することが難しいと考えられる。具体的に、上記特許文献1に開示の車両では、内側および外側の各シートフレームと車体側クロスメンバとの交差部分において、シートフレームの天板部分が車体側クロスフレームの上に被さるように配されている。また、内側シートフレームはセンタートンネルに固定され、外側シートフレームはサイドシルに固定されている。よって、衝突荷重の入力時における安全性確保のために車体側クロスメンバの高さをある程度確保しようとすれば、シートフレームの高さ位置が高くなってしまう。このように、上記特許文献1に開示の車両では、安全性確保のために必要となる車体側クロスメンバの高さを確保しつつ、シートフレームの位置を低くすることは難しいと考えられる。
【0007】
また、シートフレームの車幅方向での位置は、センタートンネルおよびサイドシルとの関係で設計の自由度が高くないものと考えられる。即ち、シートフレームをセンタートンネルやサイドシルから離間させようとする場合には、車幅方向でのシートフレーム同士の間隔を幅広にせざるを得ず、当該シートフレームに取り付けられるシートの安定性という観点で問題が生じると考えられる。
【0008】
本発明は、上記のような問題の解決を図ろうとなされたものであって、衝突荷重が入力された場合における安全性確保と、車室内におけるシートの配置に関する設計の高い自由度の確保と、を両立することができる車両の下部車体構造を提供することを目的とする。
【課題を解決するための手段】
【0009】
本発明の一態様に係る車両の下部車体構造は、前記車両における車室の床を構成するフロアパネルと、前記フロアパネル上に配されるシートレールを含む車両用シートと、前記車両の前後方向または車幅方向の一方の方向である第1方向に延びるように形成されるとともに、前記フロアパネルの下方に配された外部骨格部と、バッテリセルと、当該バッテリセルを収容するバッテリ筐体と、を有し、前記外部骨格部の下方に配設されるバッテリと、を備える。
【0010】
上記態様に係る車両の下部車体構造において、前記バッテリ筐体は、外周壁を有するとともに、上部が開口されたケースである筐体本体部と、前記筐体本体部の前記開口を塞ぐ蓋部と、前記筐体本体部内において、前記車両の上下方向および前記第1方向の双方に交差する第2方向に延びるとともに、前記外周壁における互いに対向する部分同士の間を繋ぐように形成された内部骨格部と、を有し、前記外部骨格部は、前記蓋部を挟んだ状態で前記内部骨格部に固定されるとともに、前記フロアパネルを挟んだ状態で前記シートレールに固定されている。
(【0011】以降は省略されています)
この特許をJ-PlatPat(特許庁公式サイト)で参照する
関連特許
マツダ株式会社
回転電機
7日前
マツダ株式会社
車両の下部構造
7日前
マツダ株式会社
車両の下部構造
7日前
マツダ株式会社
車両の前部構造
8日前
マツダ株式会社
車両の前部構造
8日前
マツダ株式会社
車両の下部構造
9日前
マツダ株式会社
車両の下部構造
9日前
マツダ株式会社
車両用フレーム部材
8日前
マツダ株式会社
車両用フレーム部材
8日前
マツダ株式会社
車両の状態量検出装置
2日前
マツダ株式会社
運転者の覚醒維持装置
8日前
マツダ株式会社
塗布方法及び塗布装置
15日前
マツダ株式会社
車両の構造設計方法及び構造設計プログラム
9日前
マツダ株式会社
車両用空調装置の冷媒取り出し方法及び車両用空調装置
7日前
個人
台車
15日前
井関農機株式会社
作業車両
1か月前
個人
車の室内高温防止屋根
29日前
個人
電動式ルーフ付きトライク
7日前
井関農機株式会社
収穫作業車両
1日前
個人
電動式ルーフ付きトライク
7日前
個人
電動式ルーフ付きトライク
7日前
株式会社アイドゥス企画
老人電動車
16日前
日本精機株式会社
鞍乗型車両用表示装置
1日前
豊田合成株式会社
エアバッグ装置
7日前
豊田合成株式会社
エアバッグ装置
7日前
株式会社SANKA
組立式一輪車
23日前
株式会社SUBARU
車両前部構造
1か月前
株式会社SUBARU
車体前部構造
29日前
株式会社SUBARU
車体前部構造
29日前
株式会社SUBARU
車両前部構造
1か月前
株式会社アイシン
車両
15日前
株式会社SUBARU
車両前部構造
1か月前
株式会社SUBARU
車両前部構造
1か月前
豊田合成株式会社
ステアリング装置
15日前
長谷川工業株式会社
台車
28日前
スズキ株式会社
開閉機構
1か月前
続きを見る
他の特許を見る