TOP
|
特許
|
意匠
|
商標
特許ウォッチ
Twitter
他の特許を見る
公開番号
2025170724
公報種別
公開特許公報(A)
公開日
2025-11-19
出願番号
2024084390
出願日
2024-05-07
発明の名称
老人電動車
出願人
株式会社アイドゥス企画
代理人
主分類
B62K
5/025 20130101AFI20251112BHJP(鉄道以外の路面車両)
要約
【課題】手綱的な多彩な運転が出来る3輪構造の電動車を提供する。
【解決手段】駆動ユニット1は、左右に駆動輪2を備え、内部に回転軸受3、制御基板4、舵角センサ5、バッテリ6を配置しカバー9には、充電コネクタ7、制御コネクタ8を備えます。老人電動車本体の旋回軸に駆動ユニット1を連結、安全手すりに、走行操舵用のXYZセンサ13を組み込み、空転後輪14、ブレーキ15を取り付け、肘掛け、椅子、踏み台を実装する。
【選択図】図1
特許請求の範囲
【請求項1】
双輪式の独立駆動前輪を有する、三輪車構造の老人電動車。
続きを表示(約 200 文字)
【請求項2】
双輪式の前輪の左右を独立して制御する事で前輪の舵角を変化させる事が出来る、三輪車構造の老人電動車。
【請求項3】
双輪式の前輪が回生ブレーキ、後輪は非駆動輪で、機械式ブレーキを有する、三輪車構造の老人電動車。
【請求項4】
可動式手すりの左右に、XYZセンサスイッチが有り、左右のスイッチの位置の組合せで多彩な運動が出来る、三輪車構造の老人電動車。
発明の詳細な説明
【技術分野】
【0001】
双輪式の前輪駆動輪を有する、3輪構造の電動車、前輪の左右の回転方向制御する事で前輪の角度を変化させる事が出来る、安全手すりの左右に複数のセンサを備え、左右のセンサの組合せで手綱的な操作が出来る。
続きを表示(約 1,800 文字)
【技術背景】
【0002】
インホイールモータによる、双輪式の前輪駆動の3輪車は、機械的構造が極めて少ない、又、前輪の角度を左右の車輪の回転方向、回転速度で制御する事で、角度制御モータも不要、安全手すりを手綱的に動かし走行する事が出来る。
【発明の概要】
【】
【発明が解消しようとする課題】
【0003】
4輪車は、通常の自動車と同様で構造が複雑、電動車椅子は、方向車輪が変な向きになると固まってしまう、3輪車は構造は簡単ですが、後輪にデフレンシャルギアを使用するか、片輪駆動にする、前者は構造が複雑で、後者は轍に落ちると出られない、前車駆動の3輪車はハンドルが重い、パワーアシスト、または、旋回角モータが必要です。
双輪式前車駆動3輪車は、双輪にインホイールモータを使用する事で、これらの全てを解決する事ができます、操舵は手すり手綱方式を採用する事で、両手操舵で安全運転が出来ます。
【課題を解決する為の手段】
【0004】
インホイールモータによる、双輪式の駆動前輪とする事で、複雑な機構がない、後輪はブレーキのみを有する非駆動輪とする、舵角は双輪の左右の回転方向、回転速度によって行う、安全手すりの左右柱には、ZXYセンサが有り、手綱方式の操舵が出来ます、前後中央位置で、右に押すと定位置右旋回、左に押すと定位置左旋回、手前に引けば前進、手前に引いた状態で、右押すと走行右旋回、左に押すと走行左旋回、走行中に、手すりを前に押す、又は押し込むとブレーキ、停止状態で前に押すと後退、右前に押すと後退右旋回、左前に押すと後退左旋回、安全手すりを上方向に引くと、加速させる等、左右を組み合わせる事で多彩な操舵が出来ます。
【発明の効果】
【0005】
インホイールモータによる双輪前輪駆動方式の3輪車後輪の老人電動車は、機械的構造は前輪の旋回機能と、後輪のブレーキ機構のみと、極めて機械構造が簡単です、双輪前輪駆動ユニット内部の小型コンピュータで、双輪前輪の舵角を測定して、双輪前輪の左右軸を独立して、回転方向、回転速度を制御する事で走行旋回を行います。安全手すりの左右の柱には、XYZセンサが有り、安全手すりは前後左右上下に動かす事が出来る為、安全手すりを手綱として操作する事が出来ます。
【図面の簡単な説明】
【0006】
この出願に係る発明の第一の実施の形態を示す構成図である。
この出願に係る発明の第一の実施の動作を示す構成図である。
【発明を実施するための形態】
【0007】
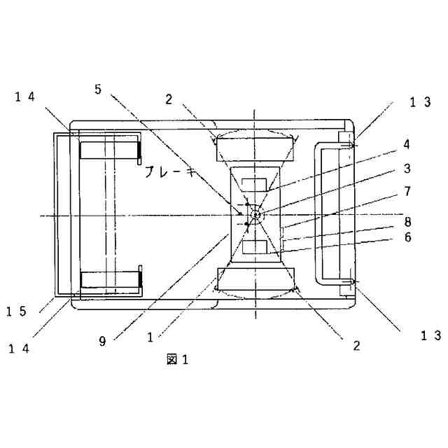
駆動ユニット(1)に、駆動輪(2)を左右に取付、回転軸受(3)を中央位置に固定、制御基板(4)、舵角センサ(5)、バッテリ(6)を取り付け、充電コネクタ(7)制御コネクタ(8)を配置したカバー(9)を取り付ける。
老人電動車本体(10)に旋回軸(11)、安全手すり(12)、安全手すりの左右柱部分にXYZ(13)、空転後輪(14)、ブレーキ(15)取り付け、肘掛け(16)椅子(17)踏み台(18)を実装、駆動ユニット(1)を連結します。
【符号の説明】
【0008】
1 駆動ユニット
2 駆動輪
3 旋回軸受
4 制御基板
5 舵角センサ
6 バッテリ
7 充電コネクタ
8 制御コネクタ
9 カバー
10 本体
11 旋回軸
12 安全手すり
13 XYZセンサ
14 空転後輪
15 ブレーキ
16 肘掛け
17 椅子
18 踏み台
この特許をJ-PlatPat(特許庁公式サイト)で参照する
関連特許
個人
カート
4か月前
個人
走行装置
4か月前
個人
三輪バイク
27日前
個人
電動走行車両
4か月前
個人
乗り物
6か月前
個人
閂式ハンドル錠
4か月前
個人
電動モビリティ
8か月前
個人
自転車用歩数計
1か月前
個人
折り畳み自転車
11か月前
個人
駐輪設備
2か月前
個人
発音装置
8か月前
個人
ボギー・フレーム
3か月前
個人
三輪電動車両
1か月前
個人
“zen-go.”
3か月前
個人
ルーフ付きトライク
3か月前
個人
自由方向乗車自転車
8か月前
個人
ルーフ付きトライク
2か月前
個人
パワーアシスト自転車
3か月前
井関農機株式会社
作業車両
20日前
個人
キャンピングトライク
9か月前
個人
車の室内高温防止屋根
13日前
個人
ステアリングの操向部材
10か月前
株式会社豊田自動織機
産業車両
5か月前
個人
フロントフットブレーキ。
5か月前
株式会社三五
リアサブフレーム
11か月前
学校法人千葉工業大学
車両
11か月前
個人
乗用自動車のディフューザー
1か月前
豊田鉄工株式会社
小型車両
4か月前
学校法人千葉工業大学
車両
11か月前
個人
ホイールハブ駆動構造
5か月前
学校法人千葉工業大学
車両
11か月前
個人
自転車の駐輪場システム
6か月前
トヨタ自動車株式会社
パネル
5か月前
株式会社GEAR
電動カート
5か月前
株式会社アイドゥス企画
老人電動車
今日
個人
走行車両等の粉塵飛散防止装置
4か月前
続きを見る
他の特許を見る