TOP
|
特許
|
意匠
|
商標
特許ウォッチ
Twitter
他の特許を見る
10個以上の画像は省略されています。
公開番号
2025168253
公報種別
公開特許公報(A)
公開日
2025-11-07
出願番号
2025059235
出願日
2025-03-31
発明の名称
台車
出願人
長谷川工業株式会社
代理人
個人
,
個人
,
個人
主分類
B62B
3/02 20060101AFI20251030BHJP(鉄道以外の路面車両)
要約
【課題】部品点数が少なくて組立性に優れている上、交換頻度が高い中央天板の交換作業を容易に行いうる台車を提供する。
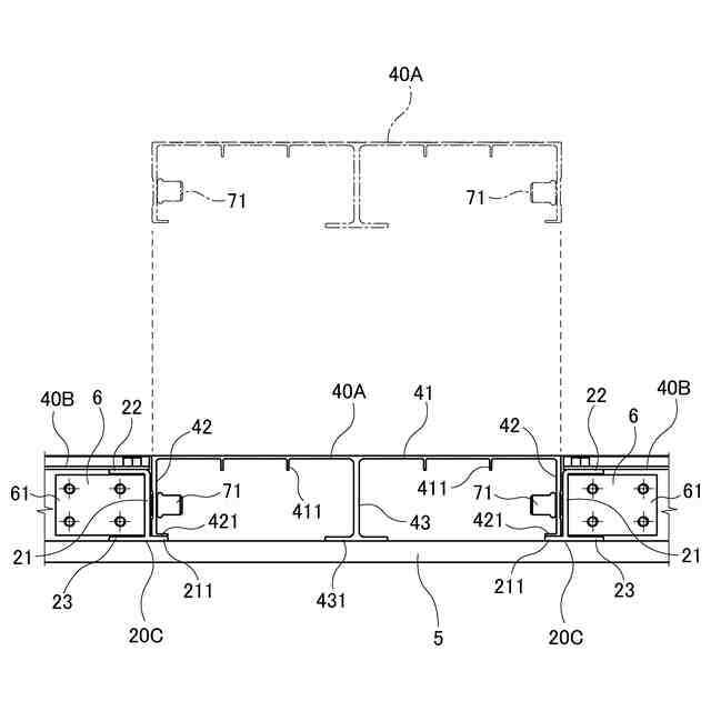
【解決手段】台車1は、前後左右の外枠部材20A,20Bを有している台枠2と、台枠2の下側に設けられている複数のキャスター3と、積載面を構成するように台枠2に設けられている天板4とを備えている。台枠2が、前後または左右の外枠部材20Aの長さ中間部に互いに所定間隔をおいて並列状に渡し止められている2つの中間枠部材20Cをさらに有している。天板4が、2つの中間枠部材20Cどうしの間に配置固定されている中央天板40Aを有している。中央天板40Aは、台車1の上面側から単独で着脱可能に設けられている。
【選択図】図4
特許請求の範囲
【請求項1】
前後左右の外枠部材を有している台枠と、台枠の下側に設けられている複数のキャスターと、積載面を構成するように台枠に設けられている天板とを備えている台車であって、
台枠が、前後または左右の外枠部材の長さ中間部に互いに所定間隔をおいて並列状に渡し止められている2つの中間枠部材をさらに有しており、
天板が、2つの中間枠部材どうしの間に配置固定されている中央天板を有しており、
中央天板は、台車の上面側から単独で着脱可能に設けられていることを特徴とする、台車。
続きを表示(約 1,200 文字)
【請求項2】
中央天板が、上面が積載面となされる頂壁部と、頂壁部の両側縁から下方にのびる2つの側壁部とを有しており、
2つの中間枠部材が、中央天板の各側壁部の外面に沿いうる垂直壁部をそれぞれ有しており、
中央天板の2つの側壁部が2つの中間枠部材の垂直壁部に着脱自在に取り付けられている、請求項1の台車。
【請求項3】
複数のキャスターが、平面より見て中央天板と交差するように左右または前後の外枠部材の下側に渡し止められたキャスター取付板に取り付けられており、
中央天板が、頂壁部の幅中間部分から2つの側壁部と平行をなすように下方にのびている中間垂下壁部をさらに有しており、
中央天板の中間垂下壁部の下端縁に、キャスター取付板の上面に当接させられる水平な下フランジ部が設けられている、請求項2の台車。
【請求項4】
2つの中間枠部材が、垂直壁部の下端縁または高さ中間位置から互いに向かい合うように突出して中央天板の2つの側壁部の下端縁をそれぞれ支持する支持凸部を有している、請求項2の台車。
【請求項5】
中央天板の2つの側壁部の下端縁に、2つの中間枠部材における垂直壁部の支持凸部の上面に当接させられる水平な下フランジ部が設けられている、請求項4の台車。
【請求項6】
2つの中間枠部材における垂直壁部の外面の両端部分が、平面より見てL形をした曲板状の接続部材を介して、前後または左右の外枠部材の長さ中間部に接続されている、請求項2の台車。
【請求項7】
2つの中間枠部材のそれぞれが、垂直壁部の上端縁および下端縁から中央天板と反対側に向かってのびた上部水平壁部および下部水平壁部をさらに有しており、接続部材が、上部水平壁部および下部水平壁部間の垂直距離にほぼ等しい上下幅を有している、請求項6の台車。
【請求項8】
天板が、中間枠部材およびこれと向かい合う外枠部材の上側に渡し止められて、平面より見て中央天板と重ならないように配置された補助天板をさらに有している、請求項1の台車。
【請求項9】
複数のキャスターが、平面より見て中央天板と交差するように左右または前後の外枠部材の下側に渡し止められたキャスター取付板に取り付けられており、
天板が、中間枠部材およびこれと向かい合う外枠部材の上側に渡し止められて、平面より見て中央天板と重ならないように配置された補助天板をさらに有しており、
補助天板およびキャスター取付板の側縁部どうしの間に生じる隙間を塞ぐ隙間閉塞部が設けられている、請求項1の台車。
【請求項10】
隙間閉塞部が、補助天板の側縁部からキャスター取付板の側縁部に向かって下方にのびるように補助天板と一体的に設けられた隙間閉塞壁部よりなる、請求項9の台車。
(【請求項11】以降は省略されています)
発明の詳細な説明
【技術分野】
【0001】
この発明は、荷物等を積載して運搬するための台車に関する。
続きを表示(約 1,500 文字)
【背景技術】
【0002】
運搬台車として、例えば特許文献1に示されているように、前後左右のフレームおよびこれらの内側に配置される複数のサブフレームを格子状に連結してなる台車本体(台枠)と、台車本体の下側にキャスター取付板を介して取り付けられた複数のキャスターと、台車本体の上側に取り付けられた天板とを備えているものが知られている。天板は、例えば、台車本体の中央に配置される中央天板と、中央天板の両側に配置される補助天板とで構成されている。
しかしながら、上記台車の場合、格子状の台車本体の部品点数が多く、それに伴って組立工数も多くなるため、製造コストを抑えるのが難しい。
【0003】
また、その他の運搬台車として、中央天板をそれ自体の強度が高くなる構造にするともに、中央天板を他の構成部品(例えば、台枠の補強材やキャスター取付板等)と連結してユニット化することにより、台車本体のサブフレームの一部または全部を省略し、組立性を向上させたものも知られている。
【先行技術文献】
【特許文献】
【0004】
特開2016-150737号公報
【発明の概要】
【発明が解決しようとする課題】
【0005】
上述した台車の中央天板は、使用に伴って損傷等が生じやすく、台車の他の部品と比べて交換頻度が高いものとなっている。
しかしながら、ユニット化された中央天板の場合、その交換に際して、他の部品と分離する必要があり、また、台車を裏返した状態での作業が必要になる事があるため、交換の作業性に問題があった。
【0006】
この発明は、上記の課題を解決するためになされたものであって、部品点数が少なくて組立性に優れている上、交換頻度が高い中央天板の交換作業を容易に行いうる台車を提供することを目的としている。
【課題を解決するための手段】
【0007】
この発明は、上記の目的を達成するために、以下の態様からなる。
【0008】
1)前後左右の外枠部材を有している台枠と、台枠の下側に設けられている複数のキャスターと、積載面を構成するように台枠に設けられている天板とを備えている台車であって、
台枠が、前後または左右の外枠部材の長さ中間部に互いに所定間隔をおいて並列状に渡し止められている2つの中間枠部材をさらに有しており、
天板が、2つの中間枠部材どうしの間に配置固定されている中央天板を有しており、
中央天板は、台車の上面側から単独で着脱可能に設けられていることを特徴とする、台車。
【0009】
2)中央天板が、上面が積載面となされる頂壁部と、頂壁部の両側縁から下方にのびる2つの側壁部とを有しており、
2つの中間枠部材が、中央天板の各側壁部の外面に沿いうる垂直壁部をそれぞれ有しており、
中央天板の2つの側壁部が2つの中間枠部材の垂直壁部に着脱自在に取り付けられている、上記1)の台車。
【0010】
3)複数のキャスターが、平面より見て中央天板と交差するように左右または前後の外枠部材の下側に渡し止められたキャスター取付板に取り付けられており、
中央天板が、頂壁部の幅中間部分から2つの側壁部と平行をなすように下方にのびている中間垂下壁部をさらに有しており、
中央天板の中間垂下壁部の下端縁に、キャスター取付板の上面に当接させられる水平な下フランジ部が設けられている、上記2)の台車。
(【0011】以降は省略されています)
この特許をJ-PlatPat(特許庁公式サイト)で参照する
関連特許
長谷川工業株式会社
台車
13日前
個人
カート
4か月前
個人
走行装置
5か月前
個人
台車
今日
個人
三輪バイク
28日前
個人
乗り物
6か月前
個人
電動走行車両
5か月前
個人
電動モビリティ
8か月前
個人
折り畳み自転車
11か月前
個人
発音装置
8か月前
個人
閂式ハンドル錠
5か月前
個人
自転車用歩数計
1か月前
個人
駐輪設備
2か月前
個人
ボギー・フレーム
3か月前
個人
三輪電動車両
1か月前
個人
ルーフ付きトライク
2か月前
個人
ルーフ付きトライク
3か月前
個人
自由方向乗車自転車
8か月前
個人
“zen-go.”
3か月前
個人
体重掛けリフト台車
12か月前
個人
パワーアシスト自転車
3か月前
個人
キャンピングトライク
10か月前
井関農機株式会社
作業車両
21日前
個人
車の室内高温防止屋根
14日前
個人
ステアリングの操向部材
10か月前
株式会社三五
リアサブフレーム
11か月前
株式会社豊田自動織機
産業車両
5か月前
個人
フロントフットブレーキ。
5か月前
豊田鉄工株式会社
小型車両
4か月前
学校法人千葉工業大学
車両
11か月前
個人
ホイールハブ駆動構造
5か月前
学校法人千葉工業大学
車両
11か月前
個人
乗用自動車のディフューザー
1か月前
学校法人千葉工業大学
車両
11か月前
個人
折り畳み作業机搭載の変型台車
2か月前
個人
自転車の駐輪場システム
7か月前
続きを見る
他の特許を見る