TOP
|
特許
|
意匠
|
商標
特許ウォッチ
Twitter
他の特許を見る
10個以上の画像は省略されています。
公開番号
2025151872
公報種別
公開特許公報(A)
公開日
2025-10-09
出願番号
2024053491
出願日
2024-03-28
発明の名称
エンジンの燃焼室構造
出願人
マツダ株式会社
代理人
弁理士法人三協国際特許事務所
主分類
F02B
23/10 20060101AFI20251002BHJP(燃焼機関;熱ガスまたは燃焼生成物を利用する機関設備)
要約
【課題】燃焼変動を抑制でき且つ熱効率を高めることのできるエンジンの燃焼室構造を提供する。
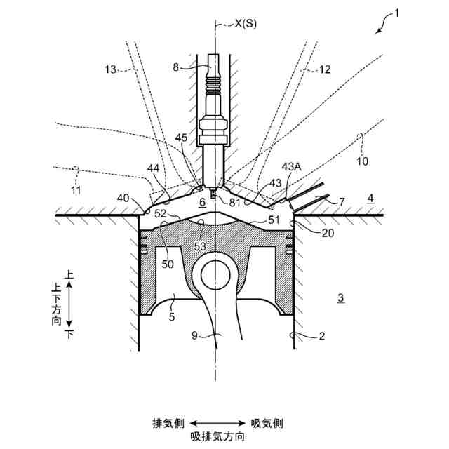
【解決手段】ピストン5の冠面50の中央部に下方に凹むキャビティ53を形成し、燃焼室6の天井面40のキャビティ53と対向する部分に、上方に凹む凹部45を形成するとともに、点火プラグ8を、その先端に設けられた電極部81が凹部45の底面から燃焼室6を臨むように配設する。燃焼室6において吸気ポート10が配設される側を吸気側、排気ポート11が配設される側を排気側とするとき、凹部45に、点火プラグ8に対して吸気側に位置する吸気側凹部46と、排気側に位置する排気側凹部47とを設け、排気側凹部47の容積を、吸気側凹部46の容積よりも大きくする。
【選択図】図1
特許請求の範囲
【請求項1】
ピストンの冠面、前記ピストンが上下に摺動可能に収容される気筒の周面、およびシリンダヘッドに形成されたペントルーフ型の天井面によって区画される燃焼室と、当該燃焼室に形成された燃料と空気の混合気に点火を行う点火プラグとを備えたエンジンの燃焼室構造であって、
前記燃焼室の天井面には、前記燃焼室に空気を導入するための吸気ポートおよび前記燃焼室から排ガスを導出するための排気ポートが開口しており、
前記ピストンの冠面の中央部には下方に凹むキャビティが形成されており、
前記燃焼室の天井面の前記キャビティと対向する部分には、上方に凹む凹部が形成されており、
前記点火プラグは、その先端に設けられた電極部が前記凹部の底面から前記燃焼室を臨むように配設されており、
前記燃焼室において前記吸気ポートが配設される側を吸気側、前記排気ポートが配設される側を排気側とするとき、前記凹部は、前記点火プラグに対して吸気側に位置する吸気側凹部と、排気側に位置する排気側凹部とを含み、
前記排気側凹部の容積は、前記吸気側凹部の容積よりも大きい、ことを特徴とするエンジンの燃焼室構造。
続きを表示(約 540 文字)
【請求項2】
請求項1に記載のエンジンの燃焼室構造において、
前記凹部は、吸排気方向の沿ってみたときに排気側の端部を通る接線の方が吸気側の端部を通る接線よりも鉛直に近い形状に形成されている、ことを特徴とするエンジンの燃焼室構造。
【請求項3】
請求項1に記載のエンジンの燃焼室構造において、
前記凹部の排気側の端部の高さ位置は、前記凹部の吸気側の端部の高さ位置よも低い、ことを特徴とするエンジンの燃焼室構造。
【請求項4】
請求項1に記載のエンジンの燃焼室構造において、
前記キャビティは、前記点火プラグの電極部と上下方向に対応する位置が最下端となる形状を有する、ことを特徴とするエンジンの燃焼室構造。
【請求項5】
請求項4に記載のエンジンの燃焼室構造において、
前記点火プラグは、前記燃焼室の天井面の中心よりも排気側に位置している、ことを特徴とするエンジンの燃焼室構造。
【請求項6】
請求項1~5のいずれか1項に記載のエンジンの燃焼室構造において、
上下方向に沿ってみた状態で、前記凹部は、その全体が前記キャビティの内側に位置する、ことを特徴とするエンジンの燃焼室構造。
発明の詳細な説明
【技術分野】
【0001】
本発明は、エンジンの燃焼室構造に関する。
続きを表示(約 2,000 文字)
【背景技術】
【0002】
下記特許文献1に開示されているように、車両等に設けられるエンジンでは、燃焼室の天井面をペントルーフ型にして燃焼室にタンブル流を形成することが行われている。燃焼室にタンブル流を形成し、且つ、これを混合気の燃焼が開始する圧縮上死点付近まで維持できれば、混合気の燃焼が促進されて熱効率が向上する。
【0003】
特許文献1の燃焼室構造では、シリンダヘッドに、燃焼室の上面を構成するペントルーフ面が設けられるとともに点火プラグ(点火栓)が取り付けられている。また、この構造では、燃焼室の天井面のうち点火プラグに対してタンブル流の上流側つまり吸排気方向の吸気側の部分に凹部が形成されている。
【先行技術文献】
【特許文献】
【0004】
国際公開第2019/197860号
【発明の概要】
【発明が解決しようとする課題】
【0005】
前記特許文献1の燃焼室構造では、凹部に沿う流れが形成されることで、タンブル流の中心が点火プラグよりも吸気側となる。つまり、点火プラグが、タンブル流の中心からずれた位置であって吸気の流れが変化しやすい位置に設置されている。そのため、点火プラグ周りで生じる初期火炎の形成具合ひいては燃焼状態がばらつきやすく、燃焼サイクル間での燃焼変動が大きくなるおそれがある。また、初期火炎が、中心より外側の比較的流速の早い流れに乗って広がることで、当該火炎が燃焼室の壁面に接触しやすく冷却損失が増大して熱効率が低くなるおそれがある。
【0006】
本発明は、上記のような事情に鑑みてなされたものであり、燃焼変動を抑制でき且つ熱効率を高めることのできるエンジンの燃焼室構造を提供することを目的とする。
【課題を解決するための手段】
【0007】
上記課題を解決するためのものとして、本発明の燃焼室構造は、ピストンの冠面、前記ピストンが上下に摺動可能に収容される気筒の周面、およびシリンダヘッドに形成されたペントルーフ型の天井面によって区画される燃焼室と、当該燃焼室に形成された燃料と空気の混合気に点火を行う点火プラグとを備えたエンジンの燃焼室構造であって、前記燃焼室の天井面には、前記燃焼室に空気を導入するための吸気ポートおよび前記燃焼室から排ガスを導出するための排気ポートが開口しており、前記ピストンの冠面の中央部には下方に凹むキャビティが形成されており、前記燃焼室の天井面の前記キャビティと対向する部分には、上方に凹む凹部が形成されており、前記点火プラグは、その先端に設けられた電極部が前記凹部の底面から前記燃焼室を臨むように配設されており、前記燃焼室において前記吸気ポートが配設される側を吸気側、前記排気ポートが配設される側を排気側とするとき、前記凹部は、前記点火プラグに対して吸気側に位置する吸気側凹部と、排気側に位置する排気側凹部とを含み、前記排気側凹部の容積は、前記吸気側凹部の容積よりも大きい、ことを特徴とする。
【0008】
本発明では、ピストンの冠面にキャビティが形成され、且つ、これと対向する位置の天井面に凹部が形成されるとともに、凹部が、点火プラグの吸気側と排気側との双方に設けられている。そのため、圧縮上死点付近においても、キャビティと凹部に沿って吸気を旋回させてタンブル流を維持できる。しかも、点火プラグに対して排気側に位置する排気側凹部の容積の方が、吸気側に位置する吸気側凹部の容積よりも大きくされている。そのため、点火プラグの排気側において、タンブル流に乗り燃焼室の天井面に沿って排気側に向かうガスの多くを下方に案内でき、且つ、点火プラグの吸気側においてタンブル流に乗り燃焼室の底面から上方に向かいその後天井面に沿って排気側に向かうガスの量を少なく抑えることができる。すなわち、タンブル流のうち吸気側から排気側に向かう流れが過度に強くなるのを抑制でき、タンブル流の中心が点火プラグの電極部に対して排気側にずれるのを抑制して点火プラグの電極部とタンブル流の中心とを近づけることができる。これより、本発明によれば、圧縮上死点付近までタンブル流を維持しながら、初期火炎をタンブル流の中心近傍であって吸気流動が比較的小さい領域に形成でき、燃焼変動を抑制できるとともに初期火炎と燃焼室壁面との接触を抑制して熱効率を高めることができる。
【0009】
上記構成において、好ましくは、前記凹部は、吸排気方向の沿ってみたときに排気側の端部を通る接線の方が吸気側の端部を通る接線よりも鉛直に近い形状に形成されている(請求項2)。
【0010】
この構成によれば、燃焼室の天井面に沿って排気側に向かうガスの多くを、凹部の排気側の部分つまり排気側凹部によって、より確実に下方に案内できる。
(【0011】以降は省略されています)
この特許をJ-PlatPat(特許庁公式サイト)で参照する
関連特許
マツダ株式会社
エンジン
29日前
マツダ株式会社
車載機器
28日前
マツダ株式会社
二次電池
28日前
マツダ株式会社
二次電池
28日前
マツダ株式会社
排気システム
1か月前
マツダ株式会社
運転支援装置
28日前
マツダ株式会社
排気システム
1か月前
マツダ株式会社
車体後部構造
1日前
マツダ株式会社
運転支援装置
28日前
マツダ株式会社
運転支援装置
28日前
マツダ株式会社
車両の前部構造
28日前
マツダ株式会社
インバータ装置
29日前
マツダ株式会社
インバータ装置
29日前
マツダ株式会社
インバータ装置
29日前
マツダ株式会社
インバータ装置
29日前
マツダ株式会社
車両の上部構造
8日前
マツダ株式会社
バッテリユニット
今日
マツダ株式会社
バッテリユニット
今日
マツダ株式会社
エンジンの制御装置
29日前
マツダ株式会社
二次電池の制御装置
28日前
マツダ株式会社
二次電池の制御装置
1か月前
マツダ株式会社
エンジンの燃焼室構造
29日前
マツダ株式会社
自動変速機の油路構造
29日前
マツダ株式会社
エンジンの燃焼室構造
29日前
マツダ株式会社
被覆金属材の試験方法
29日前
マツダ株式会社
バッテリ温度制御システム
28日前
マツダ株式会社
車両のパワートレイン構造
29日前
マツダ株式会社
車両のパワートレイン構造
29日前
マツダ株式会社
車両のパワートレイン構造
28日前
マツダ株式会社
車両のパワートレイン構造
29日前
マツダ株式会社
車両の合流位置評価装置及び方法
28日前
マツダ株式会社
車両の合流位置評価装置及び方法
28日前
マツダ株式会社
車両の合流位置評価装置及び方法
28日前
マツダ株式会社
車両の合流位置評価装置及び方法
28日前
マツダ株式会社
車載エンジンのCO2回収システム
28日前
マツダ株式会社
車載エンジンのCO2回収システム
28日前
続きを見る
他の特許を見る