TOP
|
特許
|
意匠
|
商標
特許ウォッチ
Twitter
他の特許を見る
公開番号
2025152878
公報種別
公開特許公報(A)
公開日
2025-10-10
出願番号
2024055048
出願日
2024-03-28
発明の名称
車載エンジンのCO2回収システム
出願人
マツダ株式会社
代理人
弁理士法人前田特許事務所
主分類
F01N
3/08 20060101AFI20251002BHJP(機械または機関一般;機関設備一般;蒸気機関)
要約
【課題】熱交換器の大型化を招くことなく、CO
2
吸着材の吸着効率を向上させる。
【解決手段】CO
2
回収システムSは、排気触媒23の下流に配置された第1熱交換器24と、第1熱交換器24の下流に配置された第1気水分離器25と、第1気水分離器25の下流に配置され、高圧時及び低温時の少なくとも一方に際しては排気ガス中のCO
2
を吸着し、低圧時及び高温時の少なくとも一方に際しては吸着したCO
2
を脱離するCO
2
吸着材271と、CO
2
吸着材271の下流に配置され、該CO2吸着材271から脱離させたCO
2
を含んだCO
2
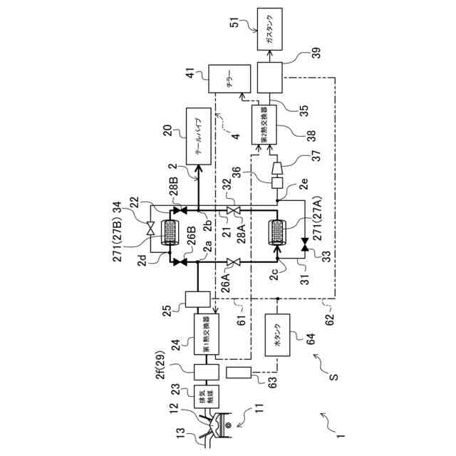
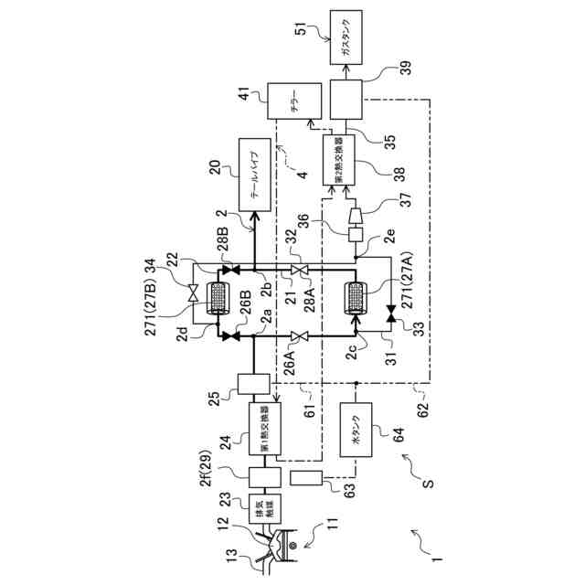
含有ガスを流入させるガス貯蔵タンク51と、第1気水分離器25によって分離させた凝縮水が流入する第1流通管61と、第1流通管61に接続され、第1熱交換器24上流に位置する排気管2の外面2fに凝縮水を噴射する水インジェクタ63と、を備える。
【選択図】図2
特許請求の範囲
【請求項1】
車載エンジンのシリンダと、排気管の下流端との間に配置され、前記シリンダから排出された排気ガスを流通させるとともに、該排気ガス中のCO
2
を回収する車載エンジンのCO
2
回収システムであって、
排気触媒の下流に配置され、該排気触媒を通過した後の排気ガスから受熱するように、該排気ガスと熱交換媒体との間で熱交換を行う第1熱交換器と、
前記第1熱交換器の下流に配置され、前記排気ガス中に生じた凝縮水を、該排気ガスから分離させる第1気水分離器と、
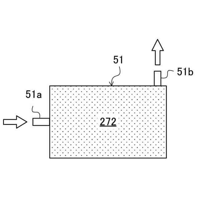
前記第1気水分離器の下流に配置され、高圧時及び低温時の少なくとも一方に際しては排気ガス中のCO
2
を吸着し、低圧時及び高温時の少なくとも一方には吸着したCO
2
を脱離するCO
2
吸着材と、
前記CO
2
吸着材の下流に配置され、該CO2吸着材から脱離させたCO
2
を含んだCO
2
含有ガスを流入させるガス貯蔵タンクと、
前記第1気水分離器によって分離させた凝縮水が流入する第1流通管と、
前記第1流通管に接続され、前記第1熱交換器上流に位置する前記排気管の外面に凝縮水を噴射する水インジェクタと、を備える
ことを特徴とする車載エンジンのCO
2
回収システム。
続きを表示(約 830 文字)
【請求項2】
請求項1に記載された車載エンジンのCO
2
回収システムにおいて、
前記CO
2
吸着材から前記ガス貯蔵タンクに至る途中に配置され、前記CO
2
含有ガスから受熱するように、該ガスと熱交換媒体との間で熱交換を行う第2熱交換器と、
前記第2熱交換器の下流かつ前記ガス貯蔵タンクの上流に配置され、前記CO
2
含有ガス中に生じた凝縮水を、該CO
2
含有ガスから分離させる第2気水分離器と、
前記第2気水分離器によって分離させた凝縮水が流入する第2流通管と、を備え、
前記第2流通管は、前記水インジェクタへと凝縮水を送り込むように、前記水インジェクタに接続されている
ことを特徴とする車載エンジンのCO
2
回収システム。
【請求項3】
請求項1に記載された車載エンジンのCO
2
回収システムにおいて、
前記排気管は、前記第1熱交換器上流に位置し、かつ前記水インジェクタの噴射口に向かい合うように配置された外面を有する特定部位を備え、
前記特定部位の外面は、該外面の表面積を拡大するように、排気ガスの流れ方向に対して外方に突出した複数のフィンを有し、
前記水インジェクタの噴射口は、前記複数のフィンに対して向かい合うように配置されている
ことを特徴とする車載エンジンのCO
2
回収システム。
【請求項4】
請求項3に記載された車載エンジンのCO
2
回収システムにおいて、
前記特定部位は、排気ガスを並列に流通させる複数の排気管部に分岐し、
前記複数の排気管部は、それぞれ、前記複数のフィンを有している
ことを特徴とする車載エンジンのCO
2
回収システム。
発明の詳細な説明
【技術分野】
【0001】
本開示は、車載エンジンのCO
2
回収システムに関する。
続きを表示(約 1,900 文字)
【背景技術】
【0002】
例えば特許文献1には、内燃機関のCO
2
分離装置が開示されている。この装置は、CO
2
吸着材と、CO
2
吸着材の上流側に配置されたインジェクタと、種々の制御を実行する制御手段と、を備えている。ここで、CO
2
吸着材は、排気ガス中のCO
2
を低温時に吸着するとともに、吸着したCO
2
を高温時に脱離する。インジェクタは、吸着反応用の水を添加する。
【0003】
前記特許文献1によると、同文献に係る制御手段は、CO
2
吸着材からCO
2
を脱離させるときに、水添加手段からCO
2
吸着材に水を添加する水添加制御を実行する。特許文献1によれば、CO
2
吸着材に水を吸着させることで、その反応熱によってCO
2
吸着材を昇温し、CO
2
吸着材からのCO
2
の脱離を良好にすることができる。
【先行技術文献】
【特許文献】
【0004】
特開2022-152077号公報
【発明の概要】
【発明が解決しようとする課題】
【0005】
ところで、前記特許文献1に記載されているようなCO
2
吸着材を用いた場合、CO
2
の吸着効率を向上させるためには、CO
2
吸着材に至る排気ガスから、可能な限り水分を除去すれば好都合となる。
【0006】
そのための方策としては、CO
2
吸着材の上流に配置される熱交換器を、従来よりも大型化すること考えられる。しかしながら、一般的な車載エンジンの場合、熱交換器の大型化に耐え得るスペースを用意するのは、容易ではない。また、熱交換器のレイアウトの自由度という観点からも、熱交換器の大型化は不都合なものとなる。
【0007】
本開示は、かかる点に鑑みてなされたものであり、その目的とするところは、熱交換器の大型化を招くことなく、CO
2
吸着材の吸着効率を向上させることにある。
【課題を解決するための手段】
【0008】
本開示の第1の態様は、車載エンジンのシリンダと、排気管の下流端との間に配置され、前記シリンダから排出された排気ガスを流通させるとともに、該排気ガス中のCO
2
を回収する車載エンジンのCO
2
回収システムに係る。
【0009】
そして、前記第1の態様によれば、前記CO
2
回収システムは、排気触媒の下流に配置され、該排気触媒を通過した後の排気ガスから受熱するように、該排気ガスと熱交換媒体との間で熱交換を行う第1熱交換器と、前記第1熱交換器の下流に配置され、前記排気ガス中に生じた凝縮水を、該排気ガスから分離させる第1気水分離器と、前記第1気水分離器の下流に配置され、高圧時及び低温時の少なくとも一方に際しては排気ガス中のCO
2
を吸着し、低圧時及び高温時の少なくとも一方に際しては吸着したCO
2
を脱離するCO
2
吸着材と、前記CO
2
吸着材の下流に配置され、該CO2吸着材から脱離させたCO
2
を含んだCO
2
含有ガスを流入させるガス貯蔵タンクと、前記第1気水分離器によって分離させた凝縮水が流入する第1流通管と、前記第1流通管に接続され、前記第1熱交換器上流に位置する前記排気管の外面に凝縮水を噴射する水インジェクタと、を備える。
【0010】
前記第1の態様によると、コントローラは、水インジェクタから凝縮水を噴射させる。その凝縮水は、第1熱交換器上流に位置する前記排気管の外面に噴射されることになる。これにより、凝縮水によって、第1熱交換器を通過する直前の排気ガスを、事前に冷却することができる。排気ガスを事前に冷却しておくことで、その排気ガスに含まれる水分を凝縮によって除去することができる。その結果、CO
2
吸着材によるCO
2
の吸着を促すことができる。これにより、熱交換器を大型化せずとも、CO
2
吸着材の吸着効率を向上させることができる。
(【0011】以降は省略されています)
この特許をJ-PlatPat(特許庁公式サイト)で参照する
関連特許
マツダ株式会社
二次電池
1か月前
マツダ株式会社
二次電池
1か月前
マツダ株式会社
車載機器
1か月前
マツダ株式会社
回転電機
6日前
マツダ株式会社
運転支援装置
1か月前
マツダ株式会社
運転支援装置
1か月前
マツダ株式会社
車体後部構造
28日前
マツダ株式会社
運転支援装置
1か月前
マツダ株式会社
車両の下部構造
6日前
マツダ株式会社
車両の前部構造
7日前
マツダ株式会社
車両の下部構造
8日前
マツダ株式会社
車両の上部構造
1か月前
マツダ株式会社
車両の前部構造
7日前
マツダ株式会社
車両の前部構造
1か月前
マツダ株式会社
車両の下部構造
6日前
マツダ株式会社
車両の下部構造
8日前
マツダ株式会社
バッテリ冷却構造
14日前
マツダ株式会社
バッテリ冷却構造
14日前
マツダ株式会社
バッテリユニット
27日前
マツダ株式会社
バッテリユニット
27日前
マツダ株式会社
車両用フレーム部材
7日前
マツダ株式会社
車両用フレーム部材
7日前
マツダ株式会社
二次電池の制御装置
1か月前
マツダ株式会社
車両の状態量検出装置
1日前
マツダ株式会社
塗布方法及び塗布装置
14日前
マツダ株式会社
運転者の覚醒維持装置
7日前
マツダ株式会社
車両のパワートレイン構造
1か月前
マツダ株式会社
車両のパワートレイン構造
1か月前
マツダ株式会社
車両のパワートレイン構造
1か月前
マツダ株式会社
車両のパワートレイン構造
1か月前
マツダ株式会社
バッテリ温度制御システム
1か月前
マツダ株式会社
車両の合流位置評価装置及び方法
1か月前
マツダ株式会社
車両の合流位置評価装置及び方法
1か月前
マツダ株式会社
車両の合流位置評価装置及び方法
1か月前
マツダ株式会社
車両の合流位置評価装置及び方法
1か月前
マツダ株式会社
車両のドア構造およびその製造方法
1か月前
続きを見る
他の特許を見る