TOP
|
特許
|
意匠
|
商標
特許ウォッチ
Twitter
他の特許を見る
10個以上の画像は省略されています。
公開番号
2025152451
公報種別
公開特許公報(A)
公開日
2025-10-09
出願番号
2024054354
出願日
2024-03-28
発明の名称
車両のパワートレイン構造
出願人
マツダ株式会社
代理人
弁理士法人三協国際特許事務所
主分類
B60K
1/00 20060101AFI20251002BHJP(車両一般)
要約
【課題】車両衝突時における安全性を確保することことができる車両のパワートレイン構造を提供する。
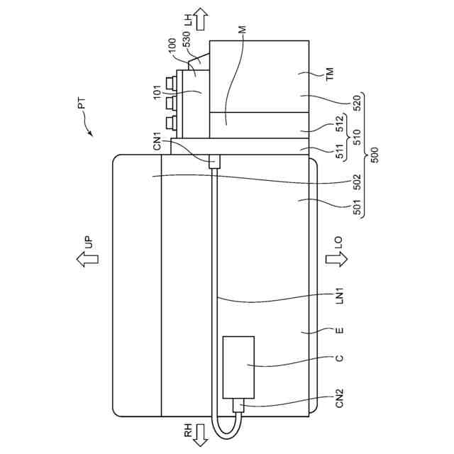
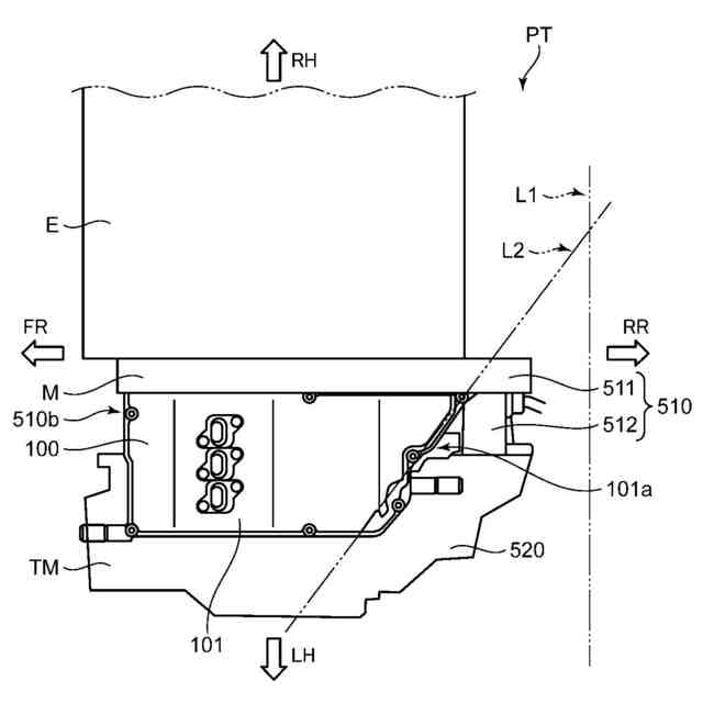
【解決手段】車両は、駆動装置とバッテリとインバータとを備える。駆動装置は、車両走行用のモータMと、導電性材料からなるモータハウジング510とを有する。バッテリハウジング510の後壁部510dには、バッテリから延びる配線が接続されるDCコネクタCN8が配設されている。モータハウジング510の内方には、DCコネクタCN8とインバータの回路部とを接続するDCバスバLN2と、DCコネクタCN8と車両に搭載される電動コンプレッサとの間を接続する補機配線LN3とが収容されている。DCバスバLN2から補機配線LN3が分岐するジャンクションボックスは、モータMのステータ514およびロータが収容されたモータ収容空間部510aよりも後方の後方空間部510bに配置されている。
【選択図】図4
特許請求の範囲
【請求項1】
車両の前部に搭載されるとともに、前記車両の走行用の駆動源としてのモータと、少なくとも前記モータを収容する駆動装置ハウジングとを有する駆動装置と、
前記モータの電力源としてのバッテリと、
前記車両の前部に搭載されるとともに、前記モータと前記バッテリとの間で電力変換する回路部と、前記回路部を収容する変換装置ハウジングとを有する電力変換装置と、
を備え、
前記車両には、前記バッテリからの電力によって作動する補機が搭載されており、
前記変換装置ハウジングは、前記駆動装置ハウジングに対して密に接合、または、前記駆動装置ハウジングと一体に設けられており、
前記駆動装置ハウジングにおける後側の壁部には、前記バッテリから延びる配線が接続される電源コネクタが配設されており、
前記駆動装置ハウジングにおける内方には、前記電源コネクタと前記回路部とを接続する変換装置配線と、前記電源コネクタと前記補機との間を接続する補機配線と、が収容され、
前記変換装置配線から前記補機配線が分岐する分岐部は、前記駆動装置ハウジング内における前記モータよりも後方の部分に配置されている、
車両のパワートレイン構造。
続きを表示(約 1,100 文字)
【請求項2】
前記補機配線は、横断面での導電部の断面積が、前記変換装置配線における横断面での導電部の断面積よりも小さくなるように形成されている、
請求項1に記載の車両のパワートレイン構造。
【請求項3】
前記バッテリは、前記駆動装置よりも前記車両の後方側に搭載されている、
請求項1に記載の車両のパワートレイン構造。
【請求項4】
前記車両は、前記モータを含むパワートレインから出力される走行用の駆動力を車輪に伝達する出力軸を備え、
前記出力軸は、前記駆動装置ハウジングにおける前記モータよりも後方の部分を車幅方向に挿通するように配設されており、
前記分岐部は、前記出力軸の近傍であって、前記出力軸の外周における後端と前後方向で同位置、または前記後端よりも前方側に配置されている、
請求項1に記載の車両のパワートレイン構造。
【請求項5】
前記駆動装置ハウジングにおける前記モータを収容する部分は、ともに皿形状を有する2つのハウジング要素を有するとともに、当該2つのハウジング要素の開口縁同士が接合されて構成されており、
前記モータの回転軸に対して直交する方向において、前記2つのハウジング要素の内の一方のハウジング要素は、他方のハウジング要素よりも大径に形成されており、
前記変換装置ハウジングは、前記駆動装置ハウジングとは別体で設けられているとともに、前記一方のハウジング要素に対して車幅方向に隣接し、且つ、前記他方のハウジング要素の上に載置されている、
請求項1から請求項4の何れかに記載の車両のパワートレイン構造。
【請求項6】
前記一方のハウジング要素には、後方側に前記電力変換装置とのDC接続部が設けられ、且つ、前方側に前記電力変換装置とのAC接続部が設けられているとともに、内方の空間に前記AC接続部と前記モータとを接続するモータ接続線が収容されており、
前記補機配線は、前記分岐部から前記一方のハウジング要素の内方を前方に延びるとともに、前記モータ接続線に対して電気的絶縁が図られた状態で立体交差するように配策されている、
請求項5に記載の車両のパワートレイン構造。
【請求項7】
前記補機配線は、被覆線で構成されている、
請求項6に記載の車両のパワートレイン構造。
【請求項8】
前記駆動装置ハウジングおよび前記変換装置ハウジングは、ともに導電性材料を用いて形成されており、
前記変換装置配線における前記分岐部よりも前記回路部の側の箇所には、ノイズフィルタ部品が介挿されている、
請求項1から請求項4の何れかに記載の車両のパワートレイン構造。
発明の詳細な説明
【技術分野】
【0001】
本発明は、車両のパワートレイン構造に関し、特にバッテリからの電力をモータと補機とに供給する電力供給路を有するパワートレイン構造に関する。
続きを表示(約 2,000 文字)
【背景技術】
【0002】
近年では、モータを走行用の駆動源として備える車両が増加している。このような車両には、モータに電力供給するためのバッテリが搭載されている。モータを走行用の駆動源として備える車両の駆動装置が特許文献1に開示されている。
【0003】
特許文献1に開示の車両用駆動装置は、走行用の駆動源としてのモータと、当該モータを収容するケースと、ケース内にモータとともに収容される電動ポンプとを備える。特許文献1に開示の車両用駆動装置では、ケースの上部に開口部が設けられるとともに、当該開口部が蓋体で塞がれた構成が採用されている。
【0004】
特許文献1に開示の車両用駆動装置では、蓋体にバッテリとの接続に供される電源コネクタが設けられている。ケース内においては、電源コネクタに接続された配線が分岐されている。分岐された一方の配線は、第1インバータを介してモータに接続されている。分岐されたもう一方の配線は、第2インバータを介して電動ポンプの電動機に接続されている。
【先行技術文献】
【特許文献】
【0005】
特許第6070444号公報
【発明の概要】
【発明が解決しようとする課題】
【0006】
しかしながら、上記特許文献1に開示の技術では、車両衝突時における安全性の確保が難しいと考えられる。具体的に、特許文献1に開示の車両用駆動装置では、ケースの上部に配される蓋体に電源コネクタが設けられており、当該電源コネクタを介してバッテリとの接続が図られている。車両走行用のモータに接続されるバッテリは、従来から用いられてきた鉛バッテリ等に比べて高電圧の電力を出力する。よって、特許文献1に開示の車両用駆動装置では、電源、コネクタ、およびこれに接続される配線の配線携帯によっては、車両衝突時に電源コネクタおよびこれに接続される配線が損傷し易くなることから、安全性の確保が難しいと考えられる。また、ケース外のDC配線が長くなり易い。
【0007】
本発明は、上記のような問題の解決を図ろうとなされたものであって、車両衝突時における安全性を確保することことができる車両のパワートレイン構造を提供することを目的とする。
【課題を解決するための手段】
【0008】
本発明の一態様に係る車両のパワートレイン構造は、車両の前部に搭載されるとともに、前記車両の走行用の駆動源としてのモータと、少なくとも前記モータを収容する駆動装置ハウジングとを有する駆動装置と、前記モータの電力源としてのバッテリと、前記車両の前部に搭載されるとともに、前記モータと前記バッテリとの間で電力変換する回路部と、前記回路部を収容する変換装置ハウジングとを有する電力変換装置と、を備える。前記車両には、前記バッテリからの電力によって作動する補機が搭載されている。そして、本態様に係る車両のパワートレイン構造において、前記変換装置ハウジングは、前記駆動装置ハウジングに対して密に接合、または、前記駆動装置ハウジングと一体に設けられており、前記駆動装置ハウジングにおける後側の壁部には、前記バッテリから延びる配線が接続される電源コネクタが配設されており、前記駆動装置ハウジングにおける内方には、前記電源コネクタと前記回路部とを接続する変換装置配線と、前記電源コネクタと前記補機との間を接続する補機配線と、が収容されている。前記変換装置配線から前記補機配線が分岐する分岐部は、前記駆動装置ハウジングにおける前記モータよりも後方の部分に配置されている。
【0009】
上記態様に係る車両のパワートレイン構造では、車両の前部に駆動装置が搭載されているとともに、電源コネクタが駆動装置ハウジングにおける後側(車両前後方向における後側)の壁部に配設されている。このため、車両が前突したような場合にも、車両の前部における駆動装置が搭載された部分に対して障害物が進入してきても、当該障害物やそれに押されて後方に移動する車両の部材などによって電源コネクタが損傷するのを抑制することができる。即ち、モータなどを収容する駆動装置ハウジングは、比較的高い剛性を有するので、前突時において電源コネクタを保護する保護部材として機能することになる。
【0010】
また、上記態様に係る車両のパワートレイン構造では、駆動装置ハウジングの内方に変換装置配線と補機配線とが収容されるとともに、分岐部が駆動装置ハウジング内におけるモータよりも後方の部分に配置されている。このため、車両が前突したような場合にも、駆動装置ハウジングおよびモータ(ステータおよびロータ)が、変換装置配線、補機配線、および分岐部を保護する保護部材として機能する。
(【0011】以降は省略されています)
この特許をJ-PlatPat(特許庁公式サイト)で参照する
関連特許
マツダ株式会社
エンジン
27日前
マツダ株式会社
二次電池
26日前
マツダ株式会社
二次電池
26日前
マツダ株式会社
車載機器
26日前
マツダ株式会社
排気システム
28日前
マツダ株式会社
排気システム
28日前
マツダ株式会社
運転支援装置
26日前
マツダ株式会社
運転支援装置
26日前
マツダ株式会社
運転支援装置
26日前
マツダ株式会社
インバータ装置
27日前
マツダ株式会社
車両の前部構造
26日前
マツダ株式会社
インバータ装置
27日前
マツダ株式会社
インバータ装置
27日前
マツダ株式会社
インバータ装置
27日前
マツダ株式会社
車両の上部構造
6日前
マツダ株式会社
二次電池の制御装置
28日前
マツダ株式会社
車両の下部車体構造
1か月前
マツダ株式会社
車両の下部車体構造
29日前
マツダ株式会社
バッテリの制御装置
29日前
マツダ株式会社
車両の下部車体構造
1か月前
マツダ株式会社
二次電池の制御装置
26日前
マツダ株式会社
車両の下部車体構造
1か月前
マツダ株式会社
車両の下部車体構造
1か月前
マツダ株式会社
車両の下部車体構造
1か月前
マツダ株式会社
車両の下部車体構造
1か月前
マツダ株式会社
エンジンの制御装置
27日前
マツダ株式会社
バッテリ状態推定装置
29日前
マツダ株式会社
自動変速機の油路構造
27日前
マツダ株式会社
車両運転支援システム
1か月前
マツダ株式会社
エンジンの燃焼室構造
27日前
マツダ株式会社
被覆金属材の試験方法
27日前
マツダ株式会社
エンジンの燃焼室構造
27日前
マツダ株式会社
車両のパワートレイン構造
27日前
マツダ株式会社
車両のパワートレイン構造
27日前
マツダ株式会社
車両のパワートレイン構造
27日前
マツダ株式会社
車両のパワートレイン構造
26日前
続きを見る
他の特許を見る