TOP
|
特許
|
意匠
|
商標
特許ウォッチ
Twitter
他の特許を見る
公開番号
2025159582
公報種別
公開特許公報(A)
公開日
2025-10-21
出願番号
2024062267
出願日
2024-04-08
発明の名称
断熱扉
出願人
フクシマガリレイ株式会社
代理人
個人
主分類
F25D
23/02 20060101AFI20251014BHJP(冷凍または冷却;加熱と冷凍との組み合わせシステム;ヒートポンプシステム;氷の製造または貯蔵;気体の液化または固体化)
要約
【課題】断熱扉の前面に水が付着するような環境においても、断熱扉の前面を流下した水が、同扉の下面に回り込むのを確実に防ぐ。
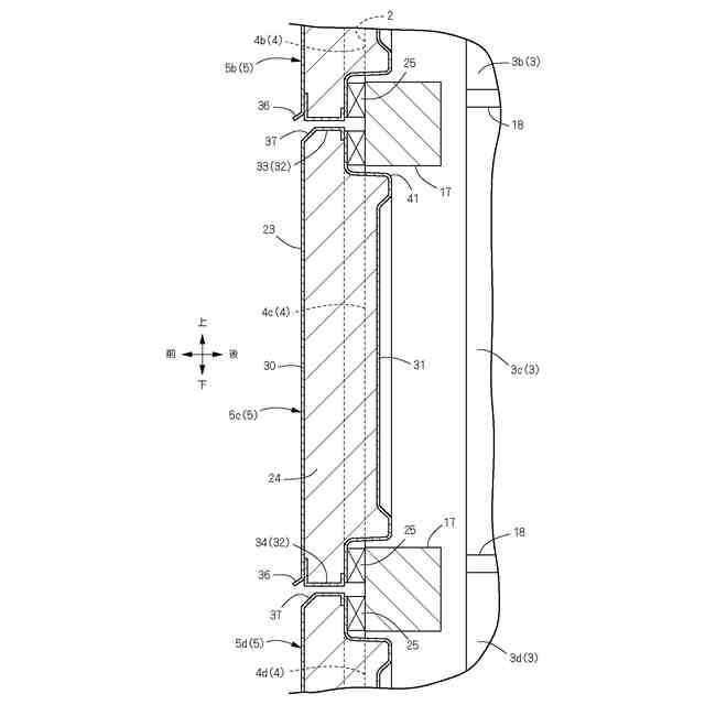
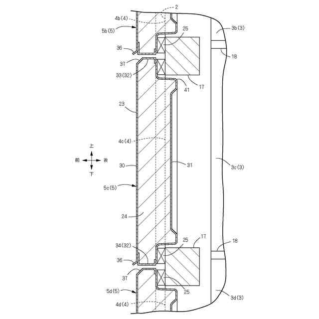
【解決手段】本発明の断熱扉は、前後に扁平な中空四角箱状の外殻体23と、該外殻体23の内部に収容される断熱材24とを備えている。外殻体23は、外殻体23の前面を区画する前壁30と、外殻体23の後面を区画する後壁31と、外殻体23の上下面及び左右面を区画する四周壁32と、外殻体23の前面下部に設けられて、受け止めた水を前壁30よりも前方側へ案内して滴下させる水切り壁36とを含む。前記水切り壁36は、前壁30の左右端にわたって設けるとともに、前壁30の下端に連続して前方へ向かって下り傾斜するように前壁30と一体に形成する。
【選択図】図1
特許請求の範囲
【請求項1】
前後に扁平な中空四角箱状の外殻体(23)と、該外殻体(23)の内部に収容される断熱材(24)とを備えており、
外殻体(23)は、外殻体(23)の前面を区画する前壁(30)と、外殻体(23)の後面を区画する後壁(31)と、外殻体(23)の上下面及び左右面を区画する四周壁(32)と、外殻体(23)の前面下部に設けられて、受け止めた水を前壁(30)よりも前方側へ案内して滴下させる水切り壁(36)とを含み、
水切り壁(36)が、前壁(30)の左右端にわたって設けられるとともに、前壁(30)の下端に連続して前方へ向かって下り傾斜するように前壁(30)と一体に形成されていることを特徴とする断熱扉。
続きを表示(約 450 文字)
【請求項2】
四周壁(32)は外殻体(23)の下面を区画する下壁(34)を有し、
下壁(34)の前端と前壁(30)の下端とで形成される外殻体(23)の前下角部に、入隅状の前液溜め部(43)が設けられている請求項1に記載の断熱扉。
【請求項3】
四周壁(32)は外殻体(23)の下面を区画する下壁(34)を有し、
下壁(34)の後端と後壁(31)の下端とで形成される外殻体(23)の後下角部に、入隅状の後液溜め部(44)が設けられている請求項1に記載の断熱扉。
【請求項4】
四周壁(32)は外殻体(23)の上面を区画する上壁(33)を有し、該上壁(33)は、外殻体(23)の上面に付着した水を前壁(30)へ向かって流下させる流下壁(37)を備えており、
上壁(33)の流下壁(37)が、前壁(30)の上端に連続して後方へ向かって上り傾斜するように前壁(30)と一体に形成されている請求項1から3のいずれかひとつに記載の断熱扉。
発明の詳細な説明
【技術分野】
【0001】
本発明は、貯蔵庫に適用される断熱扉に関する。本発明の断熱扉は、とくに屋外の軒下など雨滴(水)が付着するおそれのある環境に設置される貯蔵庫に適用される。
続きを表示(約 1,800 文字)
【背景技術】
【0002】
貯蔵庫に画成された貯蔵室の取出し口を揺動開閉する断熱扉は、中空箱体からなる外殻体の内部に断熱材が収容されて構成されるが、このような構成の断熱扉は例えば特許文献1に開示されている。特許文献1の断熱扉は、中空箱体からなる外郭体の内部に発泡樹脂からなる断熱材が発泡充填されている。外郭体は、その前面及び上下面を区画する外装板と、外郭体の左右面を区画する一対のキャップと、外郭体の後面を区画する内装板とで前後に扁平な中空箱体として形成される。
【0003】
本発明の断熱扉は、その前面に付着し流下した水が断熱扉の下面に回り込むのを阻止する水切りのための構造を備えるが、このような構造を備える扉は、例えば特許文献2に公知である。特許文献2に記載の扉は、屋外に設置される配電盤の扉であり、前後に扁平な扉の前面の下端に、前面を伝って扉の下部空間へ水が流れ込むのを阻止する水切板が設けられている。該水切り板は、断面略クランク状に形成されており、その上側の垂直片が扉の前面に固定されて、扉に一体的に設けられている。扉の前面に付着し流下した水は、水切り板で前方に案内され水切り板の下端から滴下される。
【先行技術文献】
【特許文献】
【0004】
特開2012-122628号公報
実願昭51-73076号(実開昭52-163742号)のマイクロフィルム
【発明の概要】
【発明が解決しようとする課題】
【0005】
屋外に設置される貯蔵庫では、断熱扉の前面に水(雨滴)が付着し、この水が断熱扉の前面を流下して下面へと回り込み、さらに断熱扉の下面を伝って後面まで至ることがある。断熱扉の後面の四周縁には、断熱扉と取出し口との隙間を封止して貯蔵室の気密を確保するパッキンが設けられており、このパッキンに水が付着すると、断熱扉を開放したときに取出し口から貯蔵室の内部に水が浸入するおそれがあり、とくに食品が貯蔵される貯蔵庫では衛生上の問題が生じる。上記のような断熱扉の下面への水の回り込みは、断熱扉に特許文献2のような水切りのための構造を設けることで防ぐことができる。しかし、特許文献2の水切板は扉とは別の部材であり、これを扉に固定するので、扉と水切板との固定部分、つまり扉前面と水切板の垂直片との間に隙間が形成されることが避けられない。両者(扉と水切り板)の間に隙間が形成されると、当該隙間を介して水が扉の下面へと回り込むおそれがある。
【0006】
本発明は、断熱扉の前面に水が付着するような環境においても、断熱扉の前面を流下した水が、同扉の下面に回り込むのを確実に防ぐことを目的とする。
【課題を解決するための手段】
【0007】
本発明に係る断熱扉は、前後に扁平な中空四角箱状の外殻体23と、該外殻体23の内部に収容される断熱材24とを備えている。外殻体23は、外殻体23の前面を区画する前壁30と、外殻体23の後面を区画する後壁31と、外殻体23の上下面及び左右面を区画する四周壁32と、外殻体23の前面下部に設けられて、受け止めた水を前壁30よりも前方側へ案内して滴下させる水切り壁36とを含む。そして、水切り壁36が、前壁30の左右端にわたって設けられるとともに、前壁30の下端に連続して前方へ向かって下り傾斜するように前壁30と一体に形成されていることを特徴とする。
【0008】
四周壁32は外殻体23の下面を区画する下壁34を有する。下壁34の前端と前壁30の下端とで形成される外殻体23の前下角部に、入隅状の前液溜め部43が設けられている。
【0009】
四周壁32は外殻体23の下面を区画する下壁34を有する。下壁34の後端と後壁31の下端とで形成される外殻体23の後下角部に、入隅状の後液溜め部44が設けられている。
【0010】
四周壁32は外殻体23の上面を区画する上壁33を有し、該上壁33は、外殻体23の上面に付着した水を前壁30へ向かって流下させる流下壁37を備えている。上壁33の流下壁37は、前壁30の上端に連続して後方へ向かって上り傾斜するように前壁30と一体に形成されている。
【発明の効果】
(【0011】以降は省略されています)
この特許をJ-PlatPat(特許庁公式サイト)で参照する
関連特許
フクシマガリレイ株式会社
冷却貯蔵庫
22日前
株式会社不二工機
膨張弁
28日前
株式会社不二工機
膨張弁
28日前
フクシマガリレイ株式会社
断熱扉
29日前
ホシザキ株式会社
冷凍装置
1か月前
富士電機株式会社
冷却装置
1か月前
富士電機株式会社
自動販売機
27日前
ダイキン工業株式会社
冷凍装置
1か月前
フクシマガリレイ株式会社
冷却貯蔵庫
1か月前
フクシマガリレイ株式会社
冷却貯蔵庫
22日前
株式会社ゼロカラ
冷凍装置
7日前
フクシマガリレイ株式会社
ショーケース
1か月前
株式会社ゼロカラ
冷凍装置
7日前
ダイキン工業株式会社
冷媒充填方法
1か月前
アクア株式会社
冷蔵庫
1か月前
フクシマガリレイ株式会社
商品販売システム
1か月前
島田工業株式会社
製氷装置及び製氷方法
1か月前
アクア株式会社
冷却ボックス装置
12日前
アクア株式会社
冷却ボックス装置
12日前
株式会社アイシン
冷暖房システム
1か月前
株式会社富士通ゼネラル
冷凍サイクル装置
1か月前
株式会社前川製作所
冷却装置
1か月前
株式会社富士通ゼネラル
冷凍サイクル装置
1か月前
株式会社富士通ゼネラル
冷凍サイクル装置
1か月前
東芝ライフスタイル株式会社
冷却装置
1か月前
東芝ライフスタイル株式会社
冷却装置
1か月前
日本碍子株式会社
空調システム
1か月前
ダイキン工業株式会社
冷凍装置
1か月前
ホシザキ株式会社
冷却貯蔵庫
1か月前
富士電機株式会社
店舗用冷却装置制御システム
1か月前
パナソニックIPマネジメント株式会社
冷蔵庫
12日前
パナソニックIPマネジメント株式会社
冷蔵庫
12日前
三菱電機株式会社
冷蔵庫
22日前
東芝ライフスタイル株式会社
冷蔵庫
21日前
JFEエンジニアリング株式会社
二酸化炭素固化システム
12日前
ダイキン工業株式会社
固体冷凍装置
1か月前
続きを見る
他の特許を見る