TOP
|
特許
|
意匠
|
商標
特許ウォッチ
Twitter
他の特許を見る
公開番号
2025173037
公報種別
公開特許公報(A)
公開日
2025-11-27
出願番号
2024078357
出願日
2024-05-14
発明の名称
ドラム式製氷機
出願人
株式会社MARS Company
代理人
個人
主分類
F25C
1/142 20180101AFI20251119BHJP(冷凍または冷却;加熱と冷凍との組み合わせシステム;ヒートポンプシステム;氷の製造または貯蔵;気体の液化または固体化)
要約
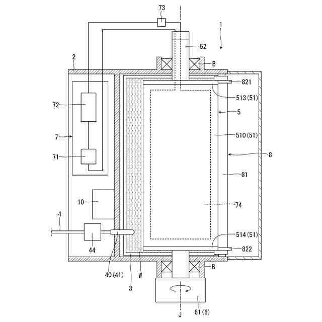
【課題】製氷ドラムの両端面上での氷の成長を抑制し、長時間、氷を効率的に生成し続けることのできるドラム式製氷機を提供する。
【解決手段】ドラム式製氷機1は、製氷水Wを貯留するタンク3と、タンク3内の製氷水Wに一部が浸漬した状態で水平軸Jまわりに回転する製氷ドラム5と、製氷ドラム5を水平軸Jまわりに回転させる駆動装置6と、製氷ドラム5を冷却する冷却装置7と、製氷ドラム5に付着した氷を剥ぎ取るブレード8と、を有する。また、製氷ドラム5は、水平軸Jに沿って延在する円柱状のドラム本体51を有する。さらに、ドラム本体51は、水平軸Jに沿って延在する円柱状の基部510と、基部510の水平軸Jに沿う方向の両端部に設けられ、樹脂材料で構成された一対の円盤状の終端部513、514と、を有する。
【選択図】図3
特許請求の範囲
【請求項1】
製氷水を貯留するタンクと、
基台に支持され、前記タンク内の前記製氷水に一部が浸漬した状態で水平軸まわりに回転する製氷ドラムと、
前記製氷ドラムを前記水平軸まわりに回転させる駆動装置と、
前記製氷ドラムを冷却する冷却装置と、
前記製氷ドラムに付着した前記製氷水が凍結することにより生成された氷を剥ぎ取るブレードと、を有し、
前記製氷ドラムは、前記水平軸に沿って延在し、前記タンク内の前記製氷水に一部が浸漬するドラム本体を有し、
前記ドラム本体は、前記水平軸に沿って延在し、外周面が金属材料で構成された円柱状の基部と、前記基部の前記水平軸に沿う方向の両端部に設けられ、前記金属材料よりも熱伝導率が低い材料で構成された一対の円盤状の終端部と、を有することを特徴とするドラム式製氷機。
続きを表示(約 700 文字)
【請求項2】
前記終端部は、樹脂材料で構成されている請求項1に記載のドラム式製氷機。
【請求項3】
前記終端部の外径は、前記基部の外径と等しい請求項1に記載のドラム式製氷機。
【請求項4】
前記終端部の外径は、前記基部の外径よりも大きい請求項1に記載のドラム式製氷機。
【請求項5】
前記ブレードは、前記水平軸に沿って延在し、前記基部の外周面に生成された前記氷を剥ぎ取る第1ブレードと、前記終端部の外周面と対向し、前記終端部の外周面に生成された前記氷を剥ぎ取る第2ブレードと、を有する請求項1に記載のドラム式製氷機。
【請求項6】
前記第2ブレードと前記終端部の外周面との離間距離は、前記第1ブレードと前記基部の外周面との離間距離よりも短い請求項5に記載のドラム式製氷機。
【請求項7】
一対の前記第2ブレードを有し、
一方の前記第2ブレードは、前記ドラム本体の一方の端面と対向し、
他方の前記第2ブレードは、前記ドラム本体の他方の端面と対向している請求項5に記載のドラム式製氷機。
【請求項8】
前記タンクに供給される前記製氷水を貯留する外部タンクと前記タンクとを接続する導管と、前記導管を介して前記外部タンクから前記タンクに前記製氷水を送る送液ポンプと、を有する請求項1に記載のドラム式製氷機。
【請求項9】
前記導管の前記外部タンク側の端部に設けられ、前記製氷水に沈み、かつ、前記製氷水中の異物を除去するフィルターを有する請求項8に記載のドラム式製氷機。
発明の詳細な説明
【技術分野】
【0001】
本発明は、ドラム式製氷機に関する。
続きを表示(約 1,200 文字)
【背景技術】
【0002】
特許文献1に記載のドラム式製氷機は、外部水道系から供給される製氷水(水道水)を貯留する製氷タンクと、製氷タンクに軸受けされ、製氷タンクの内部において製氷水に一部を浸漬した状態で水平軸回りに回転する円筒状の製氷ドラムと、製氷ドラムを冷却する冷凍系と、製氷ドラムの外周面に生成された氷を薄く剥ぎ取るカッターと、を有する。
【先行技術文献】
【特許文献】
【0003】
特開2007-046828号公報
【発明の概要】
【発明が解決しようとする課題】
【0004】
このようなドラム式製氷機では、製氷効率を高めるために、製氷ドラムの外表面を構成するドラムアウターがアルミニウム等の熱伝導性に優れた金属材料で構成されている。そのため、製氷ドラムの外周面(円筒状の部分)のみならず、外周面の両端部に位置する両端面(円盤状の部分)にも氷が生成される。両端面に生成された氷は、カッターに接触しないため成長を続け、やがて両端面から突出する軸部にも広がり、製氷ドラムの回転を阻害してしまう。そのため、長時間、氷を効率的に生成し続けることが困難である。
【0005】
本発明は、上述の問題点に鑑みてなされたものであり、製氷ドラムの両端面上での氷の成長を抑制し、長時間、氷を効率的に生成し続けることのできるドラム式製氷機を提供することを目的とする。
【課題を解決するための手段】
【0006】
このような目的は、以下(1)~(9)の本発明により達成される。
【0007】
(1) 製氷水を貯留するタンクと、
基台に支持され、前記タンク内の前記製氷水に一部が浸漬した状態で水平軸まわりに回転する製氷ドラムと、
前記製氷ドラムを前記水平軸まわりに回転させる駆動装置と、
前記製氷ドラムを冷却する冷却装置と、
前記製氷ドラムに付着した前記製氷水が凍結することにより生成された氷を剥ぎ取るブレードと、を有し、
前記製氷ドラムは、前記水平軸に沿って延在し、前記タンク内の前記製氷水に一部が浸漬するドラム本体を有し、
前記ドラム本体は、前記水平軸に沿って延在し、外周面が金属材料で構成された円柱状の基部と、前記基部の前記水平軸に沿う方向の両端部に設けられ、前記金属材料よりも熱伝導率が低い材料で構成された一対の円盤状の終端部と、を有することを特徴とするドラム式製氷機。
【0008】
(2) 前記終端部は、樹脂材料で構成されている上記(1)に記載のドラム式製氷機。
【0009】
(3) 前記終端部の外径は、前記基部の外径と等しい上記(1)に記載のドラム式製氷機。
【0010】
(4) 前記終端部の外径は、前記基部の外径よりも大きい上記(1)に記載のドラム式製氷機。
(【0011】以降は省略されています)
この特許をJ-PlatPat(特許庁公式サイト)で参照する
関連特許
個人
製氷容器
今日
株式会社不二工機
膨張弁
1か月前
株式会社不二工機
膨張弁
1か月前
アクア株式会社
冷蔵庫
8日前
アクア株式会社
冷蔵庫
8日前
ホシザキ株式会社
冷凍装置
1か月前
富士電機株式会社
冷却装置
今日
フクシマガリレイ株式会社
断熱扉
1か月前
富士電機株式会社
自動販売機
1か月前
フクシマガリレイ株式会社
冷却貯蔵庫
1か月前
ダイキン工業株式会社
冷凍装置
1か月前
フクシマガリレイ株式会社
冷却貯蔵庫
1か月前
フクシマガリレイ株式会社
ショーケース
1か月前
株式会社ゼロカラ
冷凍装置
16日前
株式会社ゼロカラ
冷凍装置
16日前
ダイキン工業株式会社
冷媒充填方法
1か月前
株式会社フィラディス
ワインセラー
8日前
FrostiX株式会社
冷凍システム
1日前
フクシマガリレイ株式会社
商品販売システム
1か月前
アクア株式会社
冷却ボックス装置
21日前
アクア株式会社
冷却ボックス装置
21日前
アイ・ティ・イー株式会社
相変化判定システム
8日前
三菱電機株式会社
冷蔵庫
8日前
株式会社富士通ゼネラル
冷凍サイクル装置
1か月前
株式会社前川製作所
冷却装置
1か月前
株式会社富士通ゼネラル
冷凍サイクル装置
1か月前
株式会社富士通ゼネラル
冷凍サイクル装置
1か月前
日本碍子株式会社
空調システム
1か月前
株式会社MARS Company
ドラム式製氷機
1日前
東芝ライフスタイル株式会社
冷却装置
1か月前
東芝ライフスタイル株式会社
冷却装置
1か月前
株式会社MARS Company
ドラム式製氷機
1日前
株式会社MARS Company
ドラム式製氷機
1日前
株式会社MARS Company
ドラム式製氷機
1日前
パナソニックIPマネジメント株式会社
冷蔵庫
21日前
ダイキン工業株式会社
冷凍装置
1か月前
続きを見る
他の特許を見る