TOP
|
特許
|
意匠
|
商標
特許ウォッチ
Twitter
他の特許を見る
10個以上の画像は省略されています。
公開番号
2025148005
公報種別
公開特許公報(A)
公開日
2025-10-07
出願番号
2024048563
出願日
2024-03-25
発明の名称
冷凍装置
出願人
ダイキン工業株式会社
代理人
弁理士法人前田特許事務所
主分類
F25B
49/02 20060101AFI20250930BHJP(冷凍または冷却;加熱と冷凍との組み合わせシステム;ヒートポンプシステム;氷の製造または貯蔵;気体の液化または固体化)
要約
【課題】冷凍装置からの冷媒の漏洩を検知した際におけるユーザー等の要望を満たす。
【解決手段】冷凍装置(10)の制御器(50)は、第1動作と第2動作を選択的に行う。第1動作は、冷媒センサ(57)が冷媒を検知すると漏洩報知処理を行う動作である。第2動作は、冷媒センサ(57)が冷媒を検知し、且つ漏洩条件が成立すると漏洩報知処理を行う動作である。漏洩報知処理は、冷媒回路(20)から冷媒が漏洩したと判断したことを報知する処理である。漏洩条件は、冷媒回路(20)内の冷媒の状態を示す状態量に基づいて冷媒回路(20)から冷媒が漏洩したことを示す条件である。
【選択図】図1
特許請求の範囲
【請求項1】
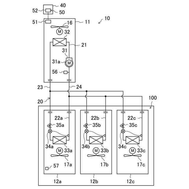
圧縮機(31)を有して冷凍サイクルを行う冷媒回路(20)を備え、対象空間(100)の温度調節を行う冷凍装置(10)であって、
上記冷媒回路(20)から上記対象空間(100)へ漏洩した冷媒を検知する冷媒センサ(57)と、
第1動作と第2動作を選択的に行う制御器(50)とを備え、
上記第1動作は、上記冷媒センサ(57)が冷媒を検知すると、上記冷媒回路(20)から冷媒が漏洩したと判断したことを報知する漏洩報知処理を行う動作であり、
上記第2動作は、上記冷媒センサ(57)が冷媒を検知すると漏洩条件の成否を判断し、上記漏洩条件が成立すると上記漏洩報知処理を行う動作であり、
上記漏洩条件は、上記冷媒回路(20)内の冷媒の状態を示す状態量に基づいて上記冷媒回路(20)から冷媒が漏洩したことを示す条件である
冷凍装置。
続きを表示(約 1,100 文字)
【請求項2】
上記制御器(50)は、上記第1動作において、上記冷媒センサ(57)が冷媒を検知すると上記圧縮機(31)を停止させる
請求項1に記載の冷凍装置。
【請求項3】
上記制御器(50)は、上記第2動作において、上記冷媒センサ(57)が冷媒を検知すると上記圧縮機(31)を停止させ、上記圧縮機(31)の停止中に上記漏洩条件の成否を判断する
請求項1に記載の冷凍装置。
【請求項4】
上記漏洩条件は、上記状態量である上記冷媒回路(20)内の冷媒の圧力が所定値よりも低い、という条件である
請求項1~3のいずれか一つに記載の冷凍装置。
【請求項5】
上記制御器(50)は、第3動作と第4動作を選択的に行い、
上記第3動作は、上記第2動作において上記漏洩条件が成立しなかったときに、自動的に上記圧縮機(31)を起動させる動作であり、
上記第4動作は、上記第2動作において上記漏洩条件が成立しなかったときに、起動指示が入力されると上記圧縮機(31)を起動させる動作である
請求項1~3のいずれか一つに記載の冷凍装置。
【請求項6】
上記第2動作において、上記制御器(50)は、上記漏洩条件が成立しなかったときに、上記冷媒回路(20)から冷媒が漏洩したと誤って判断したことを報知する誤判断報知処理を行う
請求項1~3のいずれか一つに記載の冷凍装置。
【請求項7】
上記制御器(50)が行う上記漏洩報知処理は、上記冷媒回路(20)から冷媒が漏洩したと判断したことを示す情報を、表示部(41)に表示させる処理である
請求項1~3のいずれか一つに記載の冷凍装置。
【請求項8】
上記制御器(50)が行う上記漏洩報知処理は、上記冷媒回路(20)から冷媒が漏洩したと判断したことを、音または光によって報知する処理である
請求項1~3のいずれか一つに記載の冷凍装置。
【請求項9】
上記制御器(50)は、上記第1動作と上記第2動作の一方を選択する指示を入力するための選択用画面を表示部(41)に表示させ、上記第1動作と上記第2動作のうち上記選択用画面において選択された方を行う
請求項1~3のいずれか一つに記載の冷凍装置。
【請求項10】
上記制御器(50)は、上記第2動作において、冷媒の漏洩に関する処理を実行中であることを示す情報を、上記圧縮機(31)の停止中に上記漏洩条件の成否を判断している間に表示部(41)に表示させる処理を行う
請求項3に記載の冷凍装置。
(【請求項11】以降は省略されています)
発明の詳細な説明
【技術分野】
【0001】
本開示は、冷凍装置に関するものである。
続きを表示(約 1,600 文字)
【背景技術】
【0002】
特許文献1には、冷媒回路を備えた冷凍装置が開示されている。冷凍装置の冷媒回路には、R32(HFC-32)等の可燃性の冷媒が充填されている。冷凍装置は、冷媒回路から空調対象空間への冷媒の漏洩を検知するセンサを備える。冷凍装置は、冷媒回路から空調対象空間への冷媒の漏洩をセンサが検知すると、安全対策のための所定の動作を行う。
【先行技術文献】
【特許文献】
【0003】
特開2018-009769号公報
【発明の概要】
【発明が解決しようとする課題】
【0004】
特許文献1に開示された冷凍装置は、安全対策のための動作として、一種類の動作を行う。しかし、冷媒回路から空調対象空間への冷媒の漏洩が検知された際に、冷凍装置のユーザーや管理者が希望する安全対策のための動作は、一つとは限らない。そのため、従来の冷凍装置は、ユーザーや管理者の要望に充分に応えられないおそれがあった。
【0005】
本開示の目的は、冷媒回路からの冷媒の漏洩を検知した際に所定の動作を行う冷凍装置において、冷媒回路からの冷媒の漏洩を検知した際におけるユーザーや管理者の要望を満たすことにある。
【課題を解決するための手段】
【0006】
本開示の第1の態様は、圧縮機(31)を有して冷凍サイクルを行う冷媒回路(20)を備え、対象空間(100)の温度調節を行う冷凍装置(10)であって、上記冷媒回路(20)から上記対象空間(100)へ漏洩した冷媒を検知する冷媒センサ(57)と、第1動作と第2動作を選択的に行う制御器(50)とを備え、上記第1動作は、上記冷媒センサ(57)が冷媒を検知すると、上記冷媒回路(20)から冷媒が漏洩したと判断したことを報知する漏洩報知処理を行う動作であり、上記第2動作は、上記冷媒センサ(57)が冷媒を検知すると漏洩条件の成否を判断し、上記漏洩条件が成立すると上記漏洩報知処理を行う動作であり、上記漏洩条件は、上記冷媒回路(20)内の冷媒の状態を示す状態量に基づいて上記冷媒回路(20)から冷媒が漏洩したことを示す条件である。
【0007】
第1の態様において、冷凍装置(10)の制御器(50)は、第1動作と第2動作を選択的に行う。第1動作において、制御器(50)は、冷媒センサ(57)が冷媒を検知すると漏洩報知処理を行う。第2動作において、制御器(50)は、冷媒センサ(57)が冷媒を検知すると漏洩条件の成否を判断し、漏洩条件が成立すると漏洩報知処理を行う。冷媒センサ(57)は、冷媒以外のガスを冷媒と誤って検知する可能性がある。第2動作において、制御器(50)は、冷媒センサ(57)が冷媒を検知すると共に漏洩条件が成立し、実際に冷媒回路(20)から冷媒が漏洩している可能性が高い場合に、漏洩報知処理を行う。
【0008】
例えば、制御器(50)は、第1動作と第2動作のうち、管理者等の人間が指定した方の動作を行う。第1の態様では、冷媒センサ(57)が冷媒を検知したときに制御器(50)が行う動作を、第1動作と第2動作の中から選択できる。そのため、制御器(50)が第1動作と第2動作の一方だけを実行可能である場合に比べると、この態様の冷凍装置(10)は、冷媒回路(20)からの冷媒の漏洩を検知した際に、冷凍装置(10)のユーザーや管理者の要望に応じた動作を行うことができる。
【0009】
本開示の第2の態様は、上記第1の態様において、上記制御器(50)は、上記第1動作において、上記冷媒センサ(57)が冷媒を検知すると上記圧縮機(31)を停止させる。
【0010】
第2の態様の制御器(50)は、第1動作において、冷媒センサ(57)が冷媒を検知すると、漏洩報知処理を行うと共に、圧縮機(31)を停止させる。
(【0011】以降は省略されています)
この特許をJ-PlatPat(特許庁公式サイト)で参照する
関連特許
ダイキン工業株式会社
冷凍装置
1か月前
ダイキン工業株式会社
冷凍装置
1か月前
ダイキン工業株式会社
シール材
24日前
ダイキン工業株式会社
共重合体
18日前
ダイキン工業株式会社
撥水剤組成物
10日前
ダイキン工業株式会社
回転式圧縮機及び冷凍装置
4日前
ダイキン工業株式会社
圧縮機及び冷凍サイクル装置
10日前
ダイキン工業株式会社
圧縮機及び冷凍サイクル装置
10日前
ダイキン工業株式会社
フッ素原子含有シラン化合物
23日前
ダイキン工業株式会社
積層構造体、およびその製造方法
23日前
ダイキン工業株式会社
ガス検出装置および漏洩ガス検出システム
2日前
ダイキン工業株式会社
モータ、空気調和装置、及びモータの製造方法
23日前
ダイキン工業株式会社
モータの製造方法、及びモータを有する空気調和装置
23日前
ダイキン工業株式会社
粉体組成物、積層体、積層体の製造方法、および物品
16日前
ダイキン工業株式会社
粉体状組成物、皮膜、積層体、塗装物品および成形方法
16日前
ダイキン工業株式会社
給湯システム
23日前
ダイキン工業株式会社
固体組成物、回路基板、固体組成物の製造方法、及び提案装置
24日前
ダイキン工業株式会社
制御システム、第2制御装置、サーバ装置、第1制御装置、制御方法
23日前
ダイキン工業株式会社
基板材料用組成物、ポリイミドフィルム、積層体、回路用基板、及びアンテナ
24日前
ダイキン工業株式会社
高周波基板材料用組成物、ポリイミドフィルム、積層体、回路用基板、及びアンテナ
24日前
ダイキン工業株式会社
フッ素ゴム塗料組成物及び塗装物品
25日前
ダイキン工業株式会社
制御システム、制御装置、制御方法
4日前
ダイキン工業株式会社
フルオロポリマー水性分散液の製造方法
16日前
ダイキン工業株式会社
硬化性エポキシ樹脂組成物、硬化物及び硬化物の製造方法
1か月前
ダイキン工業株式会社
含フッ素エラストマー水性分散液の製造方法、組成物および水性分散液
2日前
国立大学法人 東京大学
昆虫の匂い応答に対する阻害剤のスクリーニング方法、昆虫の匂い応答に対する阻害剤、昆虫阻害システム、及び昆虫阻害方法
25日前
個人
製氷容器
2日前
株式会社不二工機
膨張弁
1か月前
株式会社不二工機
膨張弁
1か月前
アクア株式会社
冷蔵庫
10日前
アクア株式会社
冷蔵庫
10日前
ホシザキ株式会社
製氷機
2か月前
個人
ヒートポンプ型空気調和機
2か月前
富士電機株式会社
冷却装置
2か月前
フクシマガリレイ株式会社
断熱扉
1か月前
富士電機株式会社
冷却装置
2日前
続きを見る
他の特許を見る