TOP
|
特許
|
意匠
|
商標
特許ウォッチ
Twitter
他の特許を見る
公開番号
2025168455
公報種別
公開特許公報(A)
公開日
2025-11-07
出願番号
2025145076,2024013164
出願日
2025-09-02,2024-01-31
発明の名称
給湯システム
出願人
ダイキン工業株式会社
代理人
弁理士法人新樹グローバル・アイピー
主分類
F24H
15/164 20220101AFI20251030BHJP(加熱;レンジ;換気)
要約
【課題】ユーザの利便性を向上させる給湯システムを提供する。
【解決手段】給湯システム100は、タンク21と、制御部190とを備える。制御部190は、タンク21内の湯水を加熱する沸き上げ運転を行う給湯装置1の運転を制御する。制御部190は、デマンドレスポンス要請を受信する。制御部190は、デマンドレスポンス要請に基づいて設定される、消費電力を抑制する第1期間に出湯指示があった場合に、出湯指示に応じるか否かを判断する。
【選択図】図3
特許請求の範囲
【請求項1】
タンク(21)と、
前記タンク内の湯水を加熱する沸き上げ運転を行う給湯装置(1、4)の運転を制御する制御部(190、290、390、490)と、
を備え、
前記制御部は、
デマンドレスポンス要請を受信し、
前記デマンドレスポンス要請に基づいて設定される、消費電力を抑制する第1期間に出湯指示があった場合に、前記出湯指示に応じるか否かを判断する、
給湯システム(100、200、300、400)。
続きを表示(約 750 文字)
【請求項2】
前記制御部は、緊急度に応じて前記出湯指示に応じるか否かを判断する、
請求項1に記載の給湯システム。
【請求項3】
前記制御部は、ユーザの操作に基づいて前記緊急度を判断する、
請求項2に記載の給湯システム。
【請求項4】
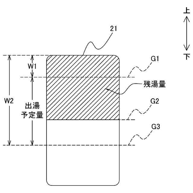
前記制御部は、前記タンクの残湯量と前記出湯指示に基づく出湯予定量に応じて、前記出湯指示に応じるか否かを判断する、
請求項1又は2に記載の給湯システム。
【請求項5】
前記制御部は、前記残湯量が、前記出湯予定量と所定の第1水量を合わせた、第2水量より小さい場合は、前記出湯指示に応じて出湯を行う、
請求項4に記載の給湯システム。
【請求項6】
前記制御部は、前記沸き上げ運転を行うと共に、出湯を行う、
請求項5に記載の給湯システム。
【請求項7】
前記制御部は、前記沸き上げ運転において、前記残湯量が前記第1水量以上となるように湯水を加熱する、
請求項6に記載の給湯システム。
【請求項8】
前記制御部は、前記残湯量以下の出湯を行う、
請求項5に記載の給湯システム。
【請求項9】
前記制御部は、前記残湯量が、前記出湯予定量と所定の第1水量を合わせた第2水量より小さい場合は、前記出湯指示に基づく出湯を行わない、
請求項4に記載の給湯システム。
【請求項10】
前記制御部は、前記出湯指示による出湯予定時刻から前記第1期間の終了時刻までの第1時間に応じて、前記出湯指示に応じるか否かを判断する、
請求項1に記載の給湯システム。
(【請求項11】以降は省略されています)
発明の詳細な説明
【技術分野】
【0001】
給湯システムに関する。
続きを表示(約 1,000 文字)
【背景技術】
【0002】
従来から、電力供給者(電力会社)から電力需要者に対して、電力の消費又は抑制に関するデマンドレスポンス(DR)を要請し、電力需要者が電力の消費量を調整することで、電力の需給バランスを調整する仕組みが知られている。
【0003】
電力削減のDR要請(下げDR要請)を受けた場合、貯湯式給湯装置は、下げDR要請に基づく時間帯以外の時間帯に計画的に沸き上げ運転を行い、加熱した湯水を貯湯タンクに貯留する。また、貯湯式給湯装置は、ユーザからの出湯指示に基づいて、貯留された湯水を出湯する。出湯指示は、例えば、湯はり運転の開始指示である。
【0004】
特許文献1(特開2019-105984号公報)には、下げDR要請に対応したデマンドレスポンス制御が行われている途中で、空調装置の設定条件をユーザが希望する設定条件に変更する機器制御装置が開示されている。ユーザは、機器制御装置が掲示する1以上の設定条件から、希望する設定条件を選択する。
【発明の概要】
【発明が解決しようとする課題】
【0005】
貯湯式給湯装置は計画的に沸き上げ運転を行い、加熱された湯水を予め貯湯タンクに貯留する。このため、出湯のタイミングと、沸き上げ運転のタイミングとは異なる。したがって、ユーザによる選択が必要な特許文献1の機器制御装置では、ユーザの利便性が低下する可能性がある。
【0006】
本開示では、ユーザの利便性を向上させる給湯システムを提供する。
【課題を解決するための手段】
【0007】
第1観点の給湯システムは、タンクと、制御部とを備える。制御部は、タンク内の湯水を加熱する沸き上げ運転を行う給湯装置の運転を制御する。制御部は、デマンドレスポンス要請を受信する。制御部は、デマンドレスポンス要請に基づいて設定される、消費電力を抑制する第1期間に出湯指示があった場合に、出湯指示に応じるか否かを判断する。
【0008】
第1期間に出湯を禁止すると、ユーザの利便性が低下する。このような構成により、ユーザの利便性が向上する。
【0009】
第2観点の給湯システムは、第1観点の給湯システムであって、制御部は、緊急度に応じて出湯指示に応じるか否かを判断する。
【0010】
緊急度に応じて出湯の判断をすることにより、ユーザの利便性が向上する。
(【0011】以降は省略されています)
この特許をJ-PlatPat(特許庁公式サイト)で参照する
関連特許
ダイキン工業株式会社
撥剤
1か月前
ダイキン工業株式会社
冷凍装置
1か月前
ダイキン工業株式会社
冷凍装置
1か月前
ダイキン工業株式会社
冷凍装置
1か月前
ダイキン工業株式会社
冷凍装置
1か月前
ダイキン工業株式会社
冷凍装置
1か月前
ダイキン工業株式会社
冷凍装置
1か月前
ダイキン工業株式会社
監視装置
1か月前
ダイキン工業株式会社
シール材
24日前
ダイキン工業株式会社
冷凍装置
1か月前
ダイキン工業株式会社
共重合体
18日前
ダイキン工業株式会社
空気調和装置
1か月前
ダイキン工業株式会社
電力変換装置
1か月前
ダイキン工業株式会社
冷媒充填方法
1か月前
ダイキン工業株式会社
撥水剤組成物
10日前
ダイキン工業株式会社
空気調和装置
1か月前
ダイキン工業株式会社
空気調和装置
1か月前
ダイキン工業株式会社
空調ゾーニング方法
1か月前
ダイキン工業株式会社
吸着器及び冷凍装置
1か月前
ダイキン工業株式会社
インバータ制御装置
1か月前
ダイキン工業株式会社
圧縮機及び冷凍装置
1か月前
ダイキン工業株式会社
制御回路及び電子機器
1か月前
ダイキン工業株式会社
電力変換装置及び冷凍装置
1か月前
ダイキン工業株式会社
回転式圧縮機及び冷凍装置
4日前
ダイキン工業株式会社
空調機のための保守システム
1か月前
ダイキン工業株式会社
ノイズ抑制回路、空気調和機
1か月前
ダイキン工業株式会社
ノイズ抑制回路、空気調和機
1か月前
ダイキン工業株式会社
圧縮機及び冷凍サイクル装置
10日前
ダイキン工業株式会社
フッ素原子含有シラン化合物
23日前
ダイキン工業株式会社
圧縮機及び冷凍サイクル装置
10日前
ダイキン工業株式会社
積層体の製造方法および積層体
1か月前
ダイキン工業株式会社
電力変換システム、空気調和機
1か月前
ダイキン工業株式会社
電力変換システム、空気調和機
1か月前
ダイキン工業株式会社
磁気冷凍ユニット及び冷凍装置
1か月前
ダイキン工業株式会社
正極合剤、正極および二次電池
1か月前
ダイキン工業株式会社
圧縮機、および冷凍サイクル装置
1か月前
続きを見る
他の特許を見る