TOP
|
特許
|
意匠
|
商標
特許ウォッチ
Twitter
他の特許を見る
公開番号
2025172405
公報種別
公開特許公報(A)
公開日
2025-11-26
出願番号
2024077897
出願日
2024-05-13
発明の名称
回転式圧縮機及び冷凍装置
出願人
ダイキン工業株式会社
代理人
弁理士法人前田特許事務所
主分類
F04C
18/32 20060101AFI20251118BHJP(液体用容積形機械;液体または圧縮性流体用ポンプ)
要約
【課題】ブレードが背部空間に進入する際の油の抵抗を抑え、ピストンをスムーズに偏心回転させる。
【解決手段】第1背部空間(44)は、第1ピストン(45)の偏心回転中に第1ブレード(47)が進入する側の第1空間(71)と、第1ブレード(47)が退避する側の第2空間(72)と、を含む。第1空間(71)における仮想中心線(L1)から最も離れた第1位置までの距離X1、第2空間(72)における仮想中心線(L1)から最も離れた第2位置までの距離X2が、X1>X2という条件を満たす。
【選択図】図3
特許請求の範囲
【請求項1】
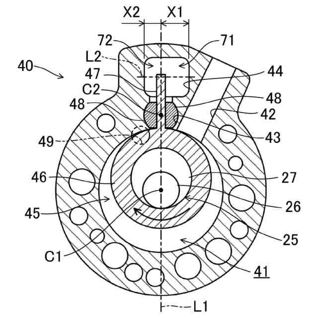
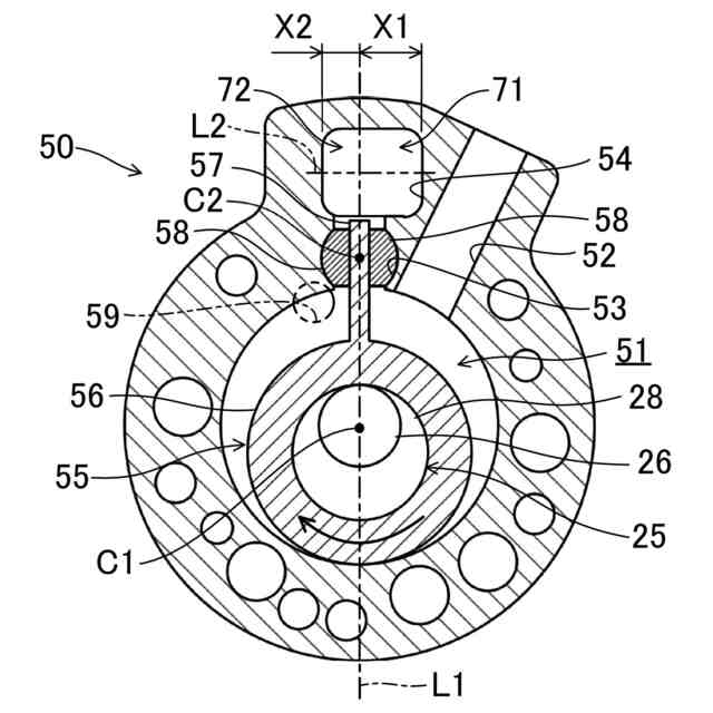
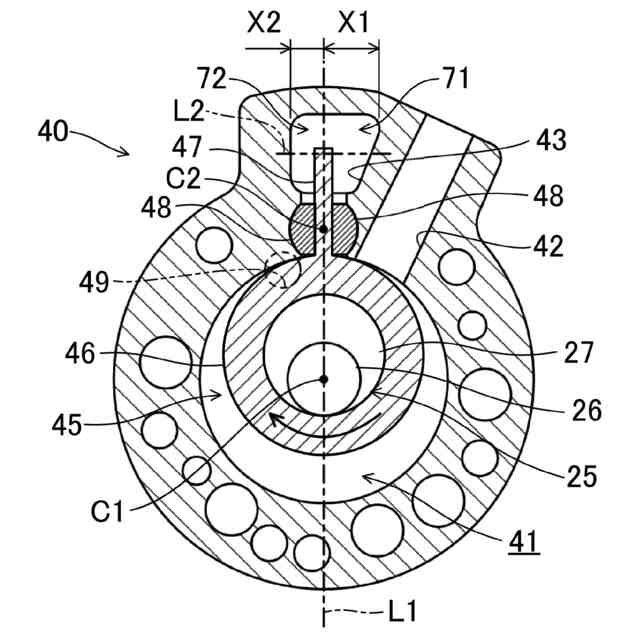
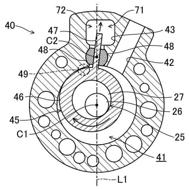
内部にシリンダ室(41)を有するシリンダ(40)と、径方向に延びるブレード(47)が一体形成され且つ前記シリンダ室(41)に収容されたピストン(45)と、前記シリンダ(40)に設けられたブッシュ孔(43)に挿入され且つ前記ブレード(47)を揺動可能に支持するブッシュ(48)と、を備え、前記ブレード(47)が揺動しながら前記ピストン(45)が前記シリンダ室(41)で偏心回転する回転式圧縮機であって、
前記シリンダ(40)における前記ブッシュ孔(43)よりも径方向外側には、油が貯留されるとともに前記ブレード(47)の先端部が進退可能な背部空間(44)が設けられ、
前記シリンダ(40)の軸方向から見て、前記シリンダ室(41)の中心(C1)と、前記ブッシュ孔(43)の中心(C2)とを通る線を仮想中心線(L1)とし、
前記背部空間(44)は、前記ピストン(45)の偏心回転中に前記ブレード(47)が進入する側の第1空間(71)と、前記ブレード(47)が退避する側の第2空間(72)と、を含み、
前記第1空間(71)における前記仮想中心線(L1)から最も離れた第1位置までの距離X1、前記第2空間(72)における前記仮想中心線(L1)から最も離れた第2位置までの距離X2が、X1>X2という条件を満たす
回転式圧縮機。
続きを表示(約 390 文字)
【請求項2】
請求項1の回転式圧縮機において、
前記シリンダ(40)には、前記シリンダ室(41)に冷媒を吸入する吸入通路(42)が設けられ、
前記第1空間(71)は、前記仮想中心線(L1)よりも前記吸入通路(42)側に設けられる
回転式圧縮機。
【請求項3】
請求項1又は2の回転式圧縮機において、
前記背部空間(44)における径方向の中間位置を通り、前記シリンダ(40)の軸方向から見て、前記仮想中心線(L1)に直交する直線を仮想直交線(L2)とし、
前記第1位置は、前記仮想直交線(L2)よりも径方向外側に設けられる
回転式圧縮機。
【請求項4】
請求項1又は2の回転式圧縮機(10)と、
前記回転式圧縮機(10)で圧縮された冷媒が流れる冷媒回路(1a)と、を備える
冷凍装置。
発明の詳細な説明
【技術分野】
【0001】
本開示は、回転式圧縮機及び冷凍装置に関するものである。
続きを表示(約 1,400 文字)
【背景技術】
【0002】
特許文献1には、シリンダと、ブレード(ベーン)が一体的に形成されたピストンと、ブレードを揺動可能に支持するブッシュ(滑動部材)と、を備えた揺動ピストン形圧縮機が開示されている。
【0003】
特許文献1の発明では、シリンダには、ブッシュが挿入されるブッシュ孔(滑動孔)と、ブッシュ孔の径方向外側に設けられてブレードの進退運動を許容する背部空間(ポンプ孔)とが設けられる。
【先行技術文献】
【特許文献】
【0004】
特開2002-371973号公報
【発明の概要】
【発明が解決しようとする課題】
【0005】
ところで、背部空間には、ピストンの潤滑に用いられる油が貯留される。そのため、ブレードが背部空間に進入する際には、背部空間に貯留された油の抵抗によって、ピストンがスムーズに偏心回転し難くなり、圧縮機性能が低下するおそれがある。
【0006】
本開示の目的は、ブレードが背部空間に進入する際の油の抵抗を抑え、ピストンをスムーズに偏心回転させることにある。
【課題を解決するための手段】
【0007】
本開示の第1の態様は、内部にシリンダ室(41)を有するシリンダ(40)と、径方向に延びるブレード(47)が一体形成され且つ前記シリンダ室(41)に収容されたピストン(45)と、前記シリンダ(40)に設けられたブッシュ孔(43)に挿入され且つ前記ブレード(47)を揺動可能に支持するブッシュ(48)と、を備え、前記ブレード(47)が揺動しながら前記ピストン(45)が前記シリンダ室(41)で偏心回転する回転式圧縮機であって、前記シリンダ(40)における前記ブッシュ孔(43)よりも径方向外側には、油が貯留されるとともに前記ブレード(47)の先端部が進退可能な背部空間(44)が設けられ、前記シリンダ(40)の軸方向から見て、前記シリンダ室(41)の中心(C1)と、前記ブッシュ孔(43)の中心(C2)とを通る線を仮想中心線(L1)とし、前記背部空間(44)は、前記ピストン(45)の偏心回転中に前記ブレード(47)が進入する側の第1空間(71)と、前記ブレード(47)が退避する側の第2空間(72)と、を含み、前記第1空間(71)における前記仮想中心線(L1)から最も離れた第1位置までの距離X1、前記第2空間(72)における前記仮想中心線(L1)から最も離れた第2位置までの距離X2が、X1>X2という条件を満たす。
【0008】
第1の態様では、第1空間(71)を第2空間(72)よりも大きくすることで、ブレード(47)が背部空間(44)の第1空間(71)に進入する際の油の抵抗を抑え、ピストン(45)をスムーズに偏心回転させることができる。
【0009】
本開示の第2の態様は、第1の態様の回転式圧縮機において、前記シリンダ(40)には、前記シリンダ室(41)に冷媒を吸入する吸入通路(42)が設けられ、前記第1空間(71)は、前記仮想中心線(L1)よりも前記吸入通路(42)側に設けられる。
【0010】
第2の態様では、仮想中心線(L1)よりも吸入通路(42)側に第1空間(71)を設けることで、背部空間(44)においてピストン(45)の偏心回転中にブレード(47)が進入する側の空間を大きくすることができる。
(【0011】以降は省略されています)
この特許をJ-PlatPat(特許庁公式サイト)で参照する
関連特許
ダイキン工業株式会社
冷凍装置
27日前
ダイキン工業株式会社
シール材
20日前
ダイキン工業株式会社
冷凍装置
27日前
ダイキン工業株式会社
冷凍装置
27日前
ダイキン工業株式会社
冷凍装置
27日前
ダイキン工業株式会社
共重合体
14日前
ダイキン工業株式会社
冷凍装置
27日前
ダイキン工業株式会社
冷凍装置
27日前
ダイキン工業株式会社
撥水剤組成物
6日前
ダイキン工業株式会社
インバータ制御装置
1か月前
ダイキン工業株式会社
吸着器及び冷凍装置
27日前
ダイキン工業株式会社
圧縮機及び冷凍装置
1か月前
ダイキン工業株式会社
回転式圧縮機及び冷凍装置
今日
ダイキン工業株式会社
フッ素原子含有シラン化合物
19日前
ダイキン工業株式会社
圧縮機及び冷凍サイクル装置
6日前
ダイキン工業株式会社
圧縮機及び冷凍サイクル装置
6日前
ダイキン工業株式会社
正極合剤、正極および二次電池
1か月前
ダイキン工業株式会社
圧縮機、および冷凍サイクル装置
1か月前
ダイキン工業株式会社
積層構造体、およびその製造方法
19日前
ダイキン工業株式会社
圧縮機、および冷凍サイクル装置
1か月前
ダイキン工業株式会社
圧縮機、冷凍装置、及び圧縮機の組立方法
1か月前
ダイキン工業株式会社
粒子、組成物、成形体、及び、粒子の製造方法
1か月前
ダイキン工業株式会社
モータ、空気調和装置、及びモータの製造方法
19日前
ダイキン工業株式会社
モータの製造方法、及びモータを有する空気調和装置
19日前
ダイキン工業株式会社
粉体組成物、積層体、積層体の製造方法、および物品
12日前
ダイキン工業株式会社
空調機
1か月前
ダイキン工業株式会社
粉体状組成物、皮膜、積層体、塗装物品および成形方法
12日前
ダイキン工業株式会社
硬化性エポキシ樹脂組成物、硬化物及び硬化物の製造方法
1か月前
ダイキン工業株式会社
中継装置、およびその中継装置を備えた室外機並びに室内機
1か月前
ダイキン工業株式会社
シラン化合物
1か月前
ダイキン工業株式会社
給湯システム
19日前
ダイキン工業株式会社
固体組成物、回路基板、固体組成物の製造方法、及び提案装置
20日前
ダイキン工業株式会社
エッチングガス
29日前
ダイキン工業株式会社
電力管理装置、電力管理システム、電力管理方法及びプログラム
27日前
ダイキン工業株式会社
デポジションガス
29日前
ダイキン工業株式会社
制御システム、第2制御装置、サーバ装置、第1制御装置、制御方法
19日前
続きを見る
他の特許を見る