TOP
|
特許
|
意匠
|
商標
特許ウォッチ
Twitter
他の特許を見る
10個以上の画像は省略されています。
公開番号
2025164582
公報種別
公開特許公報(A)
公開日
2025-10-30
出願番号
2024068645
出願日
2024-04-19
発明の名称
吸着器及び冷凍装置
出願人
ダイキン工業株式会社
,
国立大学法人 東京大学
代理人
弁理士法人新樹グローバル・アイピー
主分類
F25B
37/00 20060101AFI20251023BHJP(冷凍または冷却;加熱と冷凍との組み合わせシステム;ヒートポンプシステム;氷の製造または貯蔵;気体の液化または固体化)
要約
【課題】冷凍サイクルを流れる冷媒の圧力変化を利用して冷媒を吸着材に吸着及び脱着させる際にヒートロスを抑制できる吸着器を提供する。
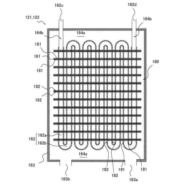
【解決手段】吸着器121,122は、冷凍装置100に用いられる。冷凍装置100には、冷媒が循環する。吸着器121,122は、ケーシング163と、吸着材181と、熱回収部材160と、を備える。ケーシング163には、冷媒が流入する。吸着材181は、冷媒の圧力の変化に応じて、冷媒を吸着及び脱着する。熱回収部材160は、ケーシング163の内部に配置される。熱回収部材160には、吸着材181が担持される。熱回収部材160は、熱媒体と接触する。熱回収部材160と、ケーシング163と、は、間隔を空けて配置される。
【選択図】図3
特許請求の範囲
【請求項1】
冷媒が循環する冷凍装置に用いられる吸着器(121,122)であって、
前記冷媒が流入するケーシング(163)と、
前記冷媒の圧力の変化に応じて、前記冷媒を吸着及び脱着する吸着材(181)と、
前記ケーシングの内部に配置され、前記吸着材が担持され、熱媒体と接触する熱回収部材(160)と、
を備え、
前記熱回収部材と、前記ケーシングと、は、間隔を空けて配置される、
吸着器。
続きを表示(約 690 文字)
【請求項2】
前記熱回収部材と、前記ケーシングと、の間に配置される断熱部材(190)、
をさらに備え、
前記断熱部材の熱伝導率は、前記ケーシングの材料の熱伝導率未満である、
請求項1に記載の吸着器。
【請求項3】
前記熱回収部材と、前記ケーシングと、の間に、前記冷媒が充満している、
請求項1に記載の吸着器。
【請求項4】
前記断熱部材は、前記ケーシングの内表面にコーティングされる、
請求項2に記載の吸着器。
【請求項5】
前記ケーシングは、内ケーシング(163x)と外ケーシング(163y)との二重構造である、
請求項1に記載の吸着器。
【請求項6】
前記熱回収部材は、鉛直方向に対して交差するフィン(161)を有する、
請求項1に記載の吸着器。
【請求項7】
前記熱回収部材と、前記ケーシングと、の間に配置される仕切り板(191)、
をさらに備える、
請求項1に記載の吸着器。
【請求項8】
前記仕切り板は、鉛直方向に対して交差する、
請求項7に記載の吸着器。
【請求項9】
前記ケーシング内における前記冷媒の入口及び出口(163a)は、同一である、
請求項1に記載の吸着器。
【請求項10】
前記吸着材は、金属イオンと、有機配位子と、を含む金属有機構造体を有する、
請求項1に記載の吸着器。
(【請求項11】以降は省略されています)
発明の詳細な説明
【技術分野】
【0001】
吸着器及び冷凍装置に関する。
続きを表示(約 1,100 文字)
【背景技術】
【0002】
従来、吸着式冷凍サイクルを備える冷凍装置が用いられている。このような冷凍装置として、特許文献1(米国特許出願公開第2023/0417459号明細書)には、冷媒の吸着及び脱着が交互に繰り返される一対の吸着器を有する熱源側回路と、冷媒の吸着熱又は脱着熱を回収するための熱媒体が循環する利用側回路と、を備える冷凍装置が開示されている。熱源側回路では、一方の吸着器で冷媒が吸着され、他方の吸着器で冷媒が脱着されるモードと、当該一方の吸着器で冷媒が脱着され、当該他方の吸着器で冷媒が吸着されるモードと、が交互に切り替えられる。これにより、利用側回路では、熱媒体によって、熱源側回路から熱が連続的に回収される。
【発明の概要】
【発明が解決しようとする課題】
【0003】
吸着材での冷媒の吸着又は脱着による熱が、利用側回路を循環する熱媒体以外の物に伝わると、ヒートロスが生じる。
【課題を解決するための手段】
【0004】
第1観点の吸着器は、冷凍装置に用いられる。冷凍装置には、冷媒が循環する。吸着器は、ケーシングと、吸着材と、熱回収部材と、を備える。ケーシングには、冷媒が流入する。吸着材は、冷媒の圧力の変化に応じて、冷媒を吸着及び脱着する。熱回収部材は、ケーシングの内部に配置される。熱回収部材には、吸着材が担持される。熱回収部材は、熱媒体と接触する。熱回収部材と、ケーシングと、は、間隔を空けて配置される。
【0005】
第1観点の吸着器は、熱回収部材がケーシングに接触しないため、冷媒の吸着又は脱着による熱がケーシングに伝わりにくくなる。その結果、ヒートロスが抑制される。
【0006】
第2観点の吸着器は、第1観点の吸着器であって、断熱部材をさらに備える。断熱部材は、熱回収部材と、ケーシングと、の間に配置される。断熱部材の熱伝導率は、ケーシングの材料の熱伝導率未満である。
【0007】
第3観点の吸着器は、第1観点又は第2観点の吸着器であって、熱回収部材と、ケーシングと、の間に、冷媒が充満している。
【0008】
第4観点の吸着器は、第2観点の吸着器であって、断熱部材は、ケーシングの内表面にコーティングされる。
【0009】
第5観点の吸着器は、第1観点~第4観点のいずれか1つの吸着器であって、ケーシングは、内ケーシングと外ケーシングとの二重構造である。
【0010】
第6観点の吸着器は、第1観点~第5観点のいずれか1つの吸着器であって、熱回収部材は、フィンを有する。フィンは、鉛直方向に対して交差する。
(【0011】以降は省略されています)
この特許をJ-PlatPat(特許庁公式サイト)で参照する
関連特許
ダイキン工業株式会社
撥剤
23日前
ダイキン工業株式会社
冷凍装置
23日前
ダイキン工業株式会社
冷凍装置
3日前
ダイキン工業株式会社
冷凍装置
3日前
ダイキン工業株式会社
冷凍装置
3日前
ダイキン工業株式会社
冷凍装置
3日前
ダイキン工業株式会社
冷凍装置
3日前
ダイキン工業株式会社
冷凍装置
1か月前
ダイキン工業株式会社
冷凍装置
1か月前
ダイキン工業株式会社
冷凍装置
3日前
ダイキン工業株式会社
冷凍装置
1か月前
ダイキン工業株式会社
冷凍装置
26日前
ダイキン工業株式会社
流体機械
25日前
ダイキン工業株式会社
監視装置
23日前
ダイキン工業株式会社
電力変換装置
23日前
ダイキン工業株式会社
空気調和装置
23日前
ダイキン工業株式会社
回転電気機械
1か月前
ダイキン工業株式会社
空気調和装置
23日前
ダイキン工業株式会社
空気調和装置
19日前
ダイキン工業株式会社
固体冷凍装置
1か月前
ダイキン工業株式会社
空気調和装置
1か月前
ダイキン工業株式会社
冷媒充填方法
23日前
ダイキン工業株式会社
発電システム
1か月前
ダイキン工業株式会社
インバータ制御装置
19日前
ダイキン工業株式会社
圧縮機及び冷凍装置
19日前
ダイキン工業株式会社
空調ゾーニング方法
24日前
ダイキン工業株式会社
吸着器及び冷凍装置
3日前
ダイキン工業株式会社
制御回路及び電子機器
19日前
ダイキン工業株式会社
熱交換器及び冷凍装置
1か月前
ダイキン工業株式会社
熱源ユニット及び冷凍装置
26日前
ダイキン工業株式会社
電力変換装置及び冷凍装置
23日前
ダイキン工業株式会社
空調機のための保守システム
23日前
ダイキン工業株式会社
ノイズ抑制回路、空気調和機
19日前
ダイキン工業株式会社
ノイズ抑制回路、空気調和機
23日前
ダイキン工業株式会社
フルオロポリマーの製造方法
1か月前
ダイキン工業株式会社
電力変換システム、空気調和機
23日前
続きを見る
他の特許を見る