TOP
|
特許
|
意匠
|
商標
特許ウォッチ
Twitter
他の特許を見る
10個以上の画像は省略されています。
公開番号
2025171853
公報種別
公開特許公報(A)
公開日
2025-11-20
出願番号
2024077591
出願日
2024-05-10
発明の名称
圧縮機及び冷凍サイクル装置
出願人
ダイキン工業株式会社
代理人
弁理士法人新樹グローバル・アイピー
主分類
F04B
39/14 20060101AFI20251113BHJP(液体用容積形機械;液体または圧縮性流体用ポンプ)
要約
【課題】溶接ピンを用いることなく、軸受ハウジングをケーシングへ好適に固定できる圧縮機及びこれを用いた冷凍サイクル装置を提供する。
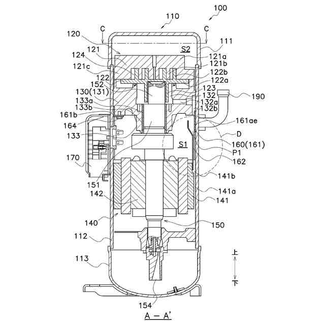
【解決手段】圧縮機(100)は、ケーシング(110)と、軸受ハウジング(130)と、電動機(140)と、支持部材(161)とを備える。ケーシング(110)は、筒状である。軸受ハウジング(130)及び電動機(140)は、ケーシング(110)の軸方向において互いに離間するようにケーシング(110)内に固定される。支持部材は、軸受ハウジング(130)と電動機(140)との間に位置する第1空間(S1)に配置されている。軸受ハウジングは、締り嵌めを用いてケーシングに固定されている。支持部材は、溶接を用いてケーシン(110)グに固定され、軸受ハウジング(130)を支持する。
【選択図】図2
特許請求の範囲
【請求項1】
筒状のケーシング(110)と、
前記ケーシング(110)の軸方向において互いに離間するように前記ケーシング(110)内に固定される軸受ハウジング(130)及び電動機(140)と、
前記軸受ハウジング(130)と前記電動機(140)との間に位置する第1空間(S1)に配置された支持部材(161)と
を備え、
前記軸受ハウジング(130)は、
締り嵌めを用いて前記ケーシング(110)に固定され、
前記支持部材(161)は、
溶接を用いて前記ケーシング(110)に固定され、前記軸受ハウジング(130)を支持する、
圧縮機(100)。
続きを表示(約 1,000 文字)
【請求項2】
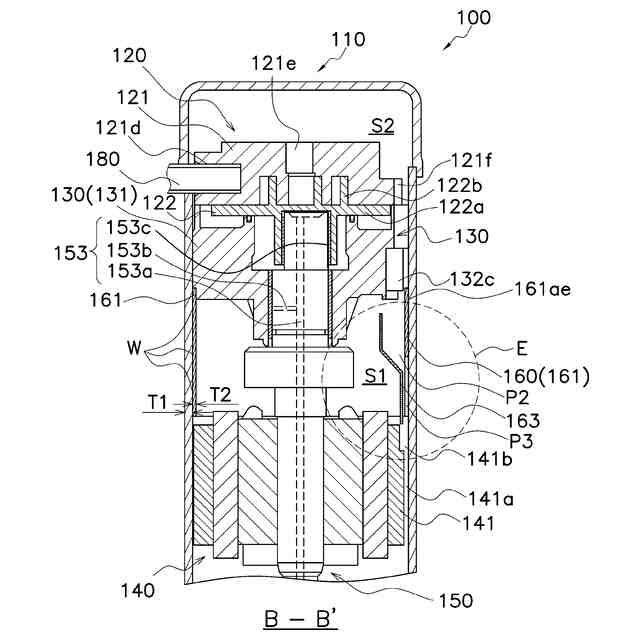
前記支持部材(161)は、
ボルト(164)を用いて前記軸受ハウジング(130)に固定されている、
請求項1に記載の圧縮機(100)。
【請求項3】
前記支持部材(161)は、
前記軸受ハウジング(130)の前記第1空間(S1)に対向する面に沿って延びるステー(161b)を有し、
前記ステー(161b)は、
前記ボルト(164)を用いて前記軸受ハウジング(130)に固定される、
請求項2に記載の圧縮機(100)。
【請求項4】
前記支持部材(161)は、
圧入を用いて絵前記軸受ハウジング(130)に固定されている、
請求項1に記載の圧縮機(100)。
【請求項5】
前記支持部材(161)は、
外周面が前記ケーシング(110)の内周面に対向する円筒部(161ae)を含む、
請求項1に記載の圧縮機(100)。
【請求項6】
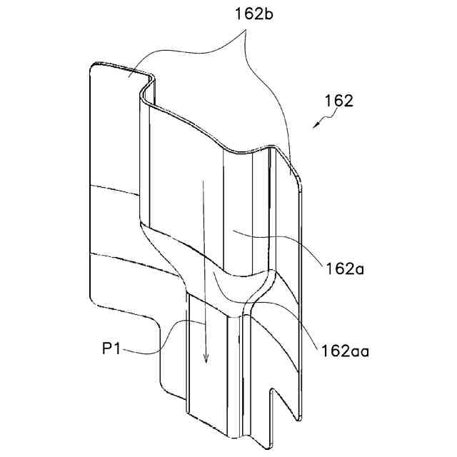
前記第1空間(S1)に配置され、前記軸受ハウジング(130)と前記電動機(140)との間に流入する流体を、前記電動機(140)の外周へガイドする流体ガイド(162、163)をさらに備え、
前記流体ガイド(162、163)は、
スポット溶接を用いて前記支持部材(161)に固定されている、
請求項1に記載の圧縮機(100)。
【請求項7】
前記支持部材(161)の前記ケーシング(110)に対する溶接位置は、
前記軸受ハウジング(130)の前記ケーシング(110)に対する締り嵌め位置よりも、前記電動機(140)に近い、
請求項1に記載の圧縮機(100)。
【請求項8】
前記支持部材(161)は、
前記ケーシング(110)に溶接される箇所の板厚(T1)が、前記ケーシング(110)の対応する箇所における板厚(T1)よりも薄い、
請求項1に記載の圧縮機(100)。
【請求項9】
前記支持部材(161)は、
プラグ溶接を用いて、前記ケーシング(110)に固定されている、
請求項1に記載の圧縮機(100)。
【請求項10】
前記支持部材(161)は、
前記軸受ハウジング(130)と比べて溶接性に優れた素材で形成される、
請求項1に記載の圧縮機(100)。
(【請求項11】以降は省略されています)
発明の詳細な説明
【技術分野】
【0001】
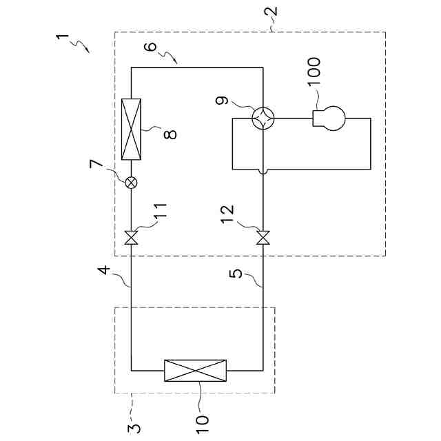
圧縮機及び冷凍サイクル装置に関する。
続きを表示(約 1,000 文字)
【背景技術】
【0002】
特許文献1(特開平6-66267号公報)が開示する圧縮機において、軸受ハウジングは、溶接ピンを用いたプラグ溶接を用いてケーシングに固定されている。
【発明の概要】
【発明が解決しようとする課題】
【0003】
溶接ピンを用いて軸受ハウジングを固定する場合、溶接時の熱で膨張した溶接ピンは、外周に形成された歯形形状の先端部が塑性変形することで圧入保持力が低下し、軸受ハウジングをケーシングに好適に固定できないことがあった。
【0004】
本願は、溶接ピンを用いることなく、軸受ハウジングをケーシングへ好適に固定できる圧縮機及びこれを用いた冷凍サイクル装置を提供することを課題とする。
【課題を解決するための手段】
【0005】
第1観点の圧縮機は、ケーシングと、軸受ハウジングと、電動機と、支持部材とを備える。ケーシングは、筒状である。軸受ハウジング及び電動機は、ケーシングの軸方向において互いに離間するようにケーシング内に固定される。支持部材は、軸受ハウジングと電動機との間に位置する第1空間に配置されている。軸受ハウジングは、締り嵌めを用いてケーシングに固定されている。支持部材は、溶接を用いてケーシングに固定され、軸受ハウジングを支持する。
【0006】
本圧縮機の軸受ハウジングは、ケーシングへの締り嵌めで固定されるとともに、溶接でケーシングに固定された支持部材により支持される。したがって、本圧縮機によれば、溶接ピンを用いることなく、軸受ハウジングをケーシングへ好適に固定できる。
【0007】
第2観点の圧縮機は、第1観点の圧縮機であって、支持部材が、ボルトを用いて軸受ハウジングに固定されている。
【0008】
ボルトを用いるため、本圧縮機によれば、支持部材の軸受ハウジングへ固定が容易である。
【0009】
第3観点の圧縮機は、第2観点の圧縮機であって、支持部材が、軸受ハウジングの第1空間に対向する面に沿って延びるステーを有する。ステーは、ボルトを用いて軸受ハウジングに固定されている。
【0010】
第4観点の圧縮機は、第1観点の圧縮機であって、支持部材が、圧入を用いて軸受ハウジングに固定されている。
(【0011】以降は省略されています)
この特許をJ-PlatPat(特許庁公式サイト)で参照する
関連特許
ダイキン工業株式会社
シール材
16日前
ダイキン工業株式会社
冷凍装置
23日前
ダイキン工業株式会社
冷凍装置
23日前
ダイキン工業株式会社
共重合体
10日前
ダイキン工業株式会社
冷凍装置
23日前
ダイキン工業株式会社
冷凍装置
23日前
ダイキン工業株式会社
冷凍装置
23日前
ダイキン工業株式会社
冷凍装置
23日前
ダイキン工業株式会社
撥水剤組成物
2日前
ダイキン工業株式会社
吸着器及び冷凍装置
23日前
ダイキン工業株式会社
圧縮機及び冷凍サイクル装置
2日前
ダイキン工業株式会社
圧縮機及び冷凍サイクル装置
2日前
ダイキン工業株式会社
フッ素原子含有シラン化合物
15日前
ダイキン工業株式会社
正極合剤、正極および二次電池
1か月前
ダイキン工業株式会社
積層構造体、およびその製造方法
15日前
ダイキン工業株式会社
モータ、空気調和装置、及びモータの製造方法
15日前
ダイキン工業株式会社
粉体組成物、積層体、積層体の製造方法、および物品
8日前
ダイキン工業株式会社
モータの製造方法、及びモータを有する空気調和装置
15日前
ダイキン工業株式会社
粉体状組成物、皮膜、積層体、塗装物品および成形方法
8日前
ダイキン工業株式会社
中継装置、およびその中継装置を備えた室外機並びに室内機
26日前
ダイキン工業株式会社
固体組成物、回路基板、固体組成物の製造方法、及び提案装置
16日前
ダイキン工業株式会社
給湯システム
15日前
ダイキン工業株式会社
電力管理装置、電力管理システム、電力管理方法及びプログラム
23日前
ダイキン工業株式会社
エッチングガス
25日前
ダイキン工業株式会社
デポジションガス
25日前
ダイキン工業株式会社
制御システム、第2制御装置、サーバ装置、第1制御装置、制御方法
15日前
ダイキン工業株式会社
基板材料用組成物、ポリイミドフィルム、積層体、回路用基板、及びアンテナ
16日前
ダイキン工業株式会社
フッ素ゴム塗料組成物及び塗装物品
17日前
ダイキン工業株式会社
高周波基板材料用組成物、ポリイミドフィルム、積層体、回路用基板、及びアンテナ
16日前
ダイキン工業株式会社
フルオロポリマー水性分散液の製造方法
8日前
ダイキン工業株式会社
硬化性エポキシ樹脂組成物、硬化物及び硬化物の製造方法
23日前
ダイキン工業株式会社
高純度フルオロポリマー含有組成物の製造方法および高純度フルオロポリマー含有組成物
29日前
三星電子株式会社
プラズマエッチング工程を含む半導体素子の製造方法
29日前
国立大学法人 東京大学
昆虫の匂い応答に対する阻害剤のスクリーニング方法、昆虫の匂い応答に対する阻害剤、昆虫阻害システム、及び昆虫阻害方法
17日前
個人
海流製造装置。
2か月前
株式会社スギノマシン
圧縮機
1か月前
続きを見る
他の特許を見る