TOP
|
特許
|
意匠
|
商標
特許ウォッチ
Twitter
他の特許を見る
10個以上の画像は省略されています。
公開番号
2025166513
公報種別
公開特許公報(A)
公開日
2025-11-06
出願番号
2024070591
出願日
2024-04-24
発明の名称
固体組成物、回路基板、固体組成物の製造方法、及び提案装置
出願人
ダイキン工業株式会社
,
国立大学法人 東京大学
代理人
個人
,
個人
主分類
C08L
27/12 20060101AFI20251029BHJP(有機高分子化合物;その製造または化学的加工;それに基づく組成物)
要約
【課題】低誘電率と低線膨張係数とを両立する固体組成物の提供。
【解決手段】フッ素樹脂と、繊維状の異方性フィラーと、を含有する固体組成物であって、前記フッ素樹脂の20℃~200℃における線膨張係数に対して、前記固体組成物の20℃~200℃における線膨張係数の減少率が50%以上である固体組成物である。
【選択図】なし
特許請求の範囲
【請求項1】
フッ素樹脂と、繊維状の異方性フィラーと、を含有する固体組成物であって、
前記フッ素樹脂の20℃~200℃における線膨張係数に対する、前記固体組成物の20℃~200℃における線膨張係数の減少率が50%以上である固体組成物。
続きを表示(約 770 文字)
【請求項2】
前記繊維状の異方性フィラーのアスペクト比が、100以上である請求項1に記載の固体組成物。
【請求項3】
前記繊維状の異方性フィラー(A)と前記フッ素樹脂(B)との質量比(A/B)が、5/95~60/40である請求項1又は2に記載の固体組成物。
【請求項4】
前記繊維状の異方性フィラーが、シリカである請求項1又は2に記載の固体組成物。
【請求項5】
前記フッ素樹脂の主鎖末端に存在する不安定末端基が、前記フッ素樹脂の炭素数1×10
6
個あたり50個未満であり、
前記不安定末端基が、-CF
2
H、-COF、-COOH、-COOCH
3
、-CONH
2
、及び-CH
2
OHからなる群より選択される少なくとも1種である請求項1又は2に記載の固体組成物。
【請求項6】
前記フッ素樹脂が、ポリテトラフルオロエチレン、テトラフルオロエチレン/パーフルオロ(アルキルビニルエーテル)共重合体、及びテトラフルオロエチレン/ヘキサフルオロプロピレン共重合体からなる群より選択される少なくとも1種である請求項1又は2に記載の固体組成物。
【請求項7】
25℃、10GHzの誘電正接が、0.003以下である請求項1又は2に記載の固体組成物。
【請求項8】
フィルム又はシートである請求項1に記載の固体組成物。
【請求項9】
回路基板の絶縁材料である請求項1に記載の固体組成物。
【請求項10】
25℃、10GHzの比誘電率が、2.6以下である請求項1に記載の固体組成物。
(【請求項11】以降は省略されています)
発明の詳細な説明
【技術分野】
【0001】
本開示は、固体組成物、回路基板、固体組成物の製造方法、及び提案装置に関する。
続きを表示(約 3,700 文字)
【背景技術】
【0002】
高周波基板用の材料として、低誘電正接や低線膨張係数を両立するフッ素樹脂や、フィラーとの固体組成物が検討されている(例えば、特許文献1など参照)。
また、テトラフルオロエチレン系ポリマーのパウダーと、異方性フィラーと、液状分散媒とを含む分散液が報告されている(例えば、特許文献2など参照)。
しかしながら、低誘電率と低線膨張係数とは、一般的にトレードオフの関係であり、両立が困難であり、低誘電率と低線膨張係数とを両立する高周波基板材料用の固体組成物は見出されていなかった。
【先行技術文献】
【特許文献】
【0003】
特開2023-155181号公報
国際公開第2021/112164号
【発明の概要】
【発明が解決しようとする課題】
【0004】
本開示は、低誘電率と低線膨張係数とを両立する固体組成物を提供することを目的とする。
【課題を解決するための手段】
【0005】
<1> フッ素樹脂と、繊維状の異方性フィラーと、を含有する固体組成物であって、
前記フッ素樹脂の20℃~200℃における線膨張係数に対する、前記固体組成物の20℃~200℃における線膨張係数の減少率が50%以上である固体組成物である。
<2> 前記繊維状の異方性フィラーのアスペクト比が、100以上である前記<1>に記載の固体組成物である。
<3> 前記繊維状の異方性フィラー(A)と前記フッ素樹脂(B)との質量比(A/B)が、5/95~60/40である前記<1>又は<2>に記載の固体組成物である。
<4> 前記繊維状の異方性フィラーが、シリカである前記<1>から<3>のいずれか一項に記載の固体組成物である。
<5> 前記フッ素樹脂の主鎖末端に存在する不安定末端基が、前記フッ素樹脂の炭素数1×10
6
個あたり50個未満であり、
前記不安定末端基が、-CF
2
H、-COF、-COOH、-COOCH
3
、-CONH
2
、及び-CH
2
OHからなる群より選択される少なくとも1種である前記<1>から<4>のいずれか一項に記載の固体組成物である。
<6> 前記フッ素樹脂が、ポリテトラフルオロエチレン、テトラフルオロエチレン/パーフルオロ(アルキルビニルエーテル)共重合体、及びテトラフルオロエチレン/ヘキサフルオロプロピレン共重合体からなる群より選択される少なくとも1種である前記<1>から<5>のいずれか一項に記載の固体組成物である。
<7> 25℃、10GHzの誘電正接が、0.003以下である前記<1>から<6>のいずれか一項に記載の固体組成物である。
<8> フィルム又はシートである前記<1>から<7>のいずれか一項に記載の固体組成物である。
<9> 回路基板の絶縁材料である前記<1>から<8>のいずれか一項に記載の固体組成物である。
<10> 25℃、10GHzの比誘電率が、2.6以下である前記<1>から<9>のいずれか一項に記載の固体組成物である。
<11> 前記<1>から<10>のいずれか一項に記載の固体組成物を含有する絶縁層と、導電層と、を有する回路基板である。
<12> 前記導電層が、金属である前記<11>に記載の回路基板である。
<13> 前記金属が、銅である前記<12>に記載の回路基板である。
<14> 前記導電層における前記固体組成物側の面の表面粗度Rzが、2.0μm以下である前記<11>から<13>のいずれか一項に記載の回路基板である。
<15> プリント基板、積層回路基板又は高周波基板である前記<11>から<14>のいずれか一項に記載の回路基板である。
<16> 前記<1>から<10>のいずれか一項に記載の固体組成物の製造方法であって、
前記フッ素樹脂及び前記異方性フィラーを溶融混練し、前記固体組成物を得る固体組成物の製造方法である。
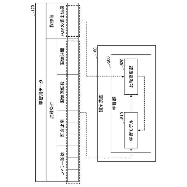
<17> フッ素樹脂とフィラーとを含有する固体組成物を生成する際の混錬条件を提案する制御部を有する提案装置であって、
前記制御部は、
学習用の前記混錬条件と、学習用の前記混錬条件のもとで生成された前記固体組成物の、線膨張係数と誘電特性とに関わる指標値とを含む学習用データを用いて学習された学習済みモデルに、探索用の前記混錬条件を入力することで、予測指標値を出力し、
前記予測指標値と目標指標値とに基づいて、探索用の前記混錬条件を最適化し、最適化した前記混錬条件を出力する提案装置である。
<18> 前記混錬条件には、前記フィラーの形状を示す情報と、前記フッ素樹脂と前記フィラーとの配合比率に関わる情報とが含まれる、
前記<17>に記載の提案装置である。
<19> 前記混錬条件には、混錬回転数と、混錬時間とが含まれる、
前記<18>に記載の提案装置である。
<20> 前記フィラーの形状を示す情報には、繊維状の前記フィラーの形状を示す情報と、球状の前記フィラーの形状を示す情報と、板状の前記フィラーの形状を示す情報とが含まれる、
前記<18>又は<19>に記載の提案装置である。
<21> 前記配合比率に関わる情報には、前記フッ素樹脂の所定の質量に対する、繊維状の前記フィラーの質量、球状の前記フィラーの質量、板状の前記フィラーの質量が含まれる、
前記<18>から<20>のいずれか一項に記載の提案装置である。
【発明の効果】
【0006】
本開示によれば、低誘電率と低線膨張係数とを両立する固体組成物を提供することができる。
【図面の簡単な説明】
【0007】
提案装置を含む処理システムの、学習フェーズにおけるシステム構成の一例を示す図である。
提案装置のハードウェア構成の一例を示す図である。
学習用データの一例を示す図である。
指標値の算出方法の詳細を示す図である。
提案装置の学習フェーズにおける機能構成の一例を示す図である。
処理システムの学習フェーズにおける処理の流れを示すフローチャートの一例である。
提案装置を含む処理システムの、提案フェーズにおけるシステム構成の一例を示す図である。
提案装置の提案フェーズにおける機能構成の一例を示す図である。
処理システムの提案フェーズにおける処理の流れを示すフローチャートの一例である。
【発明を実施するための形態】
【0008】
(固体組成物)
本開示の固体組成物は、フッ素樹脂と、繊維状の異方性フィラーと、を含有し、更に必要に応じてその他の成分を含有する。
前記フッ素樹脂の20℃~200℃における線膨張係数に対して、前記固体組成物の20℃~200℃における線膨張係数の減少率が50%以上である。
【0009】
本開示の固体組成物によれば、繊維状の異方性フィラーを含有することで、フッ素樹脂を含んでいるにも関わらず、線形膨張率を低下(良化)させることができ、2.5以下の低誘電率、及び50ppm/℃以下の低線膨張係数を両立することができ、絶縁性、及び成形性が良好となる。
また、繊維状の異方性フィラーを配合することで、本開示の固体組成物をペレットにした際、内部の空隙が少なくなる。これにより、当該ペレットから形成されるフィルムやシートの機械的特性が良好となる。
また、繊維状の異方性フィラーを配合することで、電気特性を向上させることができる。
また、本開示の固体組成物は、固体であることで、特許文献2に記載された分散液と比較して、製造工程が少なく、厚膜化が容易という利点がある。
【0010】
<フッ素樹脂>
前記フッ素樹脂としては、特に制限はなく、目的に応じて適宜選択することができるが、固体組成物の変形を少なくでき、線膨張係数を低減できる点で、ポリテトラフルオロエチレン、テトラフルオロエチレン/パーフルオロ(アルキルビニルエーテル)共重合体、及びテトラフルオロエチレン/ヘキサフルオロプロピレン共重合体からなる群より選択される少なくとも1種が好ましく、固体組成物の半田加工時の変形を抑制できる点で、テトラフルオロエチレン/パーフルオロ(アルキルビニルエーテル)共重合体が更に好ましい。
これらは、1種単独で使用してもよく、2種以上を併用してもよい。
(【0011】以降は省略されています)
この特許をJ-PlatPat(特許庁公式サイト)で参照する
関連特許
ダイキン工業株式会社
共重合体
18日前
ダイキン工業株式会社
シール材
24日前
ダイキン工業株式会社
撥水剤組成物
10日前
ダイキン工業株式会社
回転式圧縮機及び冷凍装置
4日前
ダイキン工業株式会社
圧縮機及び冷凍サイクル装置
10日前
ダイキン工業株式会社
圧縮機及び冷凍サイクル装置
10日前
ダイキン工業株式会社
フッ素原子含有シラン化合物
23日前
ダイキン工業株式会社
積層構造体、およびその製造方法
23日前
ダイキン工業株式会社
ガス検出装置および漏洩ガス検出システム
2日前
ダイキン工業株式会社
モータ、空気調和装置、及びモータの製造方法
23日前
ダイキン工業株式会社
モータの製造方法、及びモータを有する空気調和装置
23日前
ダイキン工業株式会社
粉体組成物、積層体、積層体の製造方法、および物品
16日前
ダイキン工業株式会社
粉体状組成物、皮膜、積層体、塗装物品および成形方法
16日前
ダイキン工業株式会社
給湯システム
23日前
ダイキン工業株式会社
固体組成物、回路基板、固体組成物の製造方法、及び提案装置
24日前
ダイキン工業株式会社
制御システム、第2制御装置、サーバ装置、第1制御装置、制御方法
23日前
ダイキン工業株式会社
基板材料用組成物、ポリイミドフィルム、積層体、回路用基板、及びアンテナ
24日前
ダイキン工業株式会社
フッ素ゴム塗料組成物及び塗装物品
25日前
ダイキン工業株式会社
制御システム、制御装置、制御方法
4日前
ダイキン工業株式会社
高周波基板材料用組成物、ポリイミドフィルム、積層体、回路用基板、及びアンテナ
24日前
ダイキン工業株式会社
フルオロポリマー水性分散液の製造方法
16日前
ダイキン工業株式会社
硬化性エポキシ樹脂組成物、硬化物及び硬化物の製造方法
1か月前
ダイキン工業株式会社
含フッ素エラストマー水性分散液の製造方法、組成物および水性分散液
2日前
国立大学法人 東京大学
昆虫の匂い応答に対する阻害剤のスクリーニング方法、昆虫の匂い応答に対する阻害剤、昆虫阻害システム、及び昆虫阻害方法
25日前
株式会社カネカ
断熱材
23日前
東ソー株式会社
ペレット
1か月前
ユニチカ株式会社
透明シート
3か月前
ユニチカ株式会社
透明シート
2か月前
株式会社コバヤシ
成形体
1か月前
東レ株式会社
熱硬化性樹脂組成物
3か月前
東レ株式会社
引抜成形品の製造方法
3か月前
東ソー株式会社
ゴム用接着性改質剤
1か月前
東レ株式会社
ポリエステルフィルム
2か月前
東ソー株式会社
プラスチゾル組成物
23日前
丸住製紙株式会社
変性パルプ
2か月前
住友精化株式会社
吸水剤の製造方法
2か月前
続きを見る
他の特許を見る