TOP
|
特許
|
意匠
|
商標
特許ウォッチ
Twitter
他の特許を見る
10個以上の画像は省略されています。
公開番号
2025161802
公報種別
公開特許公報(A)
公開日
2025-10-24
出願番号
2025066059
出願日
2025-04-14
発明の名称
プラズマエッチング工程を含む半導体素子の製造方法
出願人
三星電子株式会社
,
Samsung Electronics Co.,Ltd.
,
ダイキン工業株式会社
代理人
弁理士法人ITOH
主分類
H01L
21/3065 20060101AFI20251017BHJP(基本的電気素子)
要約
【課題】プラズマエッチング工程を含む半導体素子の製造方法を提供する。
【解決手段】本発明の半導体素子の製造方法は、支持層上に無機層を形成する段階;無機層上に有機マスクパターンを形成する段階;及び有機マスクパターンをエッチングマスクとして無機層をエッチング選択比を大きくプラズマエッチングして、無機パターン及び無機パターンの間に支持層を露出するスペースパターンを形成する段階を含む。無機層のプラズマエッチングは、C
2
H
2
F
4
ガスを有するメインエッチングガス、及びO
2
ガスまたは酸素含有ガスを有する補助エッチングガスを含む混合ガスを用いて遂行し、補助エッチングガスに対するメインエッチングガスの比率は、1ないし5で構成する。
【選択図】図1A
特許請求の範囲
【請求項1】
支持層上に無機層を形成する段階と、
前記無機層上に有機マスクパターンを形成する段階と、
前記有機マスクパターンをエッチングマスクとして前記無機層をエッチング選択比を大きくプラズマエッチングして、無機パターン及び前記無機パターンの間に前記支持層を露出するスペースパターンを形成する段階と、を含み、
前記無機層のプラズマエッチングは、C
2
H
2
F
4
ガスを有するメインエッチングガス、及びO
2
ガスまたは酸素含有ガスを有する補助エッチングガスを含む混合ガスを用いて遂行し、前記補助エッチングガスに対する前記メインエッチングガスの比率は、1ないし5で構成することを特徴とする半導体素子の製造方法。
続きを表示(約 2,200 文字)
【請求項2】
前記無機層は、シリコン酸化物層、シリコン窒化物層またはシリコン酸窒化物層の単一層、シリコン酸化物層、及びシリコン窒化物層またはシリコン酸窒化物層からなる二重層、または、シリコン窒化物層またはシリコン酸窒化物層、第1シリコン酸化物層、及び第2シリコン酸化物層からなる三重層であることを特徴とする請求項1に記載の半導体素子の製造方法。
【請求項3】
前記メインエッチングガスにCF
4
ガス、C
4
F
8
ガス及びArガスをさらに含み、前記プラズマエッチングを遂行することを特徴とする請求項1に記載の半導体素子の製造方法。
【請求項4】
前記有機マスクパターンは、SOH(Spin On Hard Mask)物質、ACL(Amorphous Carbon Layer)物質またはフォトレジスト物質からなることを特徴とする請求項1に記載の半導体素子の製造方法。
【請求項5】
前記無機パターン及び前記スペースパターンの臨界寸法は同一であり、前記無機パターン及び前記スペースパターンは、平面視において、線状パターンからなることを特徴とする請求項1に記載の半導体素子の製造方法。
【請求項6】
支持層上に第1有機層を形成する段階と、
前記第1有機層をパターニングして第1有機パターンを形成する段階と、
前記支持層上で前記第1有機パターンをカバーするように無機層を形成する段階と、
前記無機層をエッチバックして前記第1有機パターンの両側壁に無機パターンを形成する段階と、
前記第1有機パターン及び前記無機パターンをカバーしつつ、前記無機パターンの間を埋め込むように第2有機層を形成する段階と、
前記第2有機層をエッチバックして前記無機パターンの間に第2有機パターンを形成する段階と、
前記第1有機パターン及び前記第2有機パターンに比べて、前記無機パターンのエッチング選択比を大きくプラズマエッチングして前記無機パターンを選択的に除去することで、前記第1有機パターン及び前記第2有機パターンの間にスペースパターンを形成する段階と、を含み、
前記無機パターンのプラズマエッチングは、C
2
H
2
F
4
ガスを有するメインエッチングガス、及びO
2
ガスまたは酸素含有ガスを有する補助エッチングガスを含む混合ガスを用いて遂行し、前記補助エッチングガスに対する前記メインエッチングガスの比率は、1ないし5で構成することを特徴とする半導体素子の製造方法。
【請求項7】
前記無機層は、シリコン酸化物層、シリコン窒化物層または、シリコン酸窒化物層で形成し、前記第1有機層及び前記第2有機層は、SOH(Spin On Hard Mask)物質、ACL(Amorphous Carbon Layer)物質またはフォトレジスト物質で形成し、及び前記第1有機層及び前記第2有機層は、互いに異なる物質からなることを特徴とする請求項6に記載の半導体素子の製造方法。
【請求項8】
前記第1有機パターン及び前記第2有機パターンをエッチングマスクとして前記支持層の一部をさらにエッチングしてトレンチパターンを形成することを特徴とする請求項6に記載の半導体素子の製造方法。
【請求項9】
支持層上に第1有機層を形成する段階と、
前記第1有機層をパターニングして第1有機パターンを形成する段階と、
前記支持層上で前記第1有機パターンをカバーするように無機層を形成する段階と、
前記支持層上で前記第1有機パターン及び前記無機層をカバーしつつ、前記第1有機パターン間の空間を埋め込むように第2有機層を形成する段階と、
前記第2有機層及び前記無機層を順次にエッチバックして無機パターン及び第2有機パターンを形成する段階であり、前記第2有機パターンは、前記無機パターンの間に形成され、前記無機パターンは、前記第1有機パターン及び前記第2有機パターンの間に形成される、段階と、
前記第1有機パターン及び前記第2有機パターンに対する前記無機パターンのエッチング選択比を大きくプラズマエッチングして前記第1有機パターン及び前記第2有機パターンの間に位置する前記無機パターンを選択的に除去することで、前記第1有機パターン及び前記第2有機パターンの間にスペースパターンを形成する段階と、を含み、
前記無機パターンのプラズマエッチングは、C
2
H
2
F
4
ガスを有するメインエッチングガス、及びO
2
ガスまたは酸素含有ガスを有する補助エッチングガスを含む混合ガスを用いて遂行し、前記補助エッチングガスに対する前記メインエッチングガスの比率は、1ないし5で構成することを特徴とする半導体素子の製造方法。
【請求項10】
前記プラズマエッチングを介して前記第1有機パターン及び前記第2有機パターンの間に位置する前記無機パターンを選択的に除去するとき、前記第2有機パターンの下に、下部無機パターンが残されることを特徴とする請求項9に記載の半導体素子の製造方法。
発明の詳細な説明
【技術分野】
【0001】
本発明は、半導体素子の製造方法に係り、さらに詳細には、プラズマエッチング工程を含む半導体素子の製造方法に関する。
続きを表示(約 4,100 文字)
【背景技術】
【0002】
半導体素子が高集積化されることにより、半導体基板上に形成されるパターン(patterns)の臨界寸法(critical dimension,CD)が小くなっている。これにより、半導体基板上に微細パターンを形成する工程が重要となっている。半導体基板上に微細パターンを形成するために、プラズマエッチング工程が導入されうる。
【0003】
プラズマエッチング工程時、エッチング選択比の高いエッチングガスを使用して初めて、微細パターンを信頼性あるように形成しうる。併せて、地球環境影響性の側面でエッチングガスの地球温暖化係数を低めなければならない。
【発明の概要】
【発明が解決しようとする課題】
【0004】
本発明が解決しようとする課題は、エッチング選択比が高く、かつ、地球温暖化係数の低いエッチングガスを用いてプラズマエッチング工程を遂行する半導体素子の製造方法を提供することである。
【課題を解決するための手段】
【0005】
上述した課題を解決するために、本発明の技術的思想の一実施形態による半導体素子の製造方法は、支持層上に無機層を形成する段階;前記無機層上に有機マスクパターンを形成する段階;及び前記有機マスクパターンをエッチングマスクとして前記無機層をエッチング選択比を大きくプラズマエッチングして、無機パターン及び前記無機パターンの間に前記支持層を露出するスペースパターンを形成する段階と、を含む。前記無機層のプラズマエッチングは、C
2
H
2
F
4
ガスを有するメインエッチングガス、及びO
2
ガスまたは酸素含有ガスを有する補助エッチングガスを含む混合ガスを用いて遂行し、前記補助エッチングガスに対する前記メインエッチングガスの比率は、1ないし5で構成する。
【0006】
本発明の技術的思想の一実施形態による半導体素子の製造方法は、支持層上に第1有機層を形成する段階;前記第1有機層をパターニングして第1有機パターンを形成する段階;前記支持層上で前記第1有機パターンをカバーするように無機層を形成する段階;前記無機層をエッチバックして前記第1有機パターンの両側壁に無機パターンを形成する段階;前記第1有機パターン及び前記無機パターンをカバーしつつ、前記無機パターンの間を埋め込むように第2有機層を形成する段階;前記第2有機層をエッチバックして前記無機パターンの間に第2有機パターンを形成する段階;及び前記第1有機パターン及び前記第2有機パターンに比べて、前記無機パターンのエッチング選択比を大きくプラズマエッチングして前記無機パターンを選択的に除去することで、前記第1有機パターン及び前記第2有機パターンの間にスペースパターンを形成する段階を含む。前記無機パターンのプラズマエッチングは、C
2
H
2
F
4
ガスを有するメインエッチングガス、及びO
2
ガスまたは酸素含有ガスを有する補助エッチングガスを含む混合ガスを用いて遂行し、前記補助エッチングガスに対する前記メインエッチングガスの比率は、1ないし5で構成する。
【0007】
本発明の技術的思想の一実施形態による半導体素子の製造方法は、支持層上に第1有機層を形成する段階;前記第1有機層をパターニングして第1有機パターンを形成する段階;前記支持層上で前記第1有機パターンをカバーするように無機層を形成する段階;前記支持層上で前記第1有機パターン及び前記無機層をカバーしつつ、前記第1有機パターン間の空間を埋め込むように第2有機層を形成する段階;前記第2有機層及び前記無機層を順次にエッチバックして無機パターン及び第2有機パターンを形成する段階であり、前記第2有機パターンは、前記無機パターンの間に形成され、前記無機パターンは、前記第1有機パターン及び前記第2有機パターンの間に形成される、段階;前記第1有機パターン及び前記第2有機パターンに対する前記無機パターンのエッチング選択比を大きくプラズマエッチングして前記第1有機パターン及び前記第2有機パターンの間に位置する前記無機パターンを選択的に除去することで、前記第1有機パターン及び前記第2有機パターンの間にスペースパターンを形成する段階を含む。前記無機パターンのプラズマエッチングは、C
2
H
2
F
4
ガスを有するメインエッチングガス、及びO
2
ガスまたは酸素含有ガスを有する補助エッチングガスを含む混合ガスを用いて遂行し、前記補助エッチングガスに対する前記メインエッチングガスの比率は、1ないし5で構成する。
【発明の効果】
【0008】
本発明の半導体素子の製造方法は、被エッチング膜質間のエッチング選択比が高く、地球温暖化係数の低いエッチングガスを用いるプラズマエッチング工程を遂行して微細パターンを容易に形成しうる。併せて、本発明の半導体素子の製造方法は、ラインパターン及びスペースパターンの臨界寸法を容易に調節しうる。
【図面の簡単な説明】
【0009】
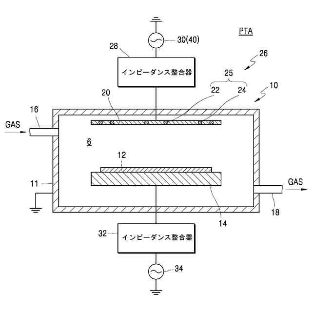
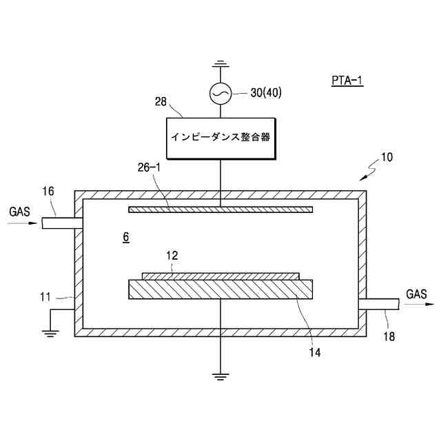
本発明のプラズマエッチング工程を含む半導体素子の製造方法に用いられるプラズマエッチング装置の一例を概略的に示す断面図である。
本発明のプラズマエッチング工程を含む半導体素子の製造方法に用いられるプラズマエッチング装置の一例を概略的に示す断面図である。
本発明の技術的思想の一実施形態による半導体素子を示す平面図である。
図2のA-A’線に沿う微細パターニング工程を含む半導体素子の製造方法を説明するための断面図である。
図2のA-A’線に沿う微細パターニング工程を含む半導体素子の製造方法を説明するための断面図である。
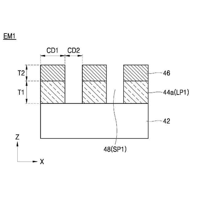
図4のプラズマエッチング工程に用いられるエッチングガスを説明するための図面である。
本発明の技術的思想の一実施形態による半導体素子を示す平面図である。
図6のB-B’線に沿う微細パターニング工程を含む半導体素子の製造方法を説明するための断面図である。
図6のB-B’線に沿う微細パターニング工程を含む半導体素子の製造方法を説明するための断面図である。
本発明の技術的思想の一実施形態による半導体素子を示す平面図である。
図9のC-C’線に沿う微細パターニング工程を含む半導体素子の製造方法を説明するための断面図である。
図9のC-C’線に沿う微細パターニング工程を含む半導体素子の製造方法を説明するための断面図である。
本発明の半導体素子の製造方法において、シリコン酸化物層からなる無機層のプラズマエッチング工程時のエッチングガスによるエッチング選択比を示す図面である。
本発明の半導体素子の製造方法において、シリコン酸化物層からなる無機層のプラズマエッチング工程時のエッチングガスによるエッチング選択比を示す図面である。
本発明の半導体素子の製造方法において、シリコン窒化物層またはシリコン酸窒化物層からなる無機層のプラズマエッチング工程時のエッチングガスによるエッチング選択比を示す図面である。
本発明の半導体素子の製造方法において、シリコン窒化物層またはシリコン酸窒化物層からなる無機層のプラズマエッチング工程時のエッチングガスによるエッチング選択比を示す図面である。
本発明の半導体素子の製造方法において、シリコン酸化物層、シリコン窒化物層またはシリコン酸窒化物層からなる無機層のプラズマエッチング工程時のエッチングガスによるエッチング速度を示す図面である。
本発明の技術的思想の一実施形態による半導体素子を示す平面図である。
図17のD-D’線に沿う断面図である。
本発明の技術的思想の一実施形態による半導体素子の製造方法を説明するための断面図である。
本発明の技術的思想の一実施形態による半導体素子の製造方法を説明するための断面図である。
本発明の技術的思想の一実施形態による半導体素子の製造方法を説明するための断面図である。
本発明の技術的思想の一実施形態による半導体素子の製造方法を説明するための断面図である。
本発明の技術的思想の一実施形態による半導体素子の製造方法を説明するための断面図である。
本発明の技術的思想の一実施形態による半導体素子の製造方法を説明するための断面図である。
本発明の技術的思想の一実施形態による半導体素子の製造方法を説明するための断面図である。
本発明の技術的思想の一実施形態による半導体素子を示す平面図である。
図26のE-E’線に沿う断面図である。
本発明の技術的思想の一実施形態による半導体素子を示す平面図である。
図28のF-F’線に沿う断面図である。
本発明の技術的思想の一実施形態による半導体素子の製造方法を説明するための断面図である。
本発明の技術的思想の一実施形態による半導体素子の製造方法を説明するための断面図である。
本発明の技術的思想の一実施形態による半導体素子の製造方法を説明するための断面図である。
【発明を実施するための形態】
【0010】
以下、添付図面を参照して本発明の望ましい実施形態を詳細に説明する。以下の本発明の実施形態は、いずれか1つのみによっても具現され、また、以下の実施形態は、1つ以上の組み合わせによっても具現されうる。したがって、本発明の技術的思想は、一実施形態に限って解釈されない。
(【0011】以降は省略されています)
この特許をJ-PlatPat(特許庁公式サイト)で参照する
関連特許
三星電子株式会社
冷蔵庫
20日前
三星電子株式会社
冷蔵庫
28日前
三星電子株式会社
保持装置
1か月前
三星電子株式会社
実装装置
1か月前
三星電子株式会社
半導体装置
1か月前
三星電子株式会社
半導体素子
1か月前
三星電子株式会社
半導体素子
1か月前
三星電子株式会社
半導体装置
1か月前
三星電子株式会社
半導体装置
13日前
三星電子株式会社
半導体素子
1か月前
三星電子株式会社
固体撮像装置
25日前
三星電子株式会社
固体二次電池
1か月前
三星電子株式会社
モータ駆動装置
1か月前
三星電子株式会社
イメージセンサ
12日前
三星電子株式会社
半導体接合装置
1か月前
三星電子株式会社
半導体パッケージ
1か月前
三星電子株式会社
半導体パッケージ
1か月前
三星電子株式会社
半導体パッケージ
4日前
三星電子株式会社
イメージセンサー
1か月前
三星電子株式会社
半導体パッケージ
12日前
三星電子株式会社
半導体パッケージ
11日前
三星電子株式会社
集積回路パッケージ
27日前
三星電子株式会社
集積回路装置の製造方法
6日前
三星電子株式会社
周辺回路領域を含む半導体素子
1か月前
三星電子株式会社
イメージセンサ及びその動作方法
12日前
三星電子株式会社
イメージセンサ及びその動作方法
19日前
三星電子株式会社
イメージセンサー及びその動作方法
1か月前
三星電子株式会社
回転磁気アレイ装置及び磁気冷凍システム
1か月前
三星電子株式会社
シンプロビジョニングを通じたSSD仮想化
1か月前
三星電子株式会社
半導体装置及びこれを含むデータ記憶システム
19日前
三星電子株式会社
半導体装置およびこれを含む電力半導体システム
1か月前
三星電子株式会社
半導体パッケージング用フィルム及びその製造方法
11日前
三星電子株式会社
レジスト組成物及びそれを用いたパターン形成方法
11日前
三星電子株式会社
プラズマエッチング工程を含む半導体素子の製造方法
25日前
三星電子株式会社
後面構造物を含む半導体チップを含む半導体パッケージ
19日前
三星電子株式会社
複数の波長を使用するライダーシステム及びその動作方法
1か月前
続きを見る
他の特許を見る