TOP
|
特許
|
意匠
|
商標
特許ウォッチ
Twitter
他の特許を見る
10個以上の画像は省略されています。
公開番号
2025168280
公報種別
公開特許公報(A)
公開日
2025-11-07
出願番号
2025067603
出願日
2025-04-16
発明の名称
半導体パッケージング用フィルム及びその製造方法
出願人
三星電子株式会社
,
Samsung Electronics Co.,Ltd.
代理人
弁理士法人共生国際特許事務所
主分類
B32B
27/00 20060101AFI20251030BHJP(積層体)
要約
【課題】半導体パッケージング工程の内のチップのピックアップ時に要求される粘着力を低く設定することができる半導体パッケージ用フィルム及びその製造方法を提供する。
【解決手段】本発明による半導体パッケージング用フィルムは、基材層、中間層、及び粘着層を含む半導体パッケージング用フィルムにおいて、前記中間層は、ポリボロシロキサン(Polyborosiloxane)を含むことを特徴とする。また、他の実施形態による半導体パッケージング用フィルムは、基材層及び粘着層を含む半導体パッケージング用フィルムにおいて、前記粘着層は、ポリボロシロキサン(Polyborosiloxane)を含むことを特徴とする。
【選択図】図4
特許請求の範囲
【請求項1】
基材層、中間層、及び粘着層を含む半導体パッケージング用フィルムにおいて、
前記中間層は、ポリボロシロキサン(Polyborosiloxane)を含むことを特徴とする半導体パッケージング用フィルム。
続きを表示(約 820 文字)
【請求項2】
前記中間層は、ポリジメチルシロキサン(Polydimethylsiloxane)をさらに含むことを特徴とする請求項1に記載の半導体パッケージング用フィルム。
【請求項3】
前記ポリジメチルシロキサン(Polydimethylsiloxane)の含量は、前記ポリボロシロキサン(Polyborosiloxane)100重量部を基準として、0超過100重量部以下であることを特徴とする請求項2に記載の半導体パッケージング用フィルム。
【請求項4】
前記基材層の第1基材層表面及び第2基材層表面の内の少なくとも一面上に配置されるバッファ層をさらに含むことを特徴とする請求項3に記載の半導体パッケージング用フィルム。
【請求項5】
前記基材層の厚さは、30μm~150μmであることを特徴とする請求項1に記載の半導体パッケージング用フィルム。
【請求項6】
前記中間層の厚さは、5μm~50μmであることを特徴とする請求項1に記載の半導体パッケージング用フィルム。
【請求項7】
前記粘着層の厚さは、5μm~20μmであることを特徴とする請求項1に記載の半導体パッケージング用フィルム。
【請求項8】
前記基材層は、ポリオレフィン(Polyolefin)基盤の基材層であることを特徴とする請求項1に記載の半導体パッケージング用フィルム。
【請求項9】
前記粘着層は、減圧粘着剤(Pressure Sensitive Adhesive)を含むことを特徴とする請求項1に記載の半導体パッケージング用フィルム。
【請求項10】
前記粘着層は、活性エネルギー線硬化型アクリル系粘着剤を含むことを特徴とする請求項1に記載の半導体パッケージング用フィルム。
(【請求項11】以降は省略されています)
発明の詳細な説明
【技術分野】
【0001】
本発明は、半導体パッケージング用フィルムに関し、特に、半導体パッケージング工程の内のチップのピックアップ時に要求される粘着力を低く設定することができる半導体パッケージ用フィルム及びその製造方法に関する。
続きを表示(約 2,700 文字)
【背景技術】
【0002】
半導体パッケージングに使用される商用化されたダイシングテープ(Dicing tape)の場合、テープの基材として、ポリオレフィン(Polyolefin:PO)を主成分とした単一層であるか、その多重層を適用する場合が多く、そのような層は、別途の特殊な性質を有していない。
また、基材上に配置される粘着層の場合、光硬化を通じて粘着層の凝集力を向上させる原理を使用することが一般的であるが、単に、光硬化戦略だけでは、パッケージング工程の内のチップのピックアップ(Pick-up)時に、チップに対するストレス(Stress)が依然として急増し、チップのクラック(Crack)が多発する現象が発生している。
【0003】
一方、そのような状況において、近年、人工知能(Artificial Intelligence:AI)に関する産業が発達するにつれて、高域幅メモリ(High Bandwidth Memory:HBM)に対する需要が増大しており、高域幅メモリにおいても、積層数の拡張が、すなわち高域幅メモリの性能を左右するので、“HBM3 8H”、“HBM4 8H”、“HBM4 12H”、“HBM4 16H”のように積層数の拡張によって製造されるメモリチップの厚さ増加が不可避な実情である。
したがって、そのようなメモリチップの厚さ増加を防止するために、メモリチップの厚さを既存よりもさらに薄く設定する必要があり、その場合、半導体パッケージング工程の内のチップのピックアップ時に要求される粘着力が、現在のレベル(100%基準)の約20%未満に該当するレベルに低く設定される必要がある。
【0004】
しかし、現在使用されるダイシングテープなどの単純光硬化を介したチップのピックアップ特性は、粘着力の低下により限界に達している状況であり、粘着層内の減圧粘着剤(Pressure Sensitive Adhesive:PSA)自体の性能開発も、ピックアップ問題の持続により限界に至った状況であると見られる。
したがって、現在、多層メモリチップの厚さ減少が持続的に要求されることにより、新規なコンセプト(Concept)の半導体パッケージ用フィルムに対する開発の必要性も増大している。
上述した情報は、本開示の理解の一助となるための背景技術(related art)として提供されうる。上述した内容のうちいかなるものでも、本開示に係わる従来技術(prior art)として適用され得ない。
【発明の概要】
【発明が解決しようとする課題】
【0005】
本発明は上記従来の半導体パッケージング用フィルムにおける課題に鑑みてなされたものであって、本発明の目的は、半導体パッケージング工程の内のチップのピックアップ時に要求される粘着力を低く設定することができる半導体パッケージ用フィルム及びその製造方法を提供することにある。
【課題を解決するための手段】
【0006】
上記目的を達成するためになされた本発明による半導体パッケージング用フィルムは、基材層、中間層、及び粘着層を含む半導体パッケージング用フィルムにおいて、前記中間層は、ポリボロシロキサン(Polyborosiloxane)を含むことを特徴とする。
【0007】
また、上記目的を達成するためになされた本発明による半導体パッケージング用フィルムは、基材層及び粘着層を含む半導体パッケージング用フィルムにおいて、前記粘着層は、ポリボロシロキサン(Polyborosiloxane)を含むことを特徴とする。
【0008】
上記目的を達成するためになされた本発明による半導体パッケージング用フィルムの製造方法は、第1基材層表面及び第2基材層表面を含む基材層を準備する段階と、前記基材層の前記第1基材層表面及び前記第2基材層表面の内の少なくとも一面に、ポリボロシロキサン(Polyborosiloxane)組成物をコーティング及び乾燥して、中間層を形成する段階と、前記中間層上に粘着層を形成する段階と、を有することを特徴とする。
【発明の効果】
【0009】
半導体パッケージング用フィルム及びその製造方法によれば、ポリボロシロキサン(Polyborosiloxane)を用いて、せん断率の増加、粘度の増加、ダイレイタント(Dilatant)の特性を有する1つ以上の層を有する半導体パッケージ用フィルムをなすことで、せん断力の付加後、フィルムの粘着力を効率よく下向きにすることができる。
【図面の簡単な説明】
【0010】
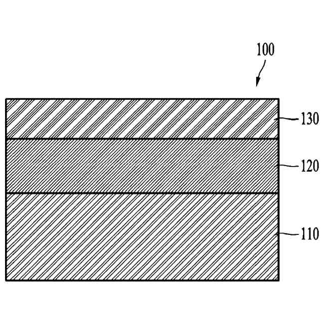
本発明の一実施形態による半導体パッケージング用フィルムの主要構成を示す断面図である。
本発明の他の実施形態による半導体パッケージング用フィルムの主要構成を示す断面図である。
本発明の一実施形態による半導体パッケージング用フィルムに含まれるポリボロシロキサン(Polyborosiloxane)の例示的な構造を示す化学式図である。
半導体の開発方向に応じて半導体パッケージング用フィルムに要求される粘着特性を示す図面である。
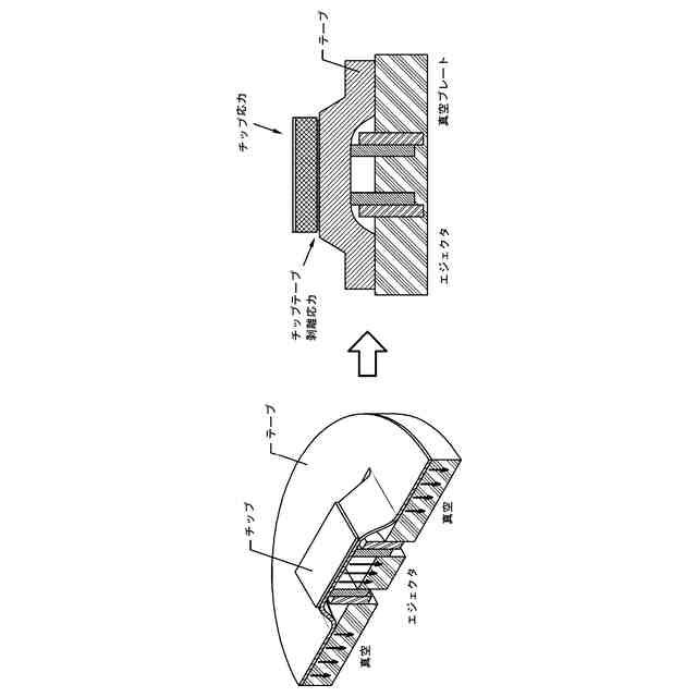
チップのエジェクション(Ejection)工程においてクラック(Crack)が発生する過程を模式的に示す側面図である。
本発明の一実施形態に従いチップをピックアップ(Pick-up)する前に冷却(Chill)及び拡張(Expand)を経る半導体チップのパッケージング工程の一部を概略的に示す図である。
図6Aにおいてチップの端部で誘発されるチップ/テープ剥離現象を概略的に示す図である。
本発明の一実施形態によるフィルムをダイシングテープとして使用する場合において、ピックアップ(Pick-up)時に発生するストレス(Stress)を示す図である。
ポリボロシロキサン(Polyborosiloxane)を含む中間層の有無による付着物(Adherend)との含浸特性の変化を示す図である。
本発明の一実施形態による半導体パッケージ用フィルムの主要構成の一例を示す断面図である。
本発明のさらに他の実施形態による半導体パッケージング用フィルムの主要構成の例を示す断面図である。
【発明を実施するための形態】
(【0011】以降は省略されています)
この特許をJ-PlatPat(特許庁公式サイト)で参照する
関連特許
三星電子株式会社
半導体装置
4日前
三星電子株式会社
半導体装置
12日前
三星電子株式会社
イメージセンサ
3日前
三星電子株式会社
半導体パッケージ
4日前
三星電子株式会社
イメージセンサー
11日前
三星電子株式会社
トランスフォーマー加速装置
12日前
三星電子株式会社
半導体装置およびその製造方法
4日前
三星電子株式会社
スペーサを含む半導体パッケージ
3日前
三星電子株式会社
半導体パッケージ及びその製造方法
11日前
三星電子株式会社
車両の走行を制御する方法と装置及び車両
3日前
三星電子株式会社
半導体装置及びこれを含むデータ記憶システム
3日前
三星電子株式会社
オンチップ偏光ルーティングのシステム及び方法
4日前
三星電子株式会社
イメージセンサー及びイメージセンサーの駆動方法
4日前
三星電子株式会社
レジスト組成物及びそれを用いたパターン形成方法
11日前
三星電子株式会社
イメージセンサー及びその動作方法並びに電子装置
11日前
三星電子株式会社
アイドルまたは非アクティブのユーザ機器に対するオンデマンドシステム情報の早期通知および設定のためのシステムおよび方法
11日前
東レ株式会社
積層体
10か月前
東レ株式会社
積層体
6か月前
ユニチカ株式会社
積層体
3か月前
ユニチカ株式会社
積層体
9か月前
個人
箔転写シート
6か月前
東レ株式会社
積層構造体
10か月前
東レ株式会社
積層フィルム
9か月前
東レ株式会社
積層フィルム
2か月前
東レ株式会社
強化繊維基材
6か月前
東レ株式会社
積層フィルム
4か月前
東レ株式会社
積層フィルム
8か月前
個人
鋼材の塗膜構造
3か月前
東レ株式会社
強化繊維基材
6か月前
東ソー株式会社
多層フィルム
6か月前
東レ株式会社
無配向フィルム
1か月前
東ソー株式会社
多層フィルム
8か月前
エスケー化研株式会社
積層体
9か月前
東レ株式会社
光透過性表皮材
1か月前
東レ株式会社
加飾用フィルム
1か月前
積水樹脂株式会社
磁性シート
8か月前
続きを見る
他の特許を見る