TOP
|
特許
|
意匠
|
商標
特許ウォッチ
Twitter
他の特許を見る
公開番号
2025173481
公報種別
公開特許公報(A)
公開日
2025-11-27
出願番号
2025076201
出願日
2025-05-01
発明の名称
イメージセンサー及びイメージセンサーの駆動方法
出願人
三星電子株式会社
,
Samsung Electronics Co.,Ltd.
代理人
弁理士法人共生国際特許事務所
主分類
H10F
39/18 20250101AFI20251119BHJP()
要約
【課題】高照度環境で動作するイメージセンサーを提供する。
【解決手段】本発明によるイメージセンサーは、光電荷を生成する光電素子と、光電素子に接続され光電荷を保存する電荷保存素子と、光電素子に接続された第1ノードの電圧に基づいてピクセル信号を生成する駆動トランジスタと、第1ノードと第2ノードとの間に接続される垂直伝送ゲートを含む伝送トランジスタと、伝送トランジスタの一側に配置され第1ドープ濃度でドープされた第1領域と、伝送トランジスタの他側に配置され第1ドープ濃度と異なる第2ドープ濃度でドープされた第2領域と、第2ノードと電荷保存素子との間に配置されるオーバーフロートランジスタと、を含むピクセルと、ピクセルに接続され、ピクセルを制御するロードライバーと、を有する。
【選択図】図1
特許請求の範囲
【請求項1】
光電荷を生成する光電素子と、前記光電素子に接続され前記光電荷を保存する電荷保存素子と、前記光電素子に接続された第1ノードの電圧に基づいてピクセル信号を生成する駆動トランジスタと、前記第1ノードと第2ノードとの間に接続される垂直伝送ゲート(Vertical Transfer Gate)を含む伝送トランジスタと、前記伝送トランジスタの一側に配置され第1ドープ濃度でドープされた第1領域と、前記伝送トランジスタの他側に配置され前記第1ドープ濃度と異なる第2ドープ濃度でドープされた第2領域と、前記第2ノードと前記電荷保存素子との間に配置されるオーバーフロー(overflow)トランジスタと、を含むピクセルと、
前記ピクセルに接続され、前記ピクセルを制御するロードライバーと、を有することを特徴とするイメージセンサー。
続きを表示(約 1,600 文字)
【請求項2】
前記第1領域は、p型ドープ領域であり、前記第2領域は、n型ドープ領域であり、前記第1ノードは、前記第1領域に接続され、前記第2ノードは、前記第2領域に接続されることを特徴とする請求項1に記載のイメージセンサー。
【請求項3】
前記光電素子は、第1区間及び第2区間を含む集積区間で前記光電荷を生成し、
前記ロードライバーは、
前記第1区間の間に、前記オーバーフロートランジスタをターンオンさせ、前記光電素子で生成される第1光電荷を前記第1ノードに伝達し、
前記第2区間の間に、前記オーバーフロートランジスタをターンオフさせ、前記光電素子で生成される第2光電荷を前記第2ノードに伝達するように前記ピクセルを制御することを特徴とする請求項2に記載のイメージセンサー。
【請求項4】
前記ピクセルは、電源電圧を供給するように構成された電源電圧ラインと、前記第2ノードに接続されるリセットトランジスタと、をさらに含み、
前記ロードライバーは、前記第1区間の間に前記リセットトランジスタをターンオンさせ、前記電荷保存素子の容量を超えて前記第2ノードに伝達された前記第1光電荷を前記電源電圧でリセットするように前記ピクセルを制御することを特徴とする請求項3に記載のイメージセンサー。
【請求項5】
前記ロードライバーは、前記第1区間の間に前記オーバーフロートランジスタをターンオンさせる第1動作及び前記オーバーフロートランジスタをターンオフさせる第2動作が繰り返すように前記ピクセルを制御することを特徴とする請求項3に記載のイメージセンサー。
【請求項6】
前記ロードライバーは、前記第1区間の前に前記第2区間を行うことを特徴とする請求項3に記載のイメージセンサー。
【請求項7】
前記ピクセルは、電源電圧を供給するように構成された電源電圧ラインと前記第2ノードに接続されるリセットトランジスタをさらに含み、
前記光電素子は、第1区間、第2区間、及び第3区間を含む集積区間で前記光電荷を生成するように構成され、
前記ロードライバーは、
前記第1区間の間に、前記オーバーフロートランジスタをターンオフさせ、前記リセットトランジスタをターンオンさせ、前記光電素子で生成される第1光電荷を前記第2ノードに伝達し、前記第1光電荷を前記電源電圧でリセットし、
前記第2区間の間に、前記オーバーフロートランジスタをターンオンさせ、前記光電素子で生成される第2光電荷を前記第1ノードに伝達し、
前記第3区間の間に、前記オーバーフロートランジスタをターンオフさせ、前記リセットトランジスタをターンオフさせ、前記光電素子で生成される第3光電荷を前記第2ノードに伝達するように前記ピクセルを制御することを特徴とする請求項2に記載のイメージセンサー。
【請求項8】
前記垂直伝送ゲートの一側は、第1酸化物の厚さを有し、
前記垂直伝送ゲートの他側は、前記第1酸化物の厚さと異なる第2酸化物の厚さを有することを特徴とする請求項1に記載のイメージセンサー。
【請求項9】
前記電荷保存素子は、ストレージゲートトランジスタ、ストレージダイオード(storage diode)、及びMIM(Metal Insulator Metal)キャパシタの内の少なくとも一つであることを特徴とする請求項1に記載のイメージセンサー。
【請求項10】
前記オーバーフロートランジスタの電位は、前記第1領域の電位レベルより高い第1レベルと前記第2領域の電位レベルより低い第2レベルとの間で可変することを特徴とする請求項1に記載のイメージセンサー。
(【請求項11】以降は省略されています)
発明の詳細な説明
【技術分野】
【0001】
本発明は、イメージセンサー及びイメージセンサーの駆動方法に関し、特に、高照度環境で動作するイメージセンサー及びイメージセンサーの駆動方法に関する。
続きを表示(約 3,000 文字)
【背景技術】
【0002】
イメージセンサー(image sensor)は、対象物の二次元的に又は三次元画像をキャプチャー(capture)するための装置である。
イメージセンサーは、対象物から反射する光の強度に応じて反応する光電変換素子を利用して対象物のイメージを生成する。
近年、CMOS(Complementary Metal-Oxide Semiconductor)技術が発展しつつ、CMOSを利用したCMOSイメージセンサーが幅広く使用されている。
【0003】
また、近年、イメージセンサーが様々な装置に装着されており、低照度及び高照度で高ダイナミックレンジ(High Dynamic Range:HDR)の特性及び信号対ノイズ雑音比(Signal to noise ratio:SNR)の特性が向上するイメージセンサーが要求される。
【発明の概要】
【発明が解決しようとする課題】
【0004】
本発明は上記従来のイメージセンサーにおける課題に鑑みてなされたものであって、本発明の目的は、高照度環境で動作するイメージセンサーを提供することにある。
【課題を解決するための手段】
【0005】
上記目的を達成するためになされた本発明によるイメージセンサーは、光電荷を生成する光電素子と、前記光電素子に接続され前記光電荷を保存する電荷保存素子と、前記光電素子に接続された第1ノードの電圧に基づいてピクセル信号を生成する駆動トランジスタと、前記第1ノードと第2ノードとの間に接続される垂直伝送ゲート(Vertical Transfer Gate)を含む伝送トランジスタと、前記伝送トランジスタの一側に配置され第1ドープ濃度でドープされた第1領域と、前記伝送トランジスタの他側に配置され前記第1ドープ濃度と異なる第2ドープ濃度でドープされた第2領域と、前記第2ノードと前記電荷保存素子との間に配置されるオーバーフロー(overflow)トランジスタと、を含むピクセルと、前記ピクセルに接続され、前記ピクセルを制御するロードライバーと、を有することを特徴とする。
【0006】
また、上記目的を達成するためになされた本発明によるイメージセンサーは、光電変換領域及び第1フローティング拡散領域を有する半導体基板と、前記半導体基板の少なくとも一部を貫通するように前記半導体基板の厚さ方向に沿って延長される第1垂直伝送トランジスタと、前記第1垂直伝送トランジスタの一側で、前記第1フローティング拡散領域と前記光電変換領域との間に配置され、第1導電型を有する第1領域と、前記第1垂直伝送トランジスタの他側で、第2導電型を有する第2領域と、前記第1垂直伝送トランジスタの他側に配置される電荷保存素子と、前記第1垂直伝送トランジスタと前記電荷保存素子との間に配置されるオーバーフロートランジスタと、を有することを特徴とする。
【0007】
上記目的を達成するためになされた本発明によるイメージセンサーの駆動方法は、第1ノードに接続された光電素子で第1区間の間に、第1光電荷を生成するステップと、前記第1光電荷を、垂直伝送ゲートの一側に配置され、第1導電型を有する第1領域を介して前記第1ノードに接続された電荷保存素子に伝達するステップと、前記光電素子で第2区間の間に、第2光電荷を生成するステップと、前記第2光電荷を、前記垂直伝送ゲートの他側に配置され、第2導電型を有する第2領域を介して第2ノードに伝達するステップと、前記第2ノードに蓄積された電荷に基づいてピクセル信号を生成するステップと、を有することを特徴とする。
【発明の効果】
【0008】
本発明に係るイメージセンサー及びイメージセンサーの駆動方法によれば、入射した光量が相対的に少ない低照度環境で、光電荷は、一つのフローティングディフュージョンノードに保存され、入射した光量が相対的に多い高照度環境では、光電荷光電素子、ストレージゲートトランジスタ、及び第2キャパシタに、一定の割合で分けて保存される。
したがって、ピクセルを含むイメージセンサーは、比較的高照度環境でも、イメージ信号をセンシングすることができるため、広いダイナミックレンジを確保することができる。
【図面の簡単な説明】
【0009】
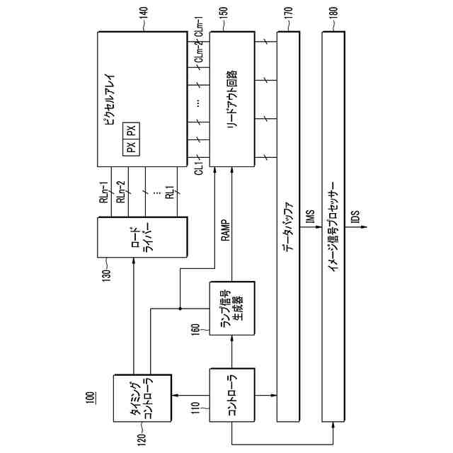
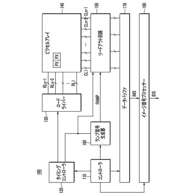
本発明の実施形態によるイメージセンサーの概略構成を示すブロック図である。
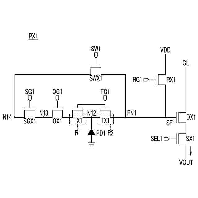
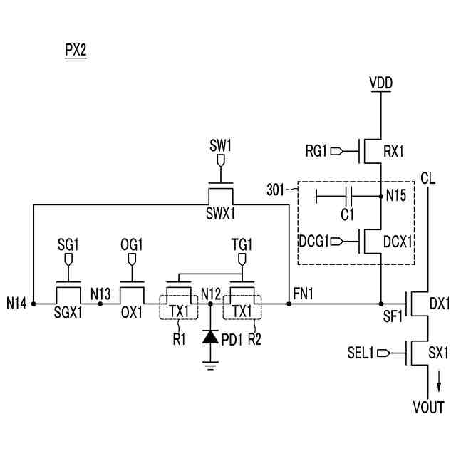
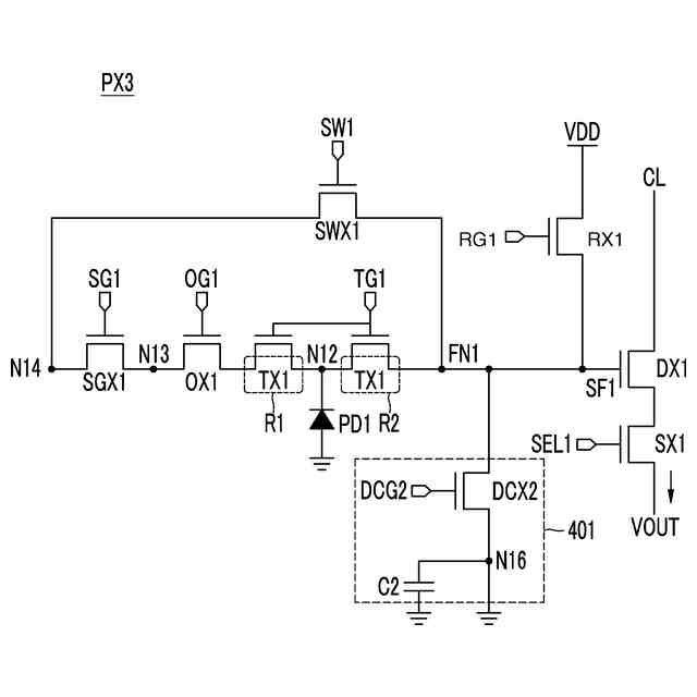
本発明の実施形態によるピクセルの回路図である。
本発明の実施形態によるピクセルの回路図である。
本発明の実施形態によるピクセルの回路図である。
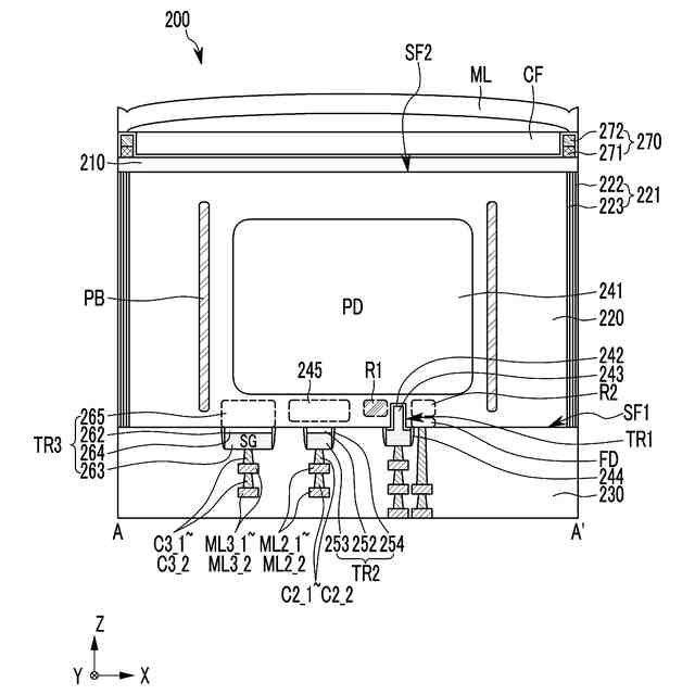
本発明の実施形態によるピクセルを概略的に示す平面図である。
図5によるピクセルの概略断面図である。
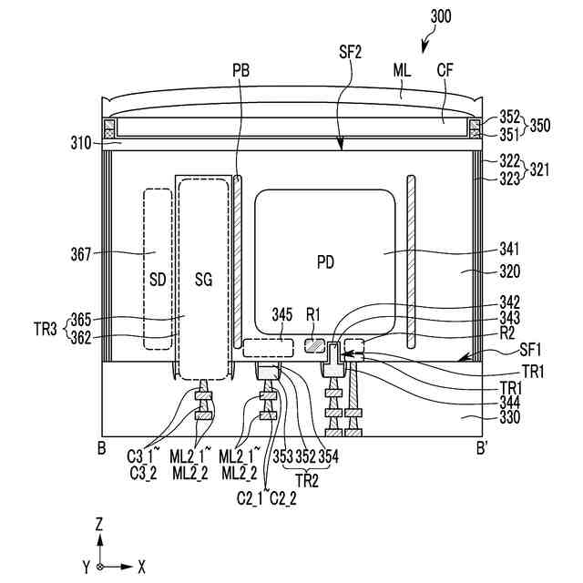
本発明の実施形態によるピクセルを概略的に示す平面図である。
図7によるピクセルの概略断面図である。
本発明の実施形態によるピクセルを概略的に示す平面図である。
図9によるピクセルの概略断面図である。
本発明の実施形態によるイメージセンサーの動作を示すタイミング図である。
ピクセル内ポテンシャル準位の変化を示す図である。
ピクセル内ポテンシャル準位の変化を示す図である。
図11のイメージセンサーの動作について経時的な電荷量を示すグラフである。
本発明の実施形態によるイメージセンサーの動作を示すタイミング図である。
図15のイメージセンサーの動作に対して時間に応じた電荷量を示すグラフでる。
本発明の実施形態によるイメージセンサーの動作を示すタイミング図である。
図17のイメージセンサーの動作について経時的な電荷量を示すグラフである。
本発明の実施形態によるイメージセンサーの動作を示すタイミング図である。
図19のイメージセンサーの動作について経時的な電荷量を示すグラフである。
本発明の実施形態によるイメージセンサーの動作を示すタイミング図である。
図21のイメージセンサーの動作について経時的な電荷量を示すグラフである。
本発明の実施形態によるピクセルの回路図である。
本発明の実施形態によるピクセルの回路図である。
本発明の実施形態によるピクセルの回路図である。
本発明の実施形態によるイメージセンサーの動作を示すタイミング図である。
本発明の実施形態によるピクセルの回路図である。
図27によるピクセルの概略断面図である。
本発明の実施形態による電子装置の概略構成を示すブロック図である。
図29によるカメラモジュールの詳細ブロック図である。
【発明を実施するための形態】
【0010】
次に、本発明に係るイメージセンサー及びイメージセンサーの駆動方法を実施するための形態の具体例を図面を参照しながら説明する。
(【0011】以降は省略されています)
この特許をJ-PlatPat(特許庁公式サイト)で参照する
関連特許
三星電子株式会社
冷蔵庫
1か月前
三星電子株式会社
冷蔵庫
1か月前
三星電子株式会社
半導体装置
4日前
三星電子株式会社
半導体装置
26日前
三星電子株式会社
半導体装置
12日前
三星電子株式会社
半導体装置
1か月前
三星電子株式会社
固体撮像装置
1か月前
三星電子株式会社
イメージセンサ
25日前
三星電子株式会社
モータ駆動装置
1か月前
三星電子株式会社
イメージセンサ
3日前
三星電子株式会社
半導体パッケージ
25日前
三星電子株式会社
半導体パッケージ
4日前
三星電子株式会社
イメージセンサー
11日前
三星電子株式会社
半導体パッケージ
17日前
三星電子株式会社
半導体パッケージ
24日前
三星電子株式会社
イメージセンサー
1か月前
三星電子株式会社
集積回路パッケージ
1か月前
三星電子株式会社
集積回路装置の製造方法
19日前
三星電子株式会社
トランスフォーマー加速装置
12日前
三星電子株式会社
半導体装置およびその製造方法
4日前
三星電子株式会社
イメージセンサ及びその動作方法
1か月前
三星電子株式会社
スペーサを含む半導体パッケージ
3日前
三星電子株式会社
イメージセンサ及びその動作方法
25日前
三星電子株式会社
半導体パッケージ及びその製造方法
11日前
三星電子株式会社
車両の走行を制御する方法と装置及び車両
3日前
三星電子株式会社
半導体装置及びこれを含むデータ記憶システム
1か月前
三星電子株式会社
半導体装置及びこれを含むデータ記憶システム
3日前
三星電子株式会社
オンチップ偏光ルーティングのシステム及び方法
4日前
三星電子株式会社
イメージセンサー及びイメージセンサーの駆動方法
4日前
三星電子株式会社
レジスト組成物及びそれを用いたパターン形成方法
11日前
三星電子株式会社
イメージセンサー及びその動作方法並びに電子装置
11日前
三星電子株式会社
半導体パッケージング用フィルム及びその製造方法
24日前
三星電子株式会社
レジスト組成物及びそれを用いたパターン形成方法
24日前
三星電子株式会社
プラズマエッチング工程を含む半導体素子の製造方法
1か月前
三星電子株式会社
後面構造物を含む半導体チップを含む半導体パッケージ
1か月前
三星電子株式会社
ポリマー、それを含むレジスト組成物、及びそれを用いたパターン形成方法
25日前
続きを見る
他の特許を見る