TOP
|
特許
|
意匠
|
商標
特許ウォッチ
Twitter
他の特許を見る
10個以上の画像は省略されています。
公開番号
2025169878
公報種別
公開特許公報(A)
公開日
2025-11-14
出願番号
2025019343
出願日
2025-02-07
発明の名称
半導体パッケージ
出願人
三星電子株式会社
,
Samsung Electronics Co.,Ltd.
代理人
弁理士法人共生国際特許事務所
主分類
H01L
25/07 20060101AFI20251107BHJP(基本的電気素子)
要約
【課題】電気的特性が向上された半導体パッケージを提供する。
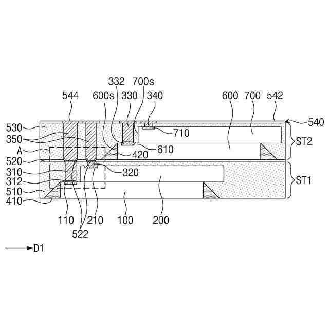
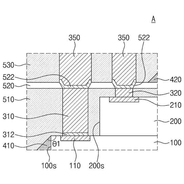
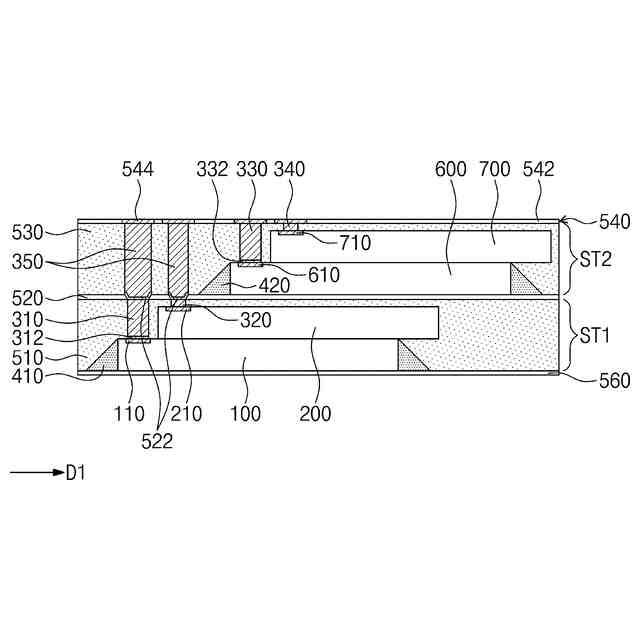
【解決手段】本発明による半導体パッケージは、第1構造体ST1と、第2構造体ST2と、を有し、第1構造体は、第1半導体チップ100と、第1半導体チップ上に配置され、第1方向に第1半導体チップと水平にシフトされて配置される第2半導体チップ200と、第1半導体チップの側面を覆い、第1半導体チップの下部面から第1半導体チップの上部面に向かうほど幅が減少する第1絶縁パターン410と、第1半導体チップ、第2半導体チップ及び第1絶縁パターンを囲む第1モールディング膜510と、第1モールディング膜を垂直に貫通して第1半導体チップの上部面に接続される第1導電ポスト310と、第2半導体チップの上部面に接続され、第1モールディング膜の上部面上に露出される第2導電ポスト320と、を含む。
【選択図】図1
特許請求の範囲
【請求項1】
第1構造体と、
第2構造体と、を有し、
前記第1構造体は、
第1半導体チップと、
前記第1半導体チップ上に配置され、第1方向に前記第1半導体チップと水平にシフト(shift)されて配置される第2半導体チップと、
前記第1半導体チップの側面を覆う第1絶縁パターンと、
ここで、前記第1絶縁パターンの幅は、前記第1半導体チップの下部面から前記第1半導体チップの上部面に向かうほど減少し、
前記第1半導体チップ、前記第2半導体チップ、及び前記第1絶縁パターンを囲む第1モールディング膜と、
前記第1モールディング膜を垂直に貫通して前記第1半導体チップの前記上部面に接続される第1導電ポストと、
前記第2半導体チップの上部面に接続され、前記第1モールディング膜の上部面上に露出される第2導電ポストと、を含むことを特徴とする半導体パッケージ。
続きを表示(約 1,600 文字)
【請求項2】
前記第1半導体チップは、前記第1半導体チップの前記上部面上に提供され、前記第2半導体チップの前記第1方向の反対方向に配置される第1チップパッドを含み、
前記第1構造体は、前記第1導電ポストと前記第1チップパッドとの間に介在する第1シードパターンをさらに含むことを特徴とする請求項1に記載の半導体パッケージ。
【請求項3】
前記第2構造体は、前記第1構造体上に配置され、
前記第2構造体は、
第3半導体チップと、
前記第3半導体チップ上に配置され、前記第1方向に前記第1半導体チップと水平にシフト(shift)されて配置される第4半導体チップと、
前記第3半導体チップの側面を覆う第2絶縁パターンと、
ここで、前記第2絶縁パターンの幅は、前記第3半導体チップの下部面から前記第3半導体チップの上部面に向かうほど減少し、
前記第3半導体チップ、前記第4半導体チップ、及び前記第2絶縁パターンを囲む第2モールディング膜と、
前記第2モールディング膜を垂直に貫通して前記第3半導体チップの前記上部面に接続される第3導電ポストと、
前記第4半導体チップの上部面に接続され、前記第2モールディング膜の上部面上に露出される第4導電ポストと、
前記第2モールディング膜を垂直に貫通して前記第1構造体の前記第1及び第2導電ポストと電気的に接続される第5導電ポストと、を含むことを特徴とする請求項1に記載の半導体パッケージ。
【請求項4】
前記第1構造体と前記第2構造体との間に介在するパッシベーション膜をさらに有し、
前記パッシベーション膜は、前記第1構造体の第1モールディング膜の上部面を覆い、
前記パッシベーション膜は、前記第2構造体の前記第2モールディング膜の下部面、前記第3半導体チップの前記下部面、及び前記第2絶縁パターンの下部面を覆うことを特徴とする請求項3に記載の半導体パッケージ。
【請求項5】
前記第2構造体上に配置される外部パッドをさらに有し、
前記外部パッドは、前記第2構造体の前記第2モールディング膜の前記上部面上に提供され、
前記外部パッドは、前記第2構造体の前記第3~第5導電ポストと接続されることを特徴とする請求項3に記載の半導体パッケージ。
【請求項6】
前記第2構造体上に配置される再配線基板をさらに有し、
前記再配線基板は、前記第2構造体の前記第2モールディング膜を覆う基板絶縁層と、前記基板絶縁層内に提供される基板配線パターンと、を含み、
前記基板配線パターンは、前記基板絶縁層を貫通して前記第2構造体の前記第3~第5導電ポストの上部面に接続されることを特徴とする請求項3に記載の半導体パッケージ。
【請求項7】
前記第1絶縁パターンは、前記第1半導体チップの前記側面全体を覆い、
前記第1絶縁パターンの最上端は、前記第1半導体チップの前記上部面と同一の垂直レベルに位置することを特徴とする請求項1に記載の半導体パッケージ。
【請求項8】
前記第1絶縁パターンの前記最上端は、前記第1半導体チップの前記上部面と接し、
前記第1絶縁パターンは、前記第1半導体チップの前記上部面と接続される傾斜面を有することを特徴とする請求項1に記載の半導体パッケージ。
【請求項9】
前記第1モールディング膜は、前記第2半導体チップの側面と接することを特徴とする請求項1に記載の半導体パッケージ。
【請求項10】
前記第1モールディング膜の下部面、前記第1半導体チップの前記下部面、及び前記第1絶縁パターンの下部面は、共面(coplanar)を成すことを特徴とする請求項1に記載の半導体パッケージ。
(【請求項11】以降は省略されています)
発明の詳細な説明
【技術分野】
【0001】
本発明は、半導体パッケージに関し、特に電気的特性が向上された半導体パッケージに関する。
続きを表示(約 2,600 文字)
【背景技術】
【0002】
電子産業の発達によって電子部品の高機能化、高速化、及び小型化要求が増大されている。
このような傾向に対応して、最近のパッケージング技術は、1つのパッケージ内に複数の半導体チップを搭載する方向に進行している。
半導体パッケージは、集積回路チップを電子製品に使用する適合な形態で具現したものである。
通常的に、半導体パッケージは、印刷回路基板(PCB)上に半導体チップを実装し、ボンディングワイヤ又はバンプを利用してこれらを電気的に接続することが一般的である。
【0003】
近年、電子産業が発展することにつれ、半導体パッケージは、小型化、軽量化、製造費用の節減に目標を置き、様々な方向に発展している。
また、その応用分野が大容量格納手段等に拡張されることによって多様な種類の半導体パッケージが登場している。
半導体チップが高集積化するにつれて、半導体チップのサイズは、だんだん減少している。
【0004】
しかし、半導体チップが小さくなることによって、望む数のソルダボールの付着が難しくなり、ソルダボールのハンドリングとテストも難しくなる。
それと共に、半導体チップのサイズに応じて実装されるボードを多元化しなければならない問題点がある。
これを解決するために、ファンアウトパッケージ(fan-out package)が提案された。
【先行技術文献】
【特許文献】
【0005】
米国特許第10,643,973号明細書
【発明の概要】
【発明が解決しようとする課題】
【0006】
本発明は上記従来の半導体パッケージにおける問題点に鑑みてなされたものであって、本発明の目的は、電気的特性が向上された半導体パッケージを提供することにある。
また、本発明の他の目的は、構造的安定性が向上された半導体パッケージを提供することにある。
また、本発明の他の目的は、製造工程が単純な半導体パッケージの製造方法を通じて製造された半導体パッケージを提供することにある。
【課題を解決するための手段】
【0007】
上記目的を達成するためになされた本発明による半導体パッケージは、第1構造体と、第2構造体と、を有し、前記第1構造体は、第1半導体チップと、前記第1半導体チップ上に配置され、第1方向に前記第1半導体チップと水平にシフト(shift)されて配置される第2半導体チップと、前記第1半導体チップの側面を覆う第1絶縁パターンと、ここで、前記第1絶縁パターンの幅は、前記第1半導体チップの下部面から前記第1半導体チップの上部面に向かうほど減少し、前記第1半導体チップ、前記第2半導体チップ、及び前記第1絶縁パターンを囲む第1モールディング膜と、前記第1モールディング膜を垂直に貫通して前記第1半導体チップの前記上部面に接続される第1導電ポストと、前記第2半導体チップの上部面に接続され、前記第1モールディング膜の上部面上に露出される第2導電ポストと、を含むことを特徴とする。
【0008】
また、上記目的を達成するためになされた本発明による半導体パッケージは、相互積層される複数の第1半導体チップを含む第1チップスタックと、ここで、前記第1半導体チップの各々は、それらの上部面に提供される第1チップパッドを含み、前記第1チップスタックを覆う第1モールディング膜と、前記第1モールディング膜の上部面を覆うパッシベーション膜と、前記第1モールディング膜を垂直に貫通して前記第1チップパッドに接続される第1導電ポストと、前記パッシベーション膜を垂直に貫通し、前記第1導電ポストと接続される第1シードパターンと、を有することを特徴とする。
【0009】
また、上記目的を達成するためになされた本発明による半導体パッケージは、第1構造体を有し、前記第1構造体は、第1半導体チップと、ここで、前記第1半導体チップは、前記第1半導体チップの上部面に提供される第1チップパッドを含み、前記第1半導体チップ上に配置され、第1方向に前記第1半導体チップと水平にシフト(shift)されて配置される第2半導体チップと、ここで、前記第2半導体チップは、前記第2半導体チップの上部面に提供される第2チップパッドを含み、前記第1半導体チップ及び前記第2半導体チップを覆う第1モールディング膜と、前記第1チップパッドの上部面に提供される第1シードパターンと、前記第1モールディング膜を垂直に貫通して前記第1シードパターンと接する第1導電ポストと、前記第1モールディング膜を垂直に貫通して前記第2チップパッドと接する第2導電ポストと、を有することを特徴とする。
【0010】
上述した技術的課題を解決するための本発明の実施形態による半導体パッケージの製造方法は、キャリヤー基板上に第1半導体チップを付着する段階と、前記第1半導体チップの側面上に第1絶縁パターンを形成する段階と、ここで、前記第1絶縁パターンは前記キャリヤー基板の上部面及び前記第1半導体チップの上部面を接続する傾斜面を有し、前記キャリヤー基板、前記第1絶縁パターン及び前記第1半導体チップを覆う第1シード膜を形成する段階と、前記第1シード膜上に第1導電ポストを形成する段階と、ここで、前記第1導電ポストは、前記第1半導体チップ上に位置し、前記第1導電ポストをマスクとして前記第1シード膜をパターニングする段階と、前記第1導電ポストと水平に離隔されるように前記第1半導体チップ上に第2半導体チップを付着する段階と、ここで、前記第2半導体チップは、前記第2半導体チップの上部面に提供される第2導電ポストを有し、前記キャリヤー基板上に前記第1及び第2半導体チップを覆う第1モールディング膜を形成する段階と、前記第1モールディング膜を覆い、前記第1及び第2導電ポストを露出する開口を有するパッシベーション膜を形成する段階と、を有することを特徴とする。
【発明の効果】
(【0011】以降は省略されています)
この特許をJ-PlatPat(特許庁公式サイト)で参照する
関連特許
三星電子株式会社
冷蔵庫
1か月前
三星電子株式会社
冷蔵庫
1か月前
三星電子株式会社
半導体素子
1日前
三星電子株式会社
半導体装置
1か月前
三星電子株式会社
半導体装置
22日前
三星電子株式会社
半導体装置
14日前
三星電子株式会社
光電変換装置
今日
三星電子株式会社
固体撮像装置
1か月前
三星電子株式会社
イメージセンサ
1か月前
三星電子株式会社
イメージセンサ
13日前
三星電子株式会社
半導体パッケージ
14日前
三星電子株式会社
半導体パッケージ
1か月前
三星電子株式会社
半導体パッケージ
1か月前
三星電子株式会社
半導体パッケージ
27日前
三星電子株式会社
イメージセンサー
21日前
三星電子株式会社
半導体パッケージ
6日前
三星電子株式会社
集積回路パッケージ
1か月前
三星電子株式会社
集積回路装置の製造方法
29日前
三星電子株式会社
半導体素子及びその製造方法
6日前
三星電子株式会社
トランスフォーマー加速装置
22日前
三星電子株式会社
半導体装置およびその製造方法
14日前
三星電子株式会社
イメージセンサ及びその動作方法
1か月前
三星電子株式会社
スペーサを含む半導体パッケージ
13日前
三星電子株式会社
イメージセンサ及びその動作方法
1か月前
三星電子株式会社
半導体パッケージ及びその製造方法
8日前
三星電子株式会社
半導体パッケージ及びその製造方法
21日前
三星電子株式会社
車両の走行を制御する方法と装置及び車両
13日前
三星電子株式会社
基板処理装置及びそれを含む半導体製造設備
1日前
三星電子株式会社
半導体装置及びこれを含むデータ記憶システム
1か月前
三星電子株式会社
半導体装置及びそれを含むデータ記憶システム
6日前
三星電子株式会社
半導体装置及びこれを含むデータ記憶システム
13日前
三星電子株式会社
オンチップ偏光ルーティングのシステム及び方法
14日前
三星電子株式会社
イメージセンサー及びイメージセンサーの駆動方法
14日前
三星電子株式会社
レジスト組成物及びそれを用いたパターン形成方法
1か月前
三星電子株式会社
イメージセンサー及びその動作方法並びに電子装置
21日前
三星電子株式会社
半導体パッケージング用フィルム及びその製造方法
1か月前
続きを見る
他の特許を見る