TOP
|
特許
|
意匠
|
商標
特許ウォッチ
Twitter
他の特許を見る
10個以上の画像は省略されています。
公開番号
2025175969
公報種別
公開特許公報(A)
公開日
2025-12-03
出願番号
2025082287
出願日
2025-05-16
発明の名称
半導体パッケージ及びその製造方法
出願人
三星電子株式会社
,
Samsung Electronics Co.,Ltd.
代理人
弁理士法人ITOH
主分類
H01L
25/07 20060101AFI20251126BHJP(基本的電気素子)
要約
【課題】スモールフォームファクタを具現化して放熱特性を極大化し、信頼性を向上させることができる半導体パッケージ、及びその製造方法を提供する。
【解決手段】半導体パッケージは、第1再配線基板と、第1再配線基板上に第1方向に右側に配置された第1半導体チップと、第1再配線基板上に第1方向に第1半導体チップの左側に配置された第1貫通ポストと、第1半導体チップと第1貫通ポスト上に配置された第2再配線基板と、第2再配線基板上に第1方向に左側に配置された第2半導体チップと、第2再配線基板上に第1方向に第2半導体チップの右側に配置された第2貫通ポストと、第2再配線基板と第2貫通ポスト上に配置された第3再配線基板と、第3再配線基板上に第1方向に左側に配置された放熱ブロックと、第3再配線基板上に第1方向に放熱ブロックの右側に配置された半導体素子と、を含む。
【選択図】図1
特許請求の範囲
【請求項1】
第1再配線基板と、
前記第1再配線基板上に第1方向に右側に配置された第1半導体チップと、
前記第1再配線基板上に前記第1方向に前記第1半導体チップの左側に配置された第1貫通ポストと、
前記第1半導体チップと第1貫通ポスト上に配置された第2再配線基板と、
前記第2再配線基板上に第1方向に左側に配置された第2半導体チップと、
前記第2再配線基板上に前記第1方向に前記第2半導体チップの右側に配置された第2貫通ポストと、
前記第2再配線基板と第2貫通ポスト上に配置された第3再配線基板と、
前記第3再配線基板上に第1方向に左側に配置された放熱ブロックと、
前記第3再配線基板上に前記第1方向に前記放熱ブロックの右側に配置された半導体素子と、を含む、半導体パッケージ。
続きを表示(約 1,500 文字)
【請求項2】
前記第1半導体チップと第2半導体チップは、前記第1再配線基板の上面に垂直な垂直方向に、その少なくとも一部が互いに重畳したことを特徴とする請求項1に記載の半導体パッケージ。
【請求項3】
前記放熱ブロックは、前記第1再配線基板の上面に垂直な垂直方向に前記第2半導体チップに重畳したことを特徴とする請求項1に記載の半導体パッケージ。
【請求項4】
前記第1貫通ポストは、前記第2貫通ポストより多いことを特徴とする請求項1に記載の半導体パッケージ。
【請求項5】
前記第1半導体チップは、その上面が活性面であり、前記第1半導体チップの上面が前記第2再配線基板の下面に結合し、
前記第2半導体チップは、その下面が活性面であり、前記第2半導体チップの下面が前記第2再配線基板の上面に結合し、
前記第1半導体チップの活性層は、前記第2再配線基板を介して前記第2半導体チップの活性層に連結されたことを特徴とする請求項1に記載の半導体パッケージ。
【請求項6】
前記第1半導体チップは、その内部に貫通電極を含み、
前記第1半導体チップは、その下面が活性面であり、前記第1半導体チップの上面が前記第2再配線基板の下面に結合し、
前記第2半導体チップは、その下面が活性面であり、前記第2半導体チップの下面が前記第2再配線基板の上面に結合し、
前記第1半導体チップの活性層は、前記貫通電極と前記第2再配線基板を介して前記第2半導体チップの活性層に連結されたことを特徴とする請求項1に記載の半導体パッケージ。
【請求項7】
前記第1再配線基板上に前記第1方向に、前記第1半導体チップの右側に配置された第3貫通ポストをさらに含むことを特徴とする請求項1に記載の半導体パッケージ。
【請求項8】
前記第1再配線基板と第2再配線基板との間に配置され、前記第1貫通ポストの側面、及び前記第1半導体チップの側面と上面を覆う第1シーリング材と、
前記第2再配線基板と第3再配線基板との間に配置され、前記第2貫通ポストの側面、及び前記第2半導体チップの側面と下面を覆う第2シーリング材と、をさらに含むことを特徴とする請求項1に記載の半導体パッケージ。
【請求項9】
第1再配線基板と、
前記第1再配線基板上に第1方向に右側に配置された第1半導体チップと、
前記第1再配線基板上に前記第1方向に前記第1半導体チップの左側に配置された第1貫通ポストと、
前記第1半導体チップ上に配置された第2貫通ポストと、
前記第1貫通ポスト上に配置された第2半導体チップと、
前記第2半導体チップと第2貫通ポスト上に配置された第2再配線基板と、
前記第2再配線基板上に第1方向に左側に配置された放熱ブロックと、
前記第3再配線基板上に前記第1方向に前記放熱ブロックの右側に配置された半導体素子と、
前記第1再配線基板と第2再配線基板との間に配置され、前記第1貫通ポストと第2貫通ポストの側面、前記第1半導体チップの側面と上面、及び前記第2半導体チップの側面と下面を覆うシーリング材と、
前記第1再配線基板の下面上に配置された外部連結端子と、を含む、半導体パッケージ。
【請求項10】
前記第1半導体チップと第2半導体チップは、前記第1再配線基板の上面に垂直な垂直方向に、その少なくとも一部が互いに重畳し、
前記放熱ブロックは、前記垂直方向に前記第2半導体チップに重畳したことを特徴とする請求項9に記載の半導体パッケージ。
(【請求項11】以降は省略されています)
発明の詳細な説明
【技術分野】
【0001】
本発明は、半導体パッケージに係り、より詳細には、2個のロジックチップを含む半導体パッケージ及びその製造方法に関する。
続きを表示(約 2,800 文字)
【背景技術】
【0002】
電子産業の飛躍的な発展及びユーザのニーズに応じて、電子機器は、さらに小型化及び軽量化しつつある。電子機器の小型化及び軽量化につれて、それに使われる半導体パッケージも小型化及び軽量化し、また半導体パッケージは、高性能及び大容量と共に高い信頼性が要求されている。このような半導体パッケージが高性能及び高容量化するにつれて、半導体パッケージの消耗電力が増加しつつある。これによって、半導体パッケージのサイズ縮小と性能向上、及び半導体パッケージの放熱特性へのニーズが高まりつつある。
【発明の概要】
【発明が解決しようとする課題】
【0003】
本発明が解決しようとする課題は、スモールフォームファクタを具現化して放熱特性を極大化し、信頼性を向上させることができる半導体パッケージ、及びその製造方法を提供することである。
【0004】
また、本発明が解決しようとする課題は、以上で言及した課題に制限されず、他の課題は、下記の記載から当業者に明らかに理解される。
【課題を解決するための手段】
【0005】
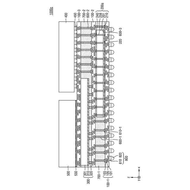
前記課題を解決するために、本発明は、第1再配線基板と、前記第1再配線基板上に第1方向に右側に配置された第1半導体チップと、前記第1再配線基板上に前記第1方向に前記第1半導体チップの左側に配置された第1貫通ポストと、前記第1半導体チップと第1貫通ポスト上に配置された第2再配線基板と、前記第2再配線基板上に第1方向に左側に配置された第2半導体チップと、前記第2再配線基板上に前記第1方向に前記第2半導体チップの右側に配置された第2貫通ポストと、前記第2再配線基板と第2貫通ポスト上に配置された第3再配線基板と、前記第3再配線基板上に第1方向に左側に配置された放熱ブロックと、前記第3再配線基板上に前記第1方向に前記放熱ブロックの右側に配置された半導体素子と、を含む、半導体パッケージを提供する。
【0006】
また、前記課題を解決するために、本発明は、第1再配線基板と、前記第1再配線基板上に第1方向に右側に配置された第1半導体チップと、前記第1再配線基板上に前記第1方向に前記第1半導体チップの左側に配置された第1貫通ポストと、前記第1半導体チップ上に配置された第2貫通ポストと、前記第1貫通ポスト上に配置された第2半導体チップと、前記第2半導体チップと第2貫通ポスト上に配置された第2再配線基板と、前記第2再配線基板上に第1方向に左側に配置された放熱ブロックと、前記第3再配線基板上に前記第1方向に前記放熱ブロックの右側に配置された半導体素子と、前記第1再配線基板と第2再配線基板との間に配置され、前記第1貫通ポストと第2貫通ポストの側面、前記第1半導体素子の側面と上面、及び前記第2半導体素子の側面と下面を覆うシーリング材と、前記第1再配線基板の下面上に配置された外部連結端子と、を含む、半導体パッケージを提供する。
【0007】
さらに、前記課題を解決するために、本発明は、第1再配線基板と、前記第1再配線基板上に第1方向に右側に配置された第1半導体チップと、前記第1再配線基板上に前記第1方向に前記第1半導体チップの左側に配置された第1貫通ポストと、前記第1半導体チップ上に配置された第2貫通ポストと、前記第1貫通ポスト上に配置された第2半導体チップと、前記第2半導体チップと第2貫通ポスト上に配置された第2再配線基板と、前記第2再配線基板上に第1方向に左側に配置された放熱ブロックと、前記第3再配線基板上に前記第1方向に前記放熱ブロックの右側に配置された半導体素子と、を含む、半導体パッケージを提供する。
【0008】
一方、前記課題を解決するために、本発明は、第1再配線基板を形成する段階と、前記第1再配線基板上に第1方向に左側に第1貫通ポストを形成する段階と、前記第1再配線基板上に前記第1方向に前記第1貫通ポストの右側に第1半導体チップを配置する段階と、前記第1貫通ポストと第1半導体チップ上に第2再配線基板を形成する段階と、前記第2再配線基板上に前記第1方向に右側に第2貫通ポストを形成する段階と、前記第2再配線基板上に前記第1方向に前記第2貫通ポストの左側に第2半導体チップを配置する段階と、前記第2半導体チップと第2貫通ポスト上に第3再配線基板を形成する段階と、前記第3再配線基板上に前記第1方向に左側に放熱ブロックを配置し、前記第1方向に前記放熱ブロックの右側に半導体素子を配置する段階と、を含む、半導体パッケージの製造方法を提供する。
【0009】
一方、前記課題を解決するために、本発明は、第1再配線基板を形成する段階と、前記第1再配線基板上に第1方向に左側に第1貫通ポストを形成する段階と、前記第1再配線基板上に前記第1方向に前記第1貫通ポストの右側に第1半導体チップを配置する段階と、前記第1貫通ポストの側面、及び前記第1半導体チップの側面と上面を覆う第1シーリング材を形成する段階と、前記第1半導体チップ上に第2貫通ポストを形成する段階と、前記下部シーリング材上に前記第1方向に前記第2貫通ポストの左側に第2半導体チップを配置する段階と、前記第2貫通ポストの側面、及び前記第2半導体チップの側面と下面を覆う上部シーリング材を形成する段階と、前記第2半導体チップと第2上部シーリング材上に第2再配線基板を形成する段階と、前記第2再配線基板上に前記第1方向に左側に放熱ブロックを配置し、前記放熱ブロックの右側に半導体素子を配置する段階と、を含む、半導体パッケージの製造方法を提供する。
【発明の効果】
【0010】
本発明による半導体パッケージは、FOWLP構造を有して放熱特性の向上、スモールフォームファクタ(small
form factor)の具現化、及び信頼性の向上を同時に具現化することができる。例えば、放熱ブロックが上部APチップである第2半導体チップにほぼ重畳する構造で第3再配線基板上に配置されることによって、第2半導体チップの放熱効果が向上する。また、下部APチップである第1半導体チップと、上部APチップである第2半導体チップとがz方向に重畳する構造で配置されることによって、半導体パッケージはスモールフォームファクタを具現化することができる。さらに、第1半導体チップと第2半導体チップとの連結経路が短くなることによって、SI(Signal
Integrity)特性と信頼性が向上した半導体パッケージを具現化可能にする。
【図面の簡単な説明】
(【0011】以降は省略されています)
この特許をJ-PlatPat(特許庁公式サイト)で参照する
関連特許
三星電子株式会社
冷蔵庫
1か月前
三星電子株式会社
冷蔵庫
1か月前
三星電子株式会社
半導体装置
28日前
三星電子株式会社
半導体装置
1か月前
三星電子株式会社
半導体装置
6日前
三星電子株式会社
半導体装置
14日前
三星電子株式会社
固体撮像装置
1か月前
三星電子株式会社
イメージセンサ
27日前
三星電子株式会社
イメージセンサ
5日前
三星電子株式会社
モータ駆動装置
1か月前
三星電子株式会社
半導体パッケージ
26日前
三星電子株式会社
半導体パッケージ
19日前
三星電子株式会社
イメージセンサー
13日前
三星電子株式会社
半導体パッケージ
27日前
三星電子株式会社
半導体パッケージ
6日前
三星電子株式会社
イメージセンサー
1か月前
三星電子株式会社
集積回路パッケージ
1か月前
三星電子株式会社
集積回路装置の製造方法
21日前
三星電子株式会社
トランスフォーマー加速装置
14日前
三星電子株式会社
半導体装置およびその製造方法
6日前
三星電子株式会社
周辺回路領域を含む半導体素子
1か月前
三星電子株式会社
イメージセンサ及びその動作方法
27日前
三星電子株式会社
イメージセンサ及びその動作方法
1か月前
三星電子株式会社
スペーサを含む半導体パッケージ
5日前
三星電子株式会社
半導体パッケージ及びその製造方法
今日
三星電子株式会社
半導体パッケージ及びその製造方法
13日前
三星電子株式会社
車両の走行を制御する方法と装置及び車両
5日前
三星電子株式会社
半導体装置及びこれを含むデータ記憶システム
5日前
三星電子株式会社
半導体装置及びこれを含むデータ記憶システム
1か月前
三星電子株式会社
オンチップ偏光ルーティングのシステム及び方法
6日前
三星電子株式会社
レジスト組成物及びそれを用いたパターン形成方法
26日前
三星電子株式会社
レジスト組成物及びそれを用いたパターン形成方法
13日前
三星電子株式会社
半導体パッケージング用フィルム及びその製造方法
26日前
三星電子株式会社
イメージセンサー及びイメージセンサーの駆動方法
6日前
三星電子株式会社
イメージセンサー及びその動作方法並びに電子装置
13日前
三星電子株式会社
プラズマエッチング工程を含む半導体素子の製造方法
1か月前
続きを見る
他の特許を見る