TOP
|
特許
|
意匠
|
商標
特許ウォッチ
Twitter
他の特許を見る
10個以上の画像は省略されています。
公開番号
2025170748
公報種別
公開特許公報(A)
公開日
2025-11-19
出願番号
2025047417
出願日
2025-03-21
発明の名称
半導体装置
出願人
三星電子株式会社
,
Samsung Electronics Co.,Ltd.
代理人
弁理士法人共生国際特許事務所
主分類
H10D
89/00 20250101AFI20251112BHJP()
要約
【課題】電気的特性及び集積度がより向上された半導体装置を提供する。
【解決手段】半導体装置は、下部配線を含む下部配線層LMSと、上部配線を含む上部配線層UMSと、下部配線層LMSと上部配線層UMSの間に配置されるパワーゲーティングセルPGCとを有し、パワーゲーティングセルは、第1、第2下部ソース/ドレーンパターンLSD1、LSD2及びそれを接続する第1チャンネルパターンSP1を含む基板100の上の下部活性領域LAR1と、第1、第2上部ソース/ドレーンパターンUSD1、USD2と下部活性領域上とに積層される上部活性領域UAR1と、第1チャンネルパターンを囲み、基板の上面と平行である第1方向に延長されるパワーゲート電極PGEと、を含み、下部配線層LMSは、第1下部ソース/ドレーンパターンと接続されるグローバルパワーライン及び第2下部ソース/ドレーンパターンと接続されるローカルパワーラインを含む。
【選択図】図5A
特許請求の範囲
【請求項1】
下部配線を含む下部配線層と、
上部配線を含む上部配線層と、
前記下部配線層と前記上部配線層との間に配置されるパワーゲーティングセルと、を有し、
前記パワーゲーティングセルは、
基板の上の第1活性領域と、
ここで、前記第1活性領域は、第1及び第2下部ソース/ドレーンパターン及び前記第1及び第2下部ソース/ドレーンパターンを接続する第1チャンネルパターンを含み、
前記第1活性領域上に積層される第2活性領域と、
ここで、前記第2活性領域は、第1及び第2上部ソース/ドレーンパターンを含み、
前記第1チャンネルパターンを囲み、前記基板の上面と平行である第1方向に延長されるパワーゲート電極と、を含み、
前記下部配線層は、
前記第1下部ソース/ドレーンパターンと接続されるグローバルパワーラインと、
前記第2下部ソース/ドレーンパターンと接続されるローカルパワーラインと、を含むことを特徴とする半導体装置。
続きを表示(約 1,000 文字)
【請求項2】
前記グローバルパワーライン及び前記ローカルパワーラインは、前記基板の上面と平行であり、前記第1方向と交差する第2方向に沿って延長され、
前記グローバルパワーラインは、平面視において、前記パワーゲート電極を介して前記ローカルパワーラインと前記第2方向に互いに離隔されることを特徴とする請求項1に記載の半導体装置。
【請求項3】
前記第2下部ソース/ドレーンパターンと前記第2上部ソース/ドレーンパターンを接続する貫通活性コンタクトをさらに有することを特徴とする請求項1に記載の半導体装置。
【請求項4】
前記上部配線層は、前記貫通活性コンタクトと接続される上部ローカルパワーラインをさらに含むことを特徴とする請求項3に記載の半導体装置。
【請求項5】
前記上部ローカルパワーラインの線幅は、前記上部配線の線幅より大きいことを特徴とする請求項4に記載の半導体装置。
【請求項6】
前記パワーゲート電極と平行に前記第1方向に延長され、前記第1下部ソース/ドレーンパターンと接する第1分離パターンと、
前記パワーゲート電極と平行に前記第1方向に延長され、前記第2下部ソース/ドレーンパターンと接する第2分離パターンと、をさらに有することを特徴とする請求項1に記載の半導体装置。
【請求項7】
前記第2分離パターンは、垂直に延長されて前記第2上部ソース/ドレーンパターンと接することを特徴とする請求項6に記載の半導体装置。
【請求項8】
前記第2活性領域は、前記第1上部ソース/ドレーンパターンと前記第2上部ソース/ドレーンパターンとの間の第3分離パターンをさらに含み、
前記第3分離パターンは、前記パワーゲート電極と重畳されることを特徴とする請求項7に記載の半導体装置。
【請求項9】
前記第2下部ソース/ドレーンパターンと前記第2上部ソース/ドレーンパターンを接続する貫通活性コンタクトをさらに有し、
前記貫通活性コンタクトは、前記第2分離パターンと前記第3分離パターンとの間に配置されることを特徴とする請求項8に記載の半導体装置。
【請求項10】
前記第1、第2、及び第3分離パターンは、絶縁物質でなされることを特徴とする請求項9に記載の半導体装置。
(【請求項11】以降は省略されています)
発明の詳細な説明
【技術分野】
【0001】
本発明は半導体装置に関し、特に、電気的特性及び集積度が向上された半導体装置に関する。
続きを表示(約 3,900 文字)
【背景技術】
【0002】
半導体装置は、MOS電界効果トランジスタ(MOS(Metal Oxide Semiconductor) FET)で構成された集積回路を含むものがある。
半導体装置のサイズ及びデザインルール(Design rule)がだんだん縮小されることにつれ、MOS電界効果トランジスタのサイズ縮小(scale down)もますます加速化されている。
MOS電界効果トランジスタのサイズ縮小に応じて半導体装置の動作特性が低下する可能性がある。
したがって、半導体装置の高集積化に応じる限界を克服しながら、より優れた性能を、半導体装置を形成するための様々な方法が研究され、開発の課題となっている。
【先行技術文献】
【特許文献】
【0003】
米国特許第11,735,525号明細書
【発明の概要】
【発明が解決しようとする課題】
【0004】
本発明は上記従来の半導体装置における課題に鑑みてなされたものであって、本発明の目的は、電気的特性及び集積度がより向上された半導体装置を提供することにある。
【課題を解決するための手段】
【0005】
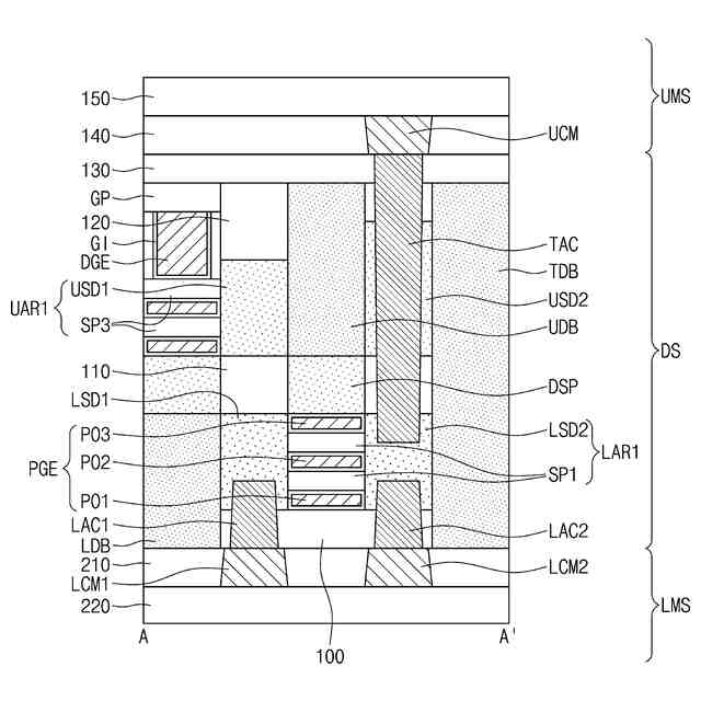
上記目的を達成するためになされた本発明による半導体装置は、下部配線を含む下部配線層と、上部配線を含む上部配線層と、前記下部配線層と前記上部配線層との間に配置されるパワーゲーティングセルと、を有し、前記パワーゲーティングセルは、基板の上の第1活性領域と、ここで、前記第1活性領域は、第1及び第2下部ソース/ドレーンパターン及び前記第1及び第2下部ソース/ドレーンパターンを接続する第1チャンネルパターンを含み、前記第1活性領域上に積層される第2活性領域と、ここで、前記第2活性領域は、第1及び第2上部ソース/ドレーンパターンを含み、前記第1チャンネルパターンを囲み、前記基板の上面と平行である第1方向に延長されるパワーゲート電極と、を含み、前記下部配線層は、前記第1下部ソース/ドレーンパターンと接続されるグローバルパワーラインと、前記第2下部ソース/ドレーンパターンと接続されるローカルパワーラインと、を含むことを特徴とする。
【0006】
また、上記目的を達成するためになされた本発明による半導体装置は、基板の上の第1活性領域と、ここで、前記第1活性領域は、第1及び第2下部ソース/ドレーンパターン及び前記前記第1下部ソース/ドレーンパターンと第2下部ソース/ドレーンパターンとを接続する第1チャンネルパターンを含み、前記第1活性領域上に積層される第2活性領域と、ここで、前記第2活性領域は、第1及び第2上部ソース/ドレーンパターンを含み、前記基板の上面と平行である第1方向に沿って延長され、前記第1チャンネルパターンを囲むパワーゲート電極と、前記基板の下面上に配置され、前記第1下部ソース/ドレーンパターンと接続されるグローバルパワーラインと、前記基板の前記下面上に配置され、前記第2下部ソース/ドレーンパターンと接続される第1ローカルパワーラインと、前記第2下部ソース/ドレーンパターンと前記第2上部ソース/ドレーンパターンとを接続する貫通活性コンタクトと、前記基板の前記上面上に配置され、前記貫通活性コンタクトと接続される第2ローカルパワーラインと、を有することを特徴とする。
【0007】
また、上記目的を達成するためになされた本発明による半導体装置は、基板の上の第1活性領域と、ここで、前記第1活性領域は、第1及び第2下部ソース/ドレーンパターン及び前記第1下部ソース/ドレーンパターンと第2下部ソース/ドレーンパターンとを接続する第1チャンネルパターンを含み、前記第1活性領域上に積層される第2活性領域と、ここで、前記第2活性領域は、第1及び第2上部ソース/ドレーンパターンを含み、前記基板の上面と平行である第1方向に沿って延長され、前記第1チャンネルパターンを囲むパワーゲート電極と、前記パワーゲート電極と第2方向に離隔し、前記第1下部ソース/ドレーンパターンと接する第1分離パターンと、前記パワーゲート電極と前記第2方向に離隔し、前記第2下部ソース/ドレーンパターン及び前記第2上部ソース/ドレーンパターンと接する第2分離パターンと、前記第1上部ソース/ドレーンパターンと第2上部ソース/ドレーンパターンとの間に配置され、前記パワーゲート電極と重畳される第3分離パターンと、前記第1方向に沿って延長され、前記第1分離パターン上に積層された第2チャンネルパターンを囲むダミーゲート電極と、前記基板の下面上に提供され、前記第1下部ソース/ドレーンパターンと接続されるグローバルパワーラインと、前記基板の下面上に提供され、前記第2下部ソース/ドレーンパターンと接続される第1ローカルパワーラインと、前記グローバルパワーラインと前記第1下部ソース/ドレーンパターンとの間の第1下部活性コンタクトと、前記第1ローカルパワーラインと前記第2下部ソース/ドレーンパターンとの間の第2下部活性コンタクトと、前記第2下部ソース/ドレーンパターンと前記第2上部ソース/ドレーンパターンを接続する貫通活性コンタクトと、前記基板の前記上面上に配置され、前記貫通活性コンタクトと接続される第2ローカルパワーラインと、を有することを特徴とする。
【発明の効果】
【0008】
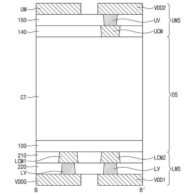
本発明に係る半導体装置によれば、PMOSトランジスタとNMOSトランジスタが垂直に積層される構造でパワーゲーティングセルが提供することによって、半導体装置の消耗電力を低減し、性能を向上させる。
また、貫通活性コンタクトを通じてローカルパワーラインが半導体装置の上部と下部に提供されるので、パワーゲーティングセルからロジックセルを接続する配線自由度が向上される。
【図面の簡単な説明】
【0009】
本発明の実施形態による半導体装置のロジックセルを説明するための概念図である。
本発明の実施形態による半導体装置のロジックセルを説明するための概念図である。
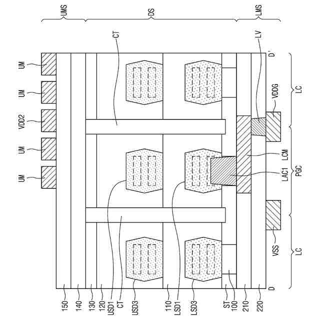
本発明の実施形態による半導体装置のパワーゲーティング回路及びロジック回路を示す図である。
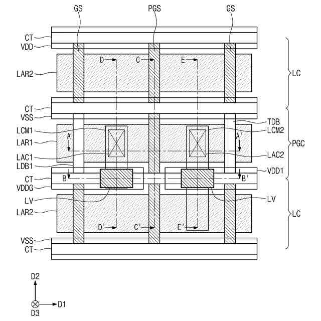
本発明の実施形態によるパワーゲーティングセルを含む半導体装置の平面図である。
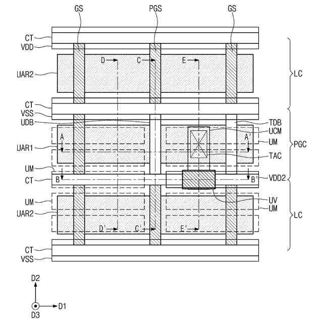
本発明の実施形態によるパワーゲーティングセルを含む半導体装置の底面図である。
図4A及び図4BのA-A’線に沿って切断した断面図である。
図4A及び図4BのB-B’線に沿って切断した断面図である。
図4A及び図4BのC-C’線に沿って切断した断面図である。
図4A及び図4BのD-D’線に沿って切断した断面図である。
図4A及び図4BのE-E’線に沿って切断した断面図である。
本発明の実施形態による半導体装置のパワーゲーティング回路及びロジック回路を示す図である。
本発明の実施形態によるパワーゲーティングセルを含む半導体装置の平面図である。
本発明の実施形態によるパワーゲーティングセルを含む半導体装置の底面図である。
図7A及び図7BのA-A’線に沿って切断した断面図である。
図7A及び図7BのB-B’線に沿って切断した断面図である。
図7A及び図7BのC-C’線に沿って切断した断面図である。
図7A及び図7BのD-D’線に沿って切断した断面図である。
図7A及び図7BのE-E’線に沿って切断した断面図である。
本発明の実施形態によるパワーゲーティングセルを含む半導体装置の平面図である。
本発明の実施形態によるパワーゲーティングセルを含む半導体装置の底面図である。
図9A及び図9BのA-A’線に沿って切断した断面図である。
図9A及び図9BのB-B’線に沿って切断した断面図である。
図9A及び図9BのC-C’線に沿って切断した断面図である。
図9A及び図9BのD-D’線に沿って切断した断面図である。
図9A及び図9BのE-E’線に沿って切断した断面図である。
本発明の実施形態によるパワーゲーティングセルを含む半導体装置の底面図である。
図11のE-E’線に沿って切断した断面図である。
本発明の実施形態によるパワーゲーティングセルを含む半導体装置の平面図である。
図13のE-E’線に沿って切断した断面図である。
本発明の実施形態によるパワーゲーティングセルを含む半導体装置の平面図である。
図15のB-B’線に沿って切断した断面図である。
図15のE-E’線に沿って切断した断面図である。
本発明の実施形態によるパワーゲーティングセルを含む半導体装置の平面図である。
本発明の実施形態によるパワーゲーティングセルを含む半導体装置の背面図である。
図18A及び図18BのA-A’線に沿って切断した断面図である。
図18A及び図18BのB-B’線に沿って切断した断面図である。
【発明を実施するための形態】
【0010】
次に、本発明に係る半導体装置を実施するための形態の具体例を図面を参照しながら説明する。
(【0011】以降は省略されています)
この特許をJ-PlatPat(特許庁公式サイト)で参照する
関連特許
三星電子株式会社
冷蔵庫
21日前
三星電子株式会社
半導体装置
14日前
三星電子株式会社
半導体装置
今日
三星電子株式会社
固体撮像装置
26日前
三星電子株式会社
イメージセンサ
13日前
三星電子株式会社
半導体パッケージ
13日前
三星電子株式会社
半導体パッケージ
5日前
三星電子株式会社
半導体パッケージ
12日前
三星電子株式会社
集積回路装置の製造方法
7日前
三星電子株式会社
トランスフォーマー加速装置
今日
三星電子株式会社
イメージセンサ及びその動作方法
13日前
三星電子株式会社
イメージセンサ及びその動作方法
20日前
三星電子株式会社
半導体装置及びこれを含むデータ記憶システム
20日前
三星電子株式会社
レジスト組成物及びそれを用いたパターン形成方法
12日前
三星電子株式会社
半導体パッケージング用フィルム及びその製造方法
12日前
三星電子株式会社
プラズマエッチング工程を含む半導体素子の製造方法
26日前
三星電子株式会社
後面構造物を含む半導体チップを含む半導体パッケージ
20日前
三星電子株式会社
ポリマー、それを含むレジスト組成物、及びそれを用いたパターン形成方法
13日前
三星電子株式会社
アンダーフィルフィルム及びアンダーフィルフィルムを含む半導体パッケージ
12日前
三星電子株式会社
半導体装置及びその製造方法
20日前
個人
積和演算用集積回路
13日前
サンケン電気株式会社
半導体装置
12日前
エイブリック株式会社
縦型ホール素子
1か月前
旭化成株式会社
発光素子
22日前
エイブリック株式会社
縦型ホール素子
1か月前
日機装株式会社
半導体発光装置
7日前
ローム株式会社
抵抗チップ
27日前
株式会社半導体エネルギー研究所
表示装置
1か月前
三菱電機株式会社
半導体装置
21日前
富士電機株式会社
半導体装置
1か月前
日亜化学工業株式会社
発光装置
1か月前
日亜化学工業株式会社
発光装置
22日前
ローム株式会社
半導体集積回路
21日前
株式会社半導体エネルギー研究所
発光デバイス
7日前
株式会社半導体エネルギー研究所
発光デバイス
20日前
ローム株式会社
半導体装置
26日前
続きを見る
他の特許を見る