TOP
|
特許
|
意匠
|
商標
特許ウォッチ
Twitter
他の特許を見る
10個以上の画像は省略されています。
公開番号
2025150328
公報種別
公開特許公報(A)
公開日
2025-10-09
出願番号
2024051149
出願日
2024-03-27
発明の名称
半導体接合装置
出願人
三星電子株式会社
,
Samsung Electronics Co.,Ltd.
代理人
IBC一番町弁理士法人
主分類
H01L
21/677 20060101AFI20251002BHJP(基本的電気素子)
要約
【課題】半導体チップを安定的に吸着保持しつつ、半導体チップを基板に均一に押し付けることが可能な半導体接合装置を提供する。
【解決手段】半導体接合装置は、通気性を有する多孔質材料により構成され、半導体チップCHに接触する第1面81と反対の第2面82とを有する多孔質板状部材80と、多孔質板状部材の第2面に接合され、多孔質板状部材の第2面の中央領域に少なくとも正圧を導入するための第1空間71と、多孔質板状部材の第2面の中央領域よりも外側に位置する周辺領域に少なくとも負圧を導入するための第2空間72とが設けられているベース部材70と、ベース部材の第2空間に負圧を供給して、多孔質板状部材により半導体チップを吸着保持させる負圧供給部61と、ベース部材の第1空間に正圧を供給して、多孔質板状部材により吸着保持される半導体チップを凸形状に変形させる正圧供給部62と、を有する。
【選択図】図2
特許請求の範囲
【請求項1】
通気性を有する多孔質材料により構成され、半導体チップに接触する第1面と前記第1面と反対の第2面とを有する多孔質板状部材と、
前記多孔質板状部材の前記第2面に接合され、前記多孔質板状部材の前記第2面の中央領域に少なくとも正圧を導入するための第1空間と、前記多孔質板状部材の前記第2面の前記中央領域よりも外側に位置する周辺領域に少なくとも負圧を導入するための第2空間とが設けられているベース部材と、
前記ベース部材の前記第2空間に負圧を供給して、前記多孔質板状部材により前記半導体チップを吸着保持させる負圧供給部と、
前記ベース部材の前記第1空間に正圧を供給して、前記多孔質板状部材により吸着保持される前記半導体チップを凸形状に変形させる正圧供給部と、
を有する半導体接合装置。
続きを表示(約 910 文字)
【請求項2】
前記正圧供給部は、
正圧供給源から供給される正圧と負圧供給源から供給される負圧とを組み合わせて、前記ベース部材の前記第1空間に供給される正圧を少なくとも調整するサーボ弁を含む、請求項1に記載の半導体接合装置。
【請求項3】
前記ベース部材は、接合ヘッドの筐体下部に取り付けられ、
前記サーボ弁は、前記接合ヘッドの筐体内部または筐体近傍に配置される、請求項2に記載の半導体接合装置。
【請求項4】
前記サーボ弁と前記第1空間との間に配置される絞り弁をさらに有する、請求項2または3に記載の半導体接合装置。
【請求項5】
前記サーボ弁と前記第1空間との間に配置される圧力センサをさらに有し、
前記圧力センサの出力が前記サーボ弁にフィードバックされる、請求項2または3に記載の半導体接合装置。
【請求項6】
前記サーボ弁と前記第1空間との間に配置される流量センサをさらに有し、
前記流量センサの出力が前記サーボ弁にフィードバックされる、請求項2または3に記載の半導体接合装置。
【請求項7】
前記サーボ弁と前記第1空間との間に配置され、前記第1空間が前記サーボ弁に接続される第1状態と、前記第1空間が大気解放される第2状態とを切り替える電磁弁をさらに有する、請求項2または3に記載の半導体接合装置。
【請求項8】
前記正圧供給源から供給される正圧を調整する第1レギュレータと、
前記負圧供給源から供給される負圧を調整する第2レギュレータと、をさらに有する、請求項2または3に記載の半導体接合装置。
【請求項9】
前記サーボ弁は、前記半導体チップを凸形状に変形させている期間以外の期間において、前記第1空間に負圧を供給するように構成される、請求項2または3に記載の半導体接合装置。
【請求項10】
前記正圧供給部は、前記ベース部材の前記第1空間に正圧を供給するポンプを含む、請求項1に記載の半導体接合装置。
(【請求項11】以降は省略されています)
発明の詳細な説明
【技術分野】
【0001】
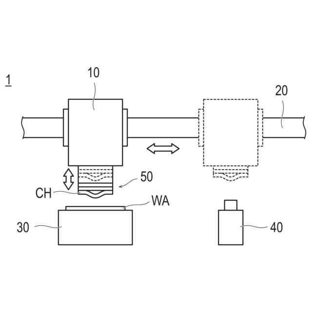
本発明は、半導体接合装置に関する。
続きを表示(約 1,300 文字)
【背景技術】
【0002】
薄型の電子機器へのニーズにともない、半導体チップの薄型化が進んでいる。
【0003】
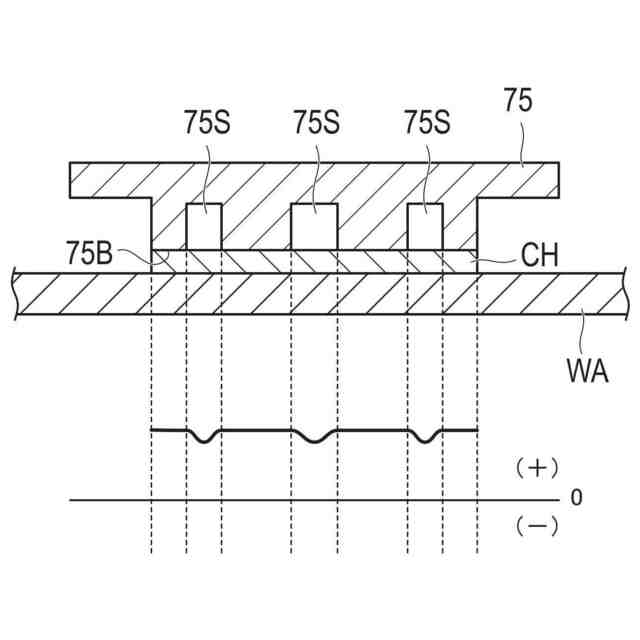
これに関連して、下記の特許文献1には、薄型の半導体チップを基板にボンディングするボンディング装置が開示されている。特許文献1に記載のボンディング装置は、コレットの周辺領域に形成された第1通気孔により半導体チップを吸着保持し、中央領域に形成された第2通気孔により空気を吹き付けて半導体チップの中央領域を凸状に変形させた後、ボンディングを行う。このような構成によれば、半導体チップと基板との間への空気の入り込みが抑制され、ボイドの発生を低減できる。
【先行技術文献】
【特許文献】
【0004】
特開2006-303151号公報
【発明の概要】
【発明が解決しようとする課題】
【0005】
しかしながら、上記ボンディング装置では、コレット底面に複数の通気孔が形成されるため、半導体チップを基板に接合する際、半導体チップを均一に押し付けることができないという問題がある。
【0006】
また、上記ボンディング装置では、半導体チップを吸着保持するために負圧が供給されている第1通気孔と、第2通気孔から吹き付けられる空気によって正圧となっている半導体チップの凸状部分の空間との境界で圧力が急激に変化する。このため、上記ボンディング装置では、第1通気孔と半導体チップとの間に隙間が生じ、凸状部分の空間から第1通気孔に向かって空気が流れ、半導体チップの振動を引き起こすおそれがある。
【0007】
本発明は、上述した課題に鑑みてなされたものである。したがって、本発明の目的は、半導体チップを安定的に吸着保持しつつ、半導体チップを基板に均一に押し付けることが可能な半導体接合装置を提供することである。
【課題を解決するための手段】
【0008】
本発明の上記目的は、下記の手段によって達成される。
【0009】
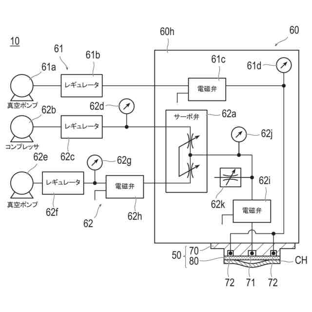
(1)通気性を有する多孔質材料により構成され、半導体チップに接触する第1面と前記第1面と反対の第2面とを有する多孔質板状部材と、前記多孔質板状部材の前記第2面に接合され、前記多孔質板状部材の前記第2面の中央領域に少なくとも正圧を導入するための第1空間と、前記多孔質板状部材の前記第2面の前記中央領域よりも外側に位置する周辺領域に少なくとも負圧を導入するための第2空間とが設けられているベース部材と、前記ベース部材の前記第2空間に負圧を供給して、前記多孔質板状部材により前記半導体チップを吸着保持させる負圧供給部と、前記ベース部材の前記第1空間に正圧を供給して、前記多孔質板状部材により吸着保持される前記半導体チップを凸形状に変形させる正圧供給部と、を有する半導体接合装置。
【0010】
(2)前記正圧供給部は、正圧供給源から供給される正圧と負圧供給源から供給される負圧とを組み合わせて、前記ベース部材の前記第1空間に供給される正圧を少なくとも調整するサーボ弁を含む、上記(1)に記載の半導体接合装置。
(【0011】以降は省略されています)
この特許をJ-PlatPat(特許庁公式サイト)で参照する
関連特許
三星電子株式会社
冷蔵庫
7日前
三星電子株式会社
冷蔵庫
15日前
三星電子株式会社
保持装置
27日前
三星電子株式会社
実装装置
27日前
三星電子株式会社
半導体装置
今日
三星電子株式会社
半導体素子
1か月前
三星電子株式会社
半導体素子
22日前
三星電子株式会社
半導体装置
19日前
三星電子株式会社
固体撮像装置
12日前
三星電子株式会社
固体二次電池
26日前
三星電子株式会社
モータ駆動装置
19日前
三星電子株式会社
半導体接合装置
27日前
三星電子株式会社
半導体パッケージ
21日前
三星電子株式会社
半導体パッケージ
21日前
三星電子株式会社
イメージセンサー
20日前
三星電子株式会社
集積回路パッケージ
14日前
三星電子株式会社
周辺回路領域を含む半導体素子
21日前
三星電子株式会社
イメージセンサ及びその動作方法
6日前
三星電子株式会社
イメージセンサー及びその動作方法
1か月前
三星電子株式会社
半導体装置及びこれを含むデータ記憶システム
6日前
三星電子株式会社
半導体装置およびこれを含む電力半導体システム
22日前
三星電子株式会社
プラズマエッチング工程を含む半導体素子の製造方法
12日前
三星電子株式会社
後面構造物を含む半導体チップを含む半導体パッケージ
6日前
三星電子株式会社
複数の波長を使用するライダーシステム及びその動作方法
22日前
三星電子株式会社
キャパシタ構造物を含む半導体装置及びこれを含むデータ記憶システム
28日前
三星電子株式会社
サブバンド全二重動作における複数の物理ランダム・アクセス・チャネル送信
19日前
三星電子株式会社
半導体装置及びその製造方法
6日前
三星電子株式会社
熱交換器、この熱交換器を用いた熱交換システム及びこの熱交換器を用いた空気調和機
1か月前
三星電子株式会社
イメージセンサとその動作方法及びイメージ装置
19日前
三星電子株式会社
共重合体、ならびに当該共重合体を含有する組成物、液状組成物、およびエレクトロルミネッセンス素子
28日前
三星電子株式会社
色分離レンズアレイを具備するイメージセンサ、及びそれを含む電子装置
1か月前
三星電子株式会社
高分子化合物、ならびに当該高分子化合物を用いるエレクトロルミネッセンス素子材料およびエレクトロルミネッセンス素子
28日前
三星電子株式会社
高分子化合物、ならびに当該高分子化合物を用いるエレクトロルミネッセンス素子材料、液状組成物およびエレクトロルミネッセンス素子
28日前
東ソー株式会社
絶縁電線
14日前
APB株式会社
蓄電セル
12日前
個人
フレキシブル電気化学素子
26日前
続きを見る
他の特許を見る