TOP
|
特許
|
意匠
|
商標
特許ウォッチ
Twitter
他の特許を見る
10個以上の画像は省略されています。
公開番号
2025166800
公報種別
公開特許公報(A)
公開日
2025-11-06
出願番号
2025066559
出願日
2025-04-15
発明の名称
半導体パッケージ
出願人
三星電子株式会社
,
Samsung Electronics Co.,Ltd.
代理人
弁理士法人ITOH
主分類
H01L
25/07 20060101AFI20251029BHJP(基本的電気素子)
要約
【課題】半導体パッケージを提供する。
【解決手段】本発明の実施形態によれば、半導体パッケージは、ベース構造体;ベース構造体の上面上に配置され、ベース構造体と直接ボンディングされた第1半導体チップ;第1半導体チップ上の第2半導体チップ;ベース構造体の上面上に配置され、第1半導体チップの側壁を覆う下部封止層;及び下部封止層の上面上に提供され、第2半導体チップの側壁を覆う成形層を含む。
【選択図】図1A
特許請求の範囲
【請求項1】
ベース構造体と、
前記ベース構造体の上面上に配置され、前記ベース構造体と直接ボンディングされた第1半導体チップと、
前記第1半導体チップ上の第2半導体チップと、
前記ベース構造体の前記上面上に配置され、前記第1半導体チップの側壁を覆う下部封止層と、
前記下部封止層の上面上に提供され、前記第2半導体チップの側壁を覆う成形層を含む、半導体パッケージ。
続きを表示(約 1,600 文字)
【請求項2】
前記第1半導体チップと前記第2半導体チップとの間に配置され、前記下部封止層と前記成形層との間に延びた絶縁層をさらに含む、請求項1に記載の半導体パッケージ。
【請求項3】
前記第1半導体チップは、
第1半導体基板と、
前記第1半導体基板内の第1貫通ビアと、
前記第1貫通ビアの前記上面上の第1上部パッドと、をさらに含み、
前記第1貫通ビアは、前記絶縁層内にさらに延び、
前記絶縁層は、前記第1上部パッドの側面を覆う、請求項2に記載の半導体パッケージ。
【請求項4】
前記下部封止層の上面は、前記第1半導体基板の上面と共面(coplanar)をなす、請求項3に記載の半導体パッケージ。
【請求項5】
前記絶縁層は、前記第1貫通ビアの上部側壁をさらに覆う、請求項3に記載の半導体パッケージ。
【請求項6】
前記成形層の外側壁は、前記絶縁層の外側壁及び前記下部封止層の外側壁と垂直に整列される、請求項2に記載の半導体パッケージ。
【請求項7】
前記第2半導体チップは、その下面上の第2下部絶縁層をさらに含み、
前記絶縁層は、前記第2下部絶縁層の上面と直接ボンディングされる、請求項2に記載の半導体パッケージ。
【請求項8】
前記ベース構造体は、
ベース基板内の導電ビアと、
前記ベース基板上のベース絶縁層と、
前記導電ビア上に及び前記ベース絶縁層内の導電パッドと、を含み、
前記第1半導体チップは、その下面上の第1下部パッドを含み、
前記導電パッドは、前記第1下部パッドと直接ボンディングされる、請求項1に記載の半導体パッケージ。
【請求項9】
ベース構造体と、
前記ベース構造体の上面上に配置され、第1基板、第1貫通ビア及び第1上部パッドを含む第1半導体チップと、
前記ベース構造体の前記上面上に配置され、前記第1半導体チップの側壁を覆う下部封止層と、
前記第1基板上に配置され、前記第1上部パッドの側面を覆う絶縁層と、を含むが、
前記絶縁層は、前記下部封止層の上面上に延びる、半導体パッケージ。
【請求項10】
ベース基板、前記ベース基板内の導電ビア、前記ベース基板上のベース絶縁層、及び前記ベース絶縁層内の導電パッドを含むベース構造体と、
前記ベース構造体の下面上の再配線層と、
前記再配線層の下面上に提供され、前記再配線層を介して前記導電ビアと電気的に連結されたはんだボール端子と、
前記ベース構造体の上面上に配置され、第1基板、前記第1基板の下面上の第1下部絶縁層、前記第1下部絶縁層内の第1下部パッド、前記第1基板を貫通する第1貫通ビア、及び前記第1貫通ビアと電気的に連結される第1上部パッドを含む第1半導体チップと、
前記第1半導体チップ上に積層された複数の第2半導体チップであって、前記第2半導体チップそれぞれは、第2基板、第2下部絶縁層、第2下部パッド、第2貫通ビア、第2上部絶縁層、及び第2上部パッドを含む、前記第2半導体チップと、
前記ベース構造体の前記上面上に配置され、前記第1半導体チップの側壁を覆う下部封止層と、
前記下部封止層上に配置され、前記複数の第2半導体チップの側壁を覆う成形層と、
前記下部封止層と前記成形層との間及び前記第1半導体チップと前記第2半導体チップのうち最下部の第2半導体チップとの間に提供された絶縁層と、を含み、
前記絶縁層は、第2上部パッドの側面を覆い、
前記第1半導体チップは、前記ベース構造体と直接ボンディングされる、半導体パッケージ。
発明の詳細な説明
【技術分野】
【0001】
本発明は、半導体パッケージ、さらに具体的に、積層された半導体チップを含む半導体パッケージに関する。
続きを表示(約 2,500 文字)
【背景技術】
【0002】
半導体パッケージは、集積回路チップを電子製品に使うのに好適な形態に具現化したものである。通常、半導体パッケージは、印刷回路基板上に半導体チップを実装し、ボンディングワイヤないしバンプを用いて、これらを電気的に連結することが一般的である。電子産業の発達によって、半導体パッケージが固溶体特性を具現化することが求められる。また、電子製品の小型化につれて、半導体パッケージの小型化への要求が増加しつつある。
【発明の概要】
【発明が解決しようとする課題】
【0003】
本発明が解決しようとする課題は、高仕様の半導体パッケージを提供することである。
【0004】
本発明が解決しようとする課題は、小型化された半導体パッケージを提供することである。
【課題を解決するための手段】
【0005】
本発明の実施形態によれば、半導体パッケージは、ベース構造体;前記ベース構造体の上面上に配置され、前記ベース構造体と直接ボンディングされた第1半導体チップ;前記第1半導体チップ上の第2半導体チップ;前記ベース構造体の前記上面上に配置され、前記第1半導体チップの側壁を覆う下部封止層;及び前記下部封止層の上面上に提供され、前記第2半導体チップの側壁を覆う成形層を含む。
【0006】
本発明の実施形態によれば、半導体パッケージは、ベース構造体;前記ベース構造体の上面上に配置され、第1基板、第1貫通ビア及び第1上部パッドを含む第1半導体チップ;前記ベース構造体の前記上面上に配置され、前記第1半導体チップの側壁を覆う下部封止層;及び前記第1基板上に配置され、前記第1上部パッドの側面を覆う絶縁層を含むが、前記絶縁層は、前記下部封止層の上面上に延びる。
【0007】
本発明の実施形態によれば、半導体パッケージは、ベース基板、前記ベース基板内の導電ビア、前記ベース基板上のベース絶縁層、及び前記ベース絶縁層内の導電パッドを含むベース構造体;前記ベース構造体の下面上の再配線層;前記再配線層の下面上に提供され、前記再配線層を介して前記導電ビアと電気的に連結されたはんだボール端子;前記ベース構造体の上面上に配置され、第1基板、前記第1基板の下面上の第1下部絶縁層、前記第1下部絶縁層内の第1下部パッド、前記第1基板を貫通する第1貫通ビア、及び前記第1貫通ビアと電気的に連結される第1上部パッドを含む第1半導体チップ;前記第1半導体チップ上に積層された複数の第2半導体チップであって、前記第2半導体チップそれぞれは、第2基板、第2下部絶縁層、第2下部パッド、第2貫通ビア、第2上部絶縁層、及び第2上部パッドを含む、前記第2半導体チップ;前記ベース構造体の前記上面上に配置され、前記第1半導体チップの側壁を覆う下部封止層;前記下部封止層上に配置され、前記複数の第2半導体チップの側壁を覆う成形層;及び前記下部封止層と前記成形層との間、及び前記第1半導体チップと前記第2半導体チップのうち最下部の第2半導体チップとの間に提供された絶縁層を含み、前記絶縁層は、第2上部パッドの側面を覆い、前記第1半導体チップは、前記ベース構造体と直接ボンディングされる。
【発明の効果】
【0008】
本発明によれば、テストを通過したチップレベルの第1半導体チップが、半導体パッケージの製造工程に使われうる。これによって、半導体パッケージの製造工程の効率性が向上する。
【0009】
半導体パッケージは、高容量及び高性能特性を有する。第1半導体チップがベース構造体と直接ボンディングされるため、半導体パッケージが小型化する。
【図面の簡単な説明】
【0010】
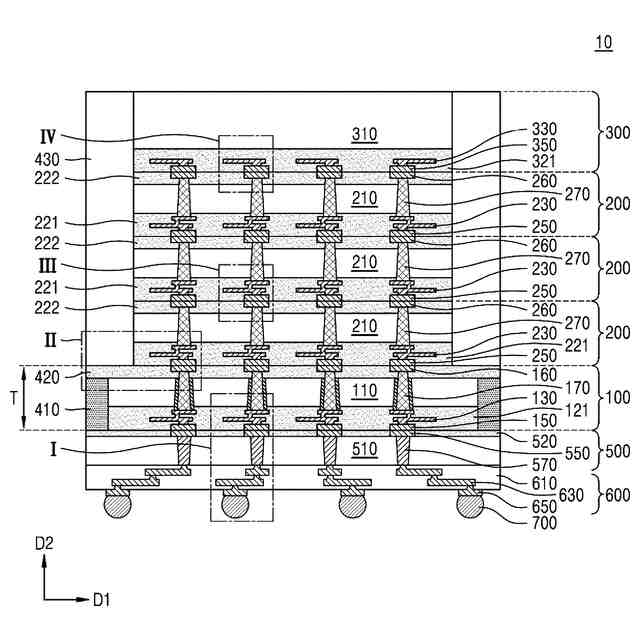
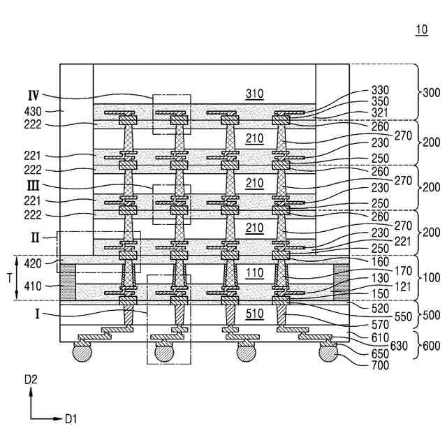
実施形態による半導体パッケージを示す断面図である。
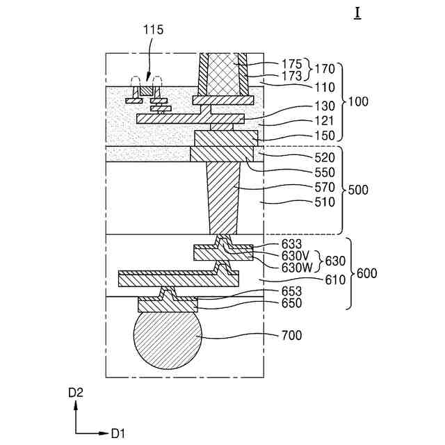
図1Aの半導体パッケージのI領域を拡大した図面である。
図1Aの半導体パッケージのII領域を拡大した図面である。
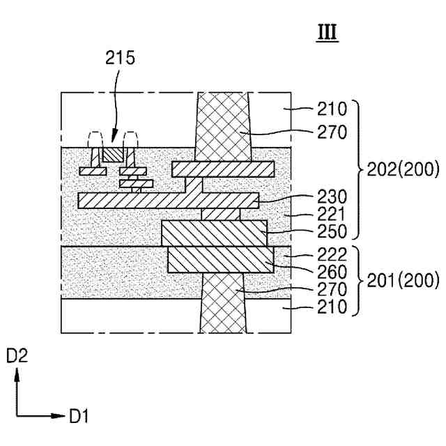
図1Aの半導体パッケージのIII領域を拡大した図面である。
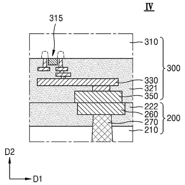
図1Aの半導体パッケージのIV領域を拡大した図面である。
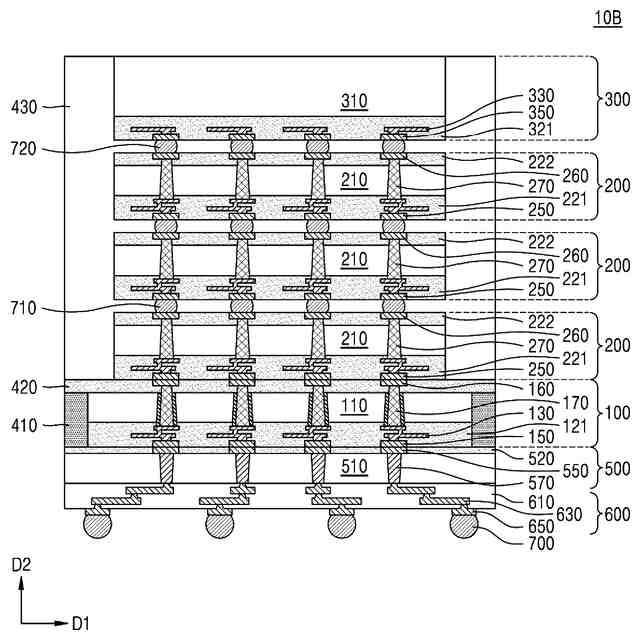
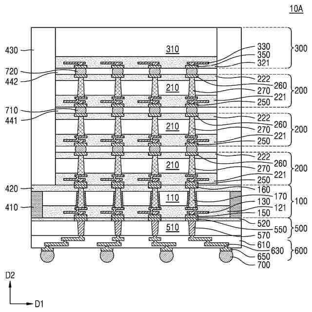
実施形態による半導体パッケージを示す断面図である。
実施形態による半導体パッケージを示す断面図である。
実施形態による半導体パッケージを示す断面図である。
実施形態による半導体パッケージの製造過程を説明するための図面である。
実施形態による半導体パッケージの製造過程を説明するための図面である。
実施形態による半導体パッケージの製造過程を説明するための図面である。
実施形態による半導体パッケージの製造過程を説明するための図面である。
実施形態による半導体パッケージの製造過程を説明するための図面である。
実施形態による半導体パッケージの製造過程を説明するための図面である。
実施形態による半導体パッケージの製造過程を説明するための図面である。
実施形態による半導体パッケージの製造過程を説明するための図面である。
実施形態による半導体パッケージの製造過程を説明するための図面である。
実施形態による半導体パッケージの製造過程を説明するための図面である。
実施形態による半導体パッケージの製造過程を説明するための図面である。
実施形態による半導体パッケージの製造過程を説明するための図面である。
実施形態による半導体パッケージの製造過程を説明するための図面である。
実施形態による半導体パッケージの製造過程を説明するための図面である。
実施形態による半導体パッケージの製造過程を説明するための図面である。
実施形態による半導体パッケージの製造過程を説明するための図面である。
実施形態による半導体パッケージを説明するための図面である。
【発明を実施するための形態】
(【0011】以降は省略されています)
この特許をJ-PlatPat(特許庁公式サイト)で参照する
関連特許
三星電子株式会社
冷蔵庫
1か月前
三星電子株式会社
冷蔵庫
1か月前
三星電子株式会社
保持装置
1か月前
三星電子株式会社
実装装置
1か月前
三星電子株式会社
半導体装置
26日前
三星電子株式会社
半導体素子
1か月前
三星電子株式会社
半導体装置
1か月前
三星電子株式会社
半導体装置
12日前
三星電子株式会社
半導体装置
4日前
三星電子株式会社
固体撮像装置
1か月前
三星電子株式会社
固体二次電池
1か月前
三星電子株式会社
イメージセンサ
25日前
三星電子株式会社
モータ駆動装置
1か月前
三星電子株式会社
半導体接合装置
1か月前
三星電子株式会社
イメージセンサ
3日前
三星電子株式会社
イメージセンサー
11日前
三星電子株式会社
半導体パッケージ
1か月前
三星電子株式会社
半導体パッケージ
4日前
三星電子株式会社
半導体パッケージ
17日前
三星電子株式会社
半導体パッケージ
24日前
三星電子株式会社
半導体パッケージ
1か月前
三星電子株式会社
イメージセンサー
1か月前
三星電子株式会社
半導体パッケージ
25日前
三星電子株式会社
集積回路パッケージ
1か月前
三星電子株式会社
集積回路装置の製造方法
19日前
三星電子株式会社
トランスフォーマー加速装置
12日前
三星電子株式会社
半導体装置およびその製造方法
4日前
三星電子株式会社
周辺回路領域を含む半導体素子
1か月前
三星電子株式会社
スペーサを含む半導体パッケージ
3日前
三星電子株式会社
イメージセンサ及びその動作方法
1か月前
三星電子株式会社
イメージセンサ及びその動作方法
25日前
三星電子株式会社
半導体パッケージ及びその製造方法
11日前
三星電子株式会社
車両の走行を制御する方法と装置及び車両
3日前
三星電子株式会社
半導体装置及びこれを含むデータ記憶システム
1か月前
三星電子株式会社
半導体装置及びこれを含むデータ記憶システム
3日前
三星電子株式会社
オンチップ偏光ルーティングのシステム及び方法
4日前
続きを見る
他の特許を見る