TOP
|
特許
|
意匠
|
商標
特許ウォッチ
Twitter
他の特許を見る
10個以上の画像は省略されています。
公開番号
2025173477
公報種別
公開特許公報(A)
公開日
2025-11-27
出願番号
2025072907
出願日
2025-04-25
発明の名称
半導体パッケージ
出願人
三星電子株式会社
,
Samsung Electronics Co.,Ltd.
代理人
弁理士法人ITOH
主分類
H01L
23/12 20060101AFI20251119BHJP(基本的電気素子)
要約
【課題】半導体パッケージを提供する。
【解決手段】本発明の技術的思想は、上面及び該上面の反対側の下面を有する基板ボディと、下面に互いに離隔して配置された複数の基板パッドを含むパッケージ基板;及び複数の基板パッドに物理的に連結された複数の連結ボール;を含み、複数の連結ボールは、金属コアを含む金属コアソルダボール、及び金属コアソルダボールと同じ体積を有する複数のコアフリーソルダボールを含む半導体パッケージを提供する。
【選択図】図1
特許請求の範囲
【請求項1】
上面、及び前記上面の反対側の下面を有する基板ボディと、前記下面に互いに離隔して配置された複数の基板パッドを含むパッケージ基板と、
前記複数の基板パッドに物理的に連結された複数の連結ボールと、を含み、
前記複数の連結ボールは、
金属コアを含む金属コアソルダボール、及び前記金属コアソルダボールと同じ体積を有する複数のコアフリーソルダボールを含む、半導体パッケージ。
続きを表示(約 990 文字)
【請求項2】
前記複数の基板パッドのうち、前記金属コアソルダボールと物理的に連結される基板パッドの直径は、前記複数の基板パッドのうち、前記複数のコアフリーソルダボールと物理的に連結される基板パッドの直径より大きいことを特徴とする請求項1に記載の半導体パッケージ。
【請求項3】
互いに離隔して配置された複数のボードパッドを含むボード基板をさらに含み、
前記複数の連結ボールは、前記ボード基板と前記パッケージ基板との間に配置されることを特徴とする請求項1に記載の半導体パッケージ。
【請求項4】
前記複数のコアフリーソルダボールの垂直方向の高さは、前記金属コアソルダボールの前記垂直方向の高さより高いことを特徴とする請求項3に記載の半導体パッケージ。
【請求項5】
前記基板ボディの前記上面上に配置された少なくとも1つの半導体装置と、
前記基板ボディの外縁部に沿って延びて前記少なくとも1つの半導体装置を横方向で塞ぐ補強材と、をさらに含むことを特徴とする請求項1に記載の半導体パッケージ。
【請求項6】
前記パッケージ基板は、上方に凸状の正(positive)の反り、または、下方に凸状の負(negative)の反りを有することを特徴とする請求項1に記載の半導体パッケージ。
【請求項7】
前記金属コアソルダボールは、前記パッケージ基板の外縁部の近傍に配置されることを特徴とする請求項1に記載の半導体パッケージ。
【請求項8】
前記複数のコアフリーソルダボールは、前記パッケージ基板の中心部へ行くほど垂直方向の高さが高くなることを特徴とする請求項1に記載の半導体パッケージ。
【請求項9】
前記複数のコアフリーソルダボールは、前記パッケージ基板の外縁部の近傍へ行くほど垂直方向の高さが高くなることを特徴とする請求項1に記載の半導体パッケージ。
【請求項10】
前記金属コアの直径は、
前記複数のコアフリーソルダボールのうち、前記金属コアソルダボールに最も隣接したコアフリーソルダボールの垂直方向の高さの0.3~0.9倍であることを特徴とする請求項1に記載の半導体パッケージ。
(【請求項11】以降は省略されています)
発明の詳細な説明
【技術分野】
【0001】
本発明は、半導体パッケージに関する。
続きを表示(約 2,000 文字)
【背景技術】
【0002】
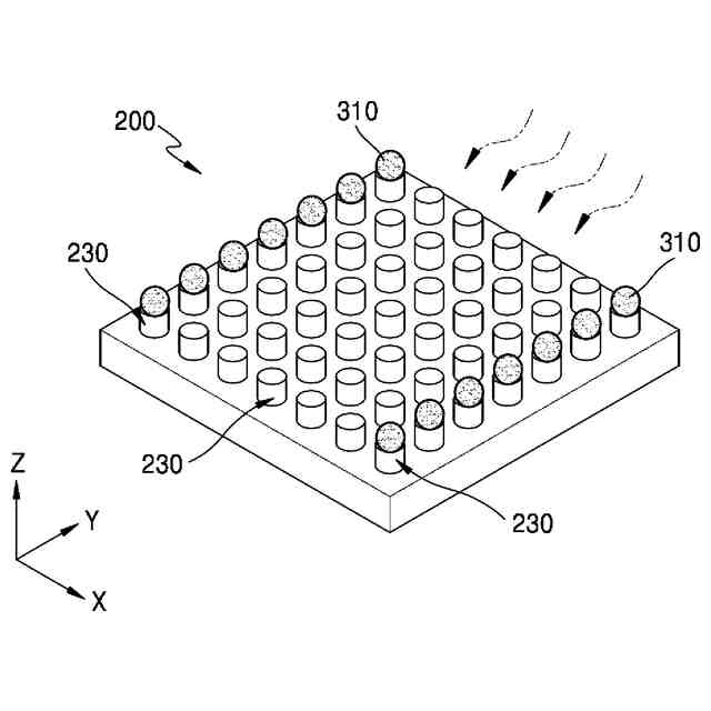
電子機器の小型化につれて半導体パッケージは、軽薄短小の傾向にある。また、電子機器の機能が複雑になることにより、パッケージ基板に複数個の半導体パッケージが搭載されたモジュール半導体パッケージが多く使用されている。これにより、半導体パッケージやモジュール半導体パッケージに含まれているパッケージ基板に加えられる熱的及び機械的応力によってパッケージ基板が曲がる反り(warpage)が発生している。
【発明の概要】
【発明が解決しようとする課題】
【0003】
本発明が解決しようとする課題は、反りが発生したパッケージ基板を含む半導体パッケージやモジュール半導体パッケージをボード基板に容易に電気的に連結しうるボードレベル半導体パッケージを提供することである。
【課題を解決するための手段】
【0004】
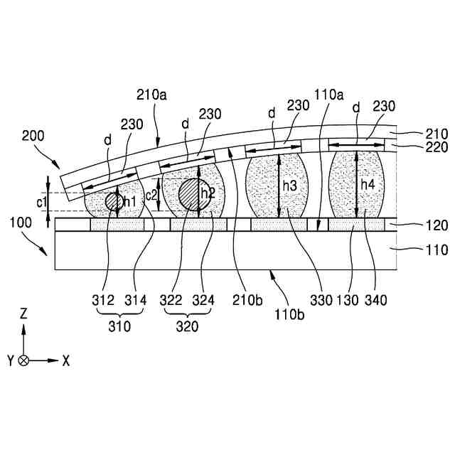
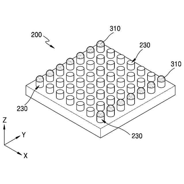
前記課題を解決するための本発明の技術的思想は、上面、及び前記上面の反対側の下面を有する基板ボディと、前記下面に互いに離隔して配置された複数の基板パッドを含むパッケージ基板;及び前記複数の基板パッドに物理的に連結された複数の連結ボール;を含み、前記複数の連結ボールは、金属コアを含む金属コアソルダボール、及び前記金属コアソルダボールと同じ体積を有する複数のコアフリーソルダボールを含む半導体パッケージを提供する。
【0005】
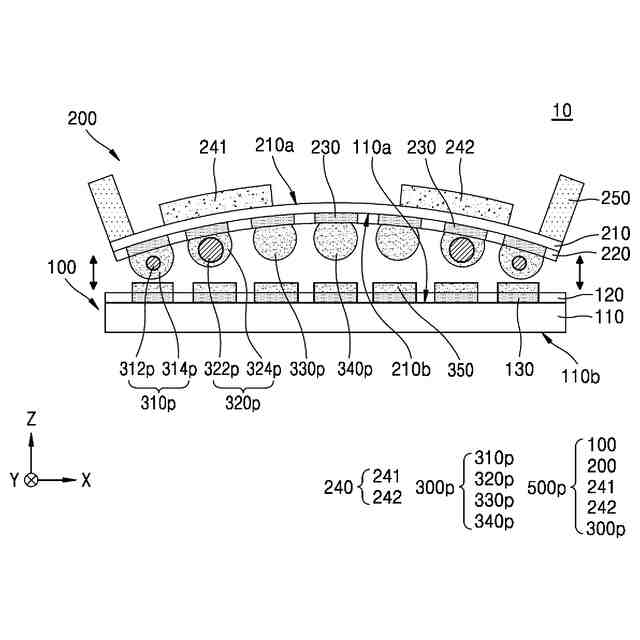
前記課題を解決するための本発明の技術的思想は、上面、及び前記上面の反対側の下面を有する基板ボディと、前記下面に互いに離隔して配置された複数の基板パッドを含むパッケージ基板;及び前記複数の基板パッドに物理的に連結された複数の連結ボール;を含み、前記複数の連結ボールは、第1金属コアを含む第1金属コアソルダボール、複数のコアフリーソルダボール、前記第1金属コアソルダボールと前記複数のコアフリーソルダボールとの間に配置され、前記第1金属コアより大径を有する第2金属コアを含む第2金属コアソルダボールを含み、前記第1金属コアソルダボール、前記第2金属コアソルダボール、及び前記複数のコアフリーソルダボールは、互いに同じ体積を有する半導体パッケージを提供する。
【0006】
前記課題を解決するための本発明の技術的思想は、上面、及び前記上面の反対側の下面を有する基板ボディと、前記下面に互いに離隔して配置された複数の基板パッドを含むパッケージ基板;及び前記複数の基板パッドに物理的に連結された複数の連結ボール;を含み、前記パッケージ基板は、下方に凸状の負(negative)の反りを有し、前記複数の連結ボールは、前記パッケージ基板の中心部に配置され、第1金属コアを含む第1金属コアソルダボール、前記第1金属コアソルダボールに隣接して配置され、前記第1金属コアより大径を有する第2金属コアを含む第2金属コアソルダボール、及び前記第2金属コアソルダボールに隣接して配置される複数のコアフリーソルダボールを含み、前記第1金属コアソルダボール、前記第2金属コアソルダボール、及び前記複数のコアフリーソルダボールは、互いに同じ体積を有する半導体パッケージを提供する。
【発明の効果】
【0007】
本発明の半導体パッケージは、互いに異なる直径の金属コアを含む複数の金属コアソルダボールを含みうる。半導体パッケージのパッケージ基板は、反りが発生するので、パッケージ基板に付着されたソルダボールがボード基板と付着されるとき、反りによる高さの差によって発生する問題を解消することが必要である。
【0008】
上方に凸状の反りを有するパッケージ基板の最外郭に配置された金属コアソルダボールは、比較的小径の金属コアと比較的高い体積のコアソルダ層を有しうる。パッケージ基板の最外郭に配置された金属コアソルダボールには、中心部に配置された金属コアソルダボールより高い応力が集中するので、コアソルダ層の体積を高めて金属コアに加えられる応力の負担を緩和させうる。
【0009】
また、パッケージ基板の最外郭でのパッケージ基板とボード基板との間の垂直間隔は、パッケージ基板の中心部でのパッケージ基板とボード基板との間の垂直間隔より狭くなる。したがって、金属コアソルダボールの直径が比較的小さく提供され、十分な体積のコアソルダ層が提供されてパッケージ基板とボード基板との間を容易に連結させうる。
【0010】
パッケージ基板の中心部でのパッケージ基板とボード基板との間の垂直間隔は、比較的広い。したがって、パッケージ基板の中心部に配置されたコアフリーソルダボールは、垂直方向への長さが十分に長く提供されてパッケージ基板とボード基板との間を容易に連結させうる。
【図面の簡単な説明】
(【0011】以降は省略されています)
この特許をJ-PlatPat(特許庁公式サイト)で参照する
関連特許
三星電子株式会社
冷蔵庫
1か月前
三星電子株式会社
冷蔵庫
1か月前
三星電子株式会社
保持装置
1か月前
三星電子株式会社
実装装置
1か月前
三星電子株式会社
半導体装置
26日前
三星電子株式会社
半導体素子
1か月前
三星電子株式会社
半導体装置
1か月前
三星電子株式会社
半導体装置
12日前
三星電子株式会社
半導体装置
4日前
三星電子株式会社
固体撮像装置
1か月前
三星電子株式会社
固体二次電池
1か月前
三星電子株式会社
イメージセンサ
25日前
三星電子株式会社
モータ駆動装置
1か月前
三星電子株式会社
半導体接合装置
1か月前
三星電子株式会社
イメージセンサ
3日前
三星電子株式会社
イメージセンサー
11日前
三星電子株式会社
半導体パッケージ
1か月前
三星電子株式会社
半導体パッケージ
4日前
三星電子株式会社
半導体パッケージ
17日前
三星電子株式会社
半導体パッケージ
24日前
三星電子株式会社
半導体パッケージ
1か月前
三星電子株式会社
イメージセンサー
1か月前
三星電子株式会社
半導体パッケージ
25日前
三星電子株式会社
集積回路パッケージ
1か月前
三星電子株式会社
集積回路装置の製造方法
19日前
三星電子株式会社
トランスフォーマー加速装置
12日前
三星電子株式会社
半導体装置およびその製造方法
4日前
三星電子株式会社
周辺回路領域を含む半導体素子
1か月前
三星電子株式会社
スペーサを含む半導体パッケージ
3日前
三星電子株式会社
イメージセンサ及びその動作方法
1か月前
三星電子株式会社
イメージセンサ及びその動作方法
25日前
三星電子株式会社
半導体パッケージ及びその製造方法
11日前
三星電子株式会社
車両の走行を制御する方法と装置及び車両
3日前
三星電子株式会社
半導体装置及びこれを含むデータ記憶システム
1か月前
三星電子株式会社
半導体装置及びこれを含むデータ記憶システム
3日前
三星電子株式会社
オンチップ偏光ルーティングのシステム及び方法
4日前
続きを見る
他の特許を見る