TOP
|
特許
|
意匠
|
商標
特許ウォッチ
Twitter
他の特許を見る
10個以上の画像は省略されています。
公開番号
2025158912
公報種別
公開特許公報(A)
公開日
2025-10-17
出願番号
2025008391
出願日
2025-01-21
発明の名称
半導体装置
出願人
三星電子株式会社
,
Samsung Electronics Co.,Ltd.
代理人
弁理士法人共生国際特許事務所
主分類
H10D
30/60 20250101AFI20251009BHJP()
要約
【課題】電気的特性及び信頼度が向上した半導体装置を提供する。
【解決手段】本発明による半導体装置は、第1チャンネル領域、第1チャンネル領域上の第1絶縁構造体、第1絶縁構造体から離隔された第1金属パターン、第1金属パターンと第1絶縁構造体との間の第1ダイポール構造体を含む。第1ダイポール構造体は第1ダイポール膜及び第2ダイポール膜を含む。第1ダイポール膜は第1ダイポール元素を含む。第2ダイポール膜は第1ダイポール元素とは異なる第2ダイポール元素を含む。第1ダイポール元素の最大酸化数は第2ダイポール元素の最大酸化数とは異なる。
【選択図】図1
特許請求の範囲
【請求項1】
第1チャンネル領域と、
前記第1チャンネル上の第1絶縁構造体と、
前記第1絶縁構造体から離隔された第1金属パターンと、
前記第1金属パターンと前記第1絶縁構造体との間の第1ダイポール構造体と、を含み、
前記第1ダイポール構造体は、第1ダイポール膜及び第2ダイポール膜を含み、
前記第1ダイポール膜は、第1ダイポール元素を含み、
前記第2ダイポール膜は、前記第1ダイポール元素とは異なる第2ダイポール元素を含み、
前記第1ダイポール元素の最大酸化数は、前記第2ダイポール元素の最大酸化数とは異なることを特徴とする半導体装置。
続きを表示(約 1,000 文字)
【請求項2】
前記第1ダイポール膜は、前記第1金属パターンに接し、
前記第2ダイポール膜は、前記第1絶縁構造体に接することを特徴とする請求項1に記載の半導体装置。
【請求項3】
前記第1ダイポール元素の最大酸化数は、前記第2ダイポール元素の最大酸化数よりも大きいことを特徴とする請求項2に記載の半導体装置。
【請求項4】
前記第2ダイポール元素の最大酸化数は、前記第1ダイポール元素の最大酸化数よりも大きいことを特徴とする請求項2に記載の半導体装置。
【請求項5】
前記第1絶縁構造体と前記第1ダイポール構造体との間の第2金属パターンをさらに含むことを特徴とする請求項1に記載の半導体装置。
【請求項6】
前記第2金属パターンの厚さは、前記第1金属パターンの厚さよりも小さいことを特徴とする請求項5に記載の半導体装置。
【請求項7】
第2チャンネル領域と、
前記第2チャンネル領域上の第2絶縁構造体と、
前記第2絶縁構造体から離隔された第2金属パターンと、
前記第2金属パターンと前記第2絶縁構造体との間の第2ダイポール構造体と、を含み、
前記第1チャンネル領域は、第1導電形の不純物を含み、
前記第2チャンネル領域は、前記第1導電形とは異なる第2導電形の不純物を含み、
前記第2ダイポール構造体は、前記第1ダイポール元素を含む第3ダイポール膜及び前記第2ダイポール元素を含む第4ダイポール膜を含むことを特徴とする請求項1に記載の半導体装置。
【請求項8】
前記第1ダイポール構造体は、前記第1絶縁構造体に接し、
前記第2ダイポール構造体は、前記第2絶縁構造体から離隔し、
前記第2ダイポール構造体と前記第2絶縁構造体との間の第3金属パターンをさらに含むことを特徴とする請求項7に記載の半導体装置。
【請求項9】
第2金属パターンの仕事関数は、前記第3金属パターンの仕事関数よりも小さいことを特徴とする請求項8に記載の半導体装置。
【請求項10】
前記第2金属パターンの仕事関数は、前記第2チャンネル領域のミッドギャップ仕事関数よりも小さく、
前記第3金属パターンの仕事関数は、前記第2チャンネル領域のミッドギャップ仕事関数よりも大きいことを特徴とする請求項8に記載の半導体装置。
(【請求項11】以降は省略されています)
発明の詳細な説明
【技術分野】
【0001】
本発明は、半導体装置に関し、より詳細には、ダイポール構造体を含む半導体装置に関する。
続きを表示(約 2,100 文字)
【背景技術】
【0002】
小型化、多機能化、及び/又は低い製造単価等の特性によって半導体装置は電子産業で重要な要素として注目されている。半導体装置は論理データを格納する半導体記憶装置、論理データを演算処理する半導体論理装置、及び記憶要素と論理要素を含むハイブリッド(hybrid)半導体装置等に区分される。
【0003】
最近、電子機器の高速化、低消費電力化に応じて、これに組み込まれる半導体装置も、やはり速い動作速度及び/又は低い動作電圧等が要求されており、これを充足させるためにはより高集積化された半導体装置が必要である。但し、半導体装置の高集積化が深化するにつれ、半導体装置の電気的特性及び生産収率が減少する。したがって、半導体装置の電気的特性及び生産収率を向上させるために多くの研究が進められている。
【先行技術文献】
【特許文献】
【0004】
米国特許第10896966号明細書
【発明の概要】
【発明が解決しようとする課題】
【0005】
本発明は、上記従来技術に鑑みてなされたものであって、本発明の目的は、電気的特性及び信頼度が向上した半導体装置を提供することにある。
【課題を解決するための手段】
【0006】
上記目的を達成するためになされた本発明の一態様による半導体装置は、第1チャンネル領域と、前記第1チャンネル領域上の第1絶縁構造体と、前記第1絶縁構造体から離隔された第1金属パターンと、前記第1金属パターンと前記第1絶縁構造体との間の第1ダイポール構造体と、を含み、前記第1ダイポール構造体は第1ダイポール膜及び第2ダイポール膜を含み、前記第1ダイポール膜は第1ダイポール元素を含み、前記第2ダイポール膜は前記第1ダイポール元素とは異なる第2ダイポール元素を含み、前記第1ダイポール元素の最大酸化数は前記第2ダイポール元素の最大酸化数とは異なることを特徴とする。
【0007】
上記目的を達成するためになされた本発明の他の態様による半導体装置は、チャンネル領域と、前記チャンネル領域上のゲート絶縁膜と、前記ゲート絶縁膜上の高誘電膜と、前記高誘電膜から離隔された第1金属パターンと、前記第1金属パターンと前記高誘電膜との間のダイポール構造体と、を含み、前記第1金属パターンは金属化合物を含み、前記ダイポール構造体は第1ダイポール元素を含む第1ダイポール膜及び第2ダイポール元素を含む第2ダイポール膜と、を含み、前記第1ダイポール元素と前記第2ダイポール元素は互いに異なることを特徴とする。
【0008】
上記目的を達成するためになされた本発明のさらに他の態様による半導体装置は、チャンネル領域と、前記チャンネル領域上のゲート絶縁膜と、前記ゲート絶縁膜上の高誘電膜と、前記高誘電膜から離隔された第1金属パターンと、前記第1金属パターンと前記高誘電膜との間のダイポール構造体と、前記第1金属パターン上の導電構造体と、を含み、前記導電構造体はポリシリコンを含み、前記第1金属パターンは金属化合物を含み、前記ダイポール構造体は第1ダイポール元素を含む第1ダイポール膜及び第2ダイポール元素を含む第2ダイポール膜を含み、前記第1ダイポール元素の最大酸化数は前記第2ダイポール元素の最大酸化数とは異なることを特徴とする。
【発明の効果】
【0009】
本発明による半導体装置は、ダイポール構造体を含むことによって、トランジスタの閾値電圧を調節することができ、トランジスタのサイズを小さくすることができる。
【図面の簡単な説明】
【0010】
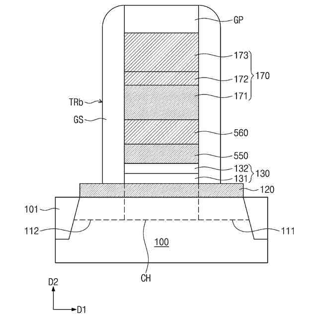
一部の実施形態による半導体装置の断面図である。
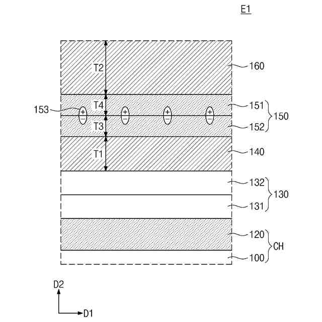
図1のE1領域の拡大図である。
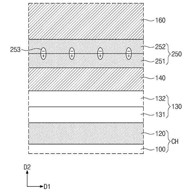
図2Aにしたがう半導体装置のエネルギーバンドダイヤグラムを示す図である。
一部の実施形態による半導体装置の拡大断面図である。
図3Aの半導体装置のエネルギーバンドダイヤグラムを示す図である。
一部の実施形態による半導体装置の断面図である。
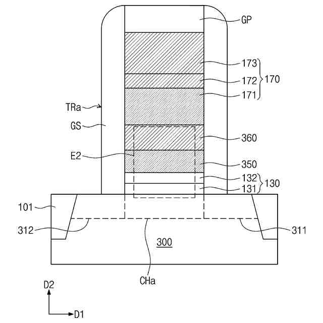
図4のE2領域の拡大図である。
一部の実施形態による半導体装置の拡大断面図である。
一部の実施形態による半導体装置の断面図である。
一部の実施形態による半導体装置の断面図である。
一部の実施形態による半導体装置の断面図である。
一部の実施形態による半導体装置の断面図である。
一部の実施形態による半導体装置の断面図である。
一部の実施形態による半導体装置の断面図である。
図11BのE3領域の拡大図である。
一部の実施形態による半導体装置の断面図である。
一部の実施形態による半導体装置の断面図である。
図12BのE4領域の拡大図である。
【発明を実施するための形態】
(【0011】以降は省略されています)
この特許をJ-PlatPat(特許庁公式サイト)で参照する
関連特許
三星電子株式会社
保持装置
11日前
三星電子株式会社
実装装置
11日前
三星電子株式会社
半導体装置
3日前
三星電子株式会社
半導体素子
17日前
三星電子株式会社
半導体素子
21日前
三星電子株式会社
半導体装置
21日前
三星電子株式会社
半導体素子
6日前
三星電子株式会社
固体二次電池
10日前
三星電子株式会社
固体撮像素子
1か月前
三星電子株式会社
固体撮像素子
1か月前
三星電子株式会社
モータ駆動装置
3日前
三星電子株式会社
半導体接合装置
11日前
三星電子株式会社
半導体パッケージ
1か月前
三星電子株式会社
半導体パッケージ
5日前
三星電子株式会社
半導体パッケージ
5日前
三星電子株式会社
イメージセンサー
4日前
三星電子株式会社
周辺回路領域を含む半導体素子
5日前
三星電子株式会社
イメージセンサー及びその動作方法
17日前
三星電子株式会社
半導体パッケージ装置及びこの製造方法
25日前
三星電子株式会社
回転磁気アレイ装置及び磁気冷凍システム
21日前
三星電子株式会社
回転磁気アレイ装置及び磁気冷凍システム
21日前
三星電子株式会社
シンプロビジョニングを通じたSSD仮想化
21日前
三星電子株式会社
ハイブリッドピクセル及びハイブリッドセンサ
1か月前
三星電子株式会社
半導体装置およびこれを含む電力半導体システム
6日前
三星電子株式会社
トランスフォーマー加速装置およびその動作方法
1か月前
三星電子株式会社
複数の波長を使用するライダーシステム及びその動作方法
6日前
三星電子株式会社
ニューロモルフィックコンピューティング装置及びその動作方法
19日前
三星電子株式会社
キャパシタ構造物を含む半導体装置及びこれを含むデータ記憶システム
19日前
三星電子株式会社
キャパシタ構造物を含む半導体装置及びこれを含むデータ記憶システム
12日前
三星電子株式会社
化合物、高分子化合物、レジスト組成物、およびレジストパターン形成方法
1か月前
三星電子株式会社
サブバンド全二重動作における複数の物理ランダム・アクセス・チャネル送信
3日前
三星電子株式会社
熱交換器、この熱交換器を用いた熱交換システム及びこの熱交換器を用いた空気調和機
18日前
三星電子株式会社
イメージセンサとその動作方法及びイメージ装置
3日前
三星電子株式会社
共重合体、ならびに当該共重合体を含有する組成物、液状組成物、およびエレクトロルミネッセンス素子
12日前
三星電子株式会社
色分離レンズアレイを具備するイメージセンサ、及びそれを含む電子装置
19日前
三星電子株式会社
高分子化合物、ならびに当該高分子化合物を用いるエレクトロルミネッセンス素子材料およびエレクトロルミネッセンス素子
12日前
続きを見る
他の特許を見る