TOP
|
特許
|
意匠
|
商標
特許ウォッチ
Twitter
他の特許を見る
10個以上の画像は省略されています。
公開番号
2025169201
公報種別
公開特許公報(A)
公開日
2025-11-12
出願番号
2025072658
出願日
2025-04-24
発明の名称
集積回路装置の製造方法
出願人
三星電子株式会社
,
Samsung Electronics Co.,Ltd.
代理人
弁理士法人共生国際特許事務所
主分類
H10B
12/00 20230101AFI20251105BHJP()
要約
【課題】電気的特性及び信頼度が向上した集積回路装置の製造方法を提供する。
【解決手段】本発明による集積回路装置の製造方法は、セルアレイ領域及び周辺回路領域を含む基板を準備する段階と、セルアレイ領域及び周辺回路領域上に導電層を形成する段階と、導電層上にキャッピング絶縁層を形成する段階と、セルアレイ領域において、キャッピング絶縁層をエッチングマスクとして用いてダイレクトコンタクト及びビットラインを形成する段階と、ビットライン及びダイレクトコンタクトの両側壁を覆うスペーサ構造物を形成する段階と、ダイレクトコンタクトとビットラインとの間、及び互いに隣接するビットラインの間に埋め込みコンタクトを形成する段階と、セルアレイ領域及び周辺回路領域を覆う絶縁スペーサを形成する段階と、周辺回路領域において、絶縁スペーサをエッチングマスクとして用いてゲート構造物を形成する段階と、を有する。
【選択図】図3A
特許請求の範囲
【請求項1】
セルアレイ領域及び周辺回路領域を含む基板を準備する段階と、
前記セルアレイ領域及び前記周辺回路領域上に導電層を形成する段階と、
前記導電層上にキャッピング絶縁層を形成する段階と、
前記セルアレイ領域において、前記キャッピング絶縁層をエッチングマスクとして用いてダイレクトコンタクト及びビットラインを形成する段階と、
前記ビットライン及び前記ダイレクトコンタクトの両側壁を覆うスペーサ構造物を形成する段階と、
前記ダイレクトコンタクトと前記ビットラインとの間、及び互いに隣接する前記ビットラインの間に埋め込みコンタクトを形成する段階と、
前記セルアレイ領域及び前記周辺回路領域を覆う絶縁スペーサを形成する段階と、
前記周辺回路領域において、前記絶縁スペーサをエッチングマスクとして用いてゲート構造物を形成する段階と、を有することを特徴とする集積回路装置の製造方法。
続きを表示(約 1,500 文字)
【請求項2】
前記キャッピング絶縁層を形成する段階は、
前記導電層上に第1キャッピング層を形成する段階と、
前記第1キャッピング層上に、前記第1キャッピング層と選択比を有するマスク層を形成する段階と、を含むことを特徴とする請求項1に記載の集積回路装置の製造方法。
【請求項3】
前記ダイレクトコンタクト及びビットラインを形成する段階は、前記ダイレクトコンタクト及び前記ビットライン上に、第1キャッピングパターン及びマスクパターンを形成する段階を含むことを特徴とする請求項2に記載の集積回路装置の製造方法。
【請求項4】
前記埋め込みコンタクトを形成する段階は、前記マスクパターンの上面及び前記埋め込みコンタクトの上面が同一平面をなすように形成する段階を含むことを特徴とする請求項3に記載の集積回路装置の製造方法。
【請求項5】
前記絶縁スペーサを形成する段階は、前記ビットラインを覆う前記第1キャッピングパターンが露出するように前記マスクパターンを取り除く段階を含み、
前記絶縁スペーサが段差を有するように形成することを特徴とする請求項4に記載の集積回路装置の製造方法。
【請求項6】
前記ゲート構造物を形成する段階は、前記ゲート構造物を覆い、前記セルアレイ領域に残存する前記絶縁スペーサ上に第2キャッピング層を形成する段階を含むことを特徴とする請求項1に記載の集積回路装置の製造方法。
【請求項7】
前記第1キャッピング層及びマスク層は、酸化物、窒化物、酸窒化物、又はそれらの組み合わせを含むことを特徴とする請求項2に記載の集積回路装置の製造方法。
【請求項8】
前記周辺回路領域において、前記ゲート構造物の両側にコンタクトプラグを形成する段階と、
前記埋め込みコンタクト及び前記コンタクトプラグと接続されるランディングパッドを形成する段階と、をさらに有することを特徴とする請求項6に記載の集積回路装置の製造方法。
【請求項9】
前記ランディングパッドを形成する段階は、
前記ゲート構造物及び前記第2キャッピング層を覆う上部絶縁層を形成する段階と、
前記上部絶縁層、前記第2キャッピング層、及び前記絶縁スペーサを貫通するリセスを形成する段階と、
前記リセスを充填する前記ランディングパッドを形成する段階と、を含むことを特徴とする請求項8に記載の集積回路装置の製造方法。
【請求項10】
セルアレイ領域及び周辺回路領域を含む基板を準備する段階と、
前記セルアレイ領域及び前記周辺回路領域上に導電層を形成する段階と、
前記導電層上に単一膜からなる第1キャッピング層を形成する段階と、
前記セルアレイ領域において、前記第1キャッピング層をエッチングマスクとして用いて、ダイレクトコンタクト、ビットライン、及び前記ダイレクトコンタクト及び前記ビットライン上に配置されるキャッピングパターンを形成する段階と、
前記ビットライン及び前記ダイレクトコンタクトの両側壁を覆うスペーサ構造物を形成する段階と、
前記ダイレクトコンタクトと前記ビットラインとの間、及び互いに隣接する前記ビットラインの間に埋め込みコンタクトを形成する段階と、
前記セルアレイ領域及び前記周辺回路領域を覆う絶縁スペーサを形成する段階と、
前記周辺回路領域において、前記絶縁スペーサをエッチングマスクとして用いてゲート構造物を形成する段階と、を有することを特徴とする集積回路装置の製造方法。
発明の詳細な説明
【技術分野】
【0001】
本発明は、集積回路装置の製造方法に関し、特に、ビットラインを含む集積回路素子の製造方法に関する。
続きを表示(約 4,300 文字)
【背景技術】
【0002】
集積回路素子のダウンスケーリングによって、集積回路素子を具現するための個々の微細回路パターンのサイズは、さらに減少している。
また、集積回路素子が高集積化されるにつれて、ビットラインの線幅が狭くなり、ビットラインの間にコンタクトを形成するための工程の難易度が高くなっている、という問題がある。
【発明の概要】
【発明が解決しようとする課題】
【0003】
本発明は上記従来の集積回路装置の製造方法における課題に鑑みてなされたものであって、本発明の目的は、電気的特性及び信頼度が向上した集積回路装置の製造方法を提供することにある。
【課題を解決するための手段】
【0004】
上記目的を達成するためになされた本発明による集積回路装置の製造方法は、セルアレイ領域及び周辺回路領域を含む基板を準備する段階と、前記セルアレイ領域及び前記周辺回路領域上に導電層を形成する段階と、前記導電層上にキャッピング絶縁層を形成する段階と、前記セルアレイ領域において、前記キャッピング絶縁層をエッチングマスクとして用いてダイレクトコンタクト及びビットラインを形成する段階と、前記ビットライン及び前記ダイレクトコンタクトの両側壁を覆うスペーサ構造物を形成する段階と、前記ダイレクトコンタクトと前記ビットラインとの間、及び互いに隣接する前記ビットラインの間に埋め込みコンタクトを形成する段階と、前記セルアレイ領域及び前記周辺回路領域を覆う絶縁スペーサを形成する段階と、前記周辺回路領域において、前記絶縁スペーサをエッチングマスクとして用いてゲート構造物を形成する段階と、を有することを特徴とする。
【0005】
また、上記目的を達成するためになされた本発明による集積回路装置の製造方法は、セルアレイ領域及び周辺回路領域を含む基板を準備する段階と、前記セルアレイ領域及び前記周辺回路領域上に導電層を形成する段階と、前記導電層上に単一膜からなる第1キャッピング層を形成する段階と、前記セルアレイ領域において、前記第1キャッピング層をエッチングマスクとして用いて、ダイレクトコンタクト、ビットライン、及び前記ダイレクトコンタクト及び前記ビットライン上に配置されるキャッピングパターンを形成する段階と、前記ビットライン及び前記ダイレクトコンタクトの両側壁を覆うスペーサ構造物を形成する段階と、前記ダイレクトコンタクトと前記ビットラインとの間、及び互いに隣接する前記ビットラインの間に埋め込みコンタクトを形成する段階と、前記セルアレイ領域及び前記周辺回路領域を覆う絶縁スペーサを形成する段階と、前記周辺回路領域において、前記絶縁スペーサをエッチングマスクとして用いてゲート構造物を形成する段階と、を有することを特徴とする。
【0006】
また、本発明の実施形態による集積回路装置は、セルアレイ領域及び周辺回路領域を含む基板と、前記基板の前記セルアレイ領域上で、前記基板の上面に平行な一方向に延長されるビットラインと、前記基板上に形成されたダイレクトコンタクトホール内で、前記基板の活性領域と接続されるダイレクトコンタクトと、前記ダイレクトコンタクトと前記ビットラインとの間、又は互いに隣接する前記ビットラインの間に配置される埋め込みコンタクトと、前記ビットライン及び前記ダイレクトコンタクトの両側壁を覆うスペーサ構造物と、前記ビットラインを覆って単一膜からなる第1キャッピングパターンと、前記第1キャッピングパターン及び前記埋め込みコンタクトを覆う絶縁スペーサと、前記基板の前記周辺回路領域上で、前記基板上に配置されるゲート構造物と、前記ゲート構造物の側面に配置されるコンタクトプラグと、を含むことを特徴とする。
【発明の効果】
【0007】
本発明に係る集積回路装置の製造方法によれば、第2キャッピング層を形成する工程がビットラインを形成する工程後に実行されることにより、ゲート構造物及びゲート構造物を覆う第2キャッピング層を形成する工程で発生するビットラインの劣化を防止し、集積回路装置の特性を改善することができる。
又、ゲート構造物を形成する工程をビットライン及び埋め込みコンタクトを形成する工程後に実行することにより、集積回路装置の電気的特性及び信頼度が向上する。
又、セルアレイ領域のビットラインの形成工程及び埋め込みコンタクトの形成工程後に周辺回路領域のゲート構造物の形成工程を実行することで、セルアレイ領域のビットラインの形成工程及び埋め込みコンタクトの形成工程のみを考慮して第1キャッピング層の高さを設計することができ、第1キャッピング層の高さを比較例の場合より低く調節することができるので、工程難易度が減少する。
【図面の簡単な説明】
【0008】
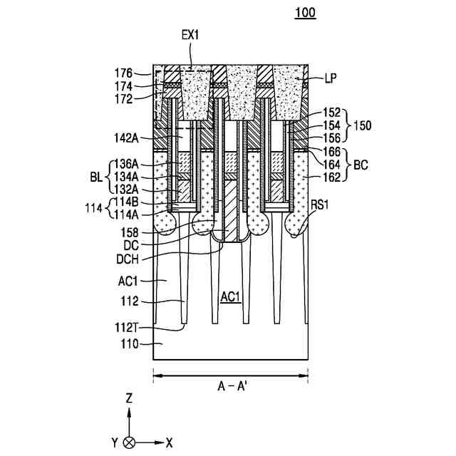
本発明の実施形態による集積回路装置の概略構成を示すレイアウト図である。
図1のII部分の拡大レイアウト図である。
図2のA-A’線に沿って切断した断面図である。
図2のB-B’線に沿って切断した断面図である。
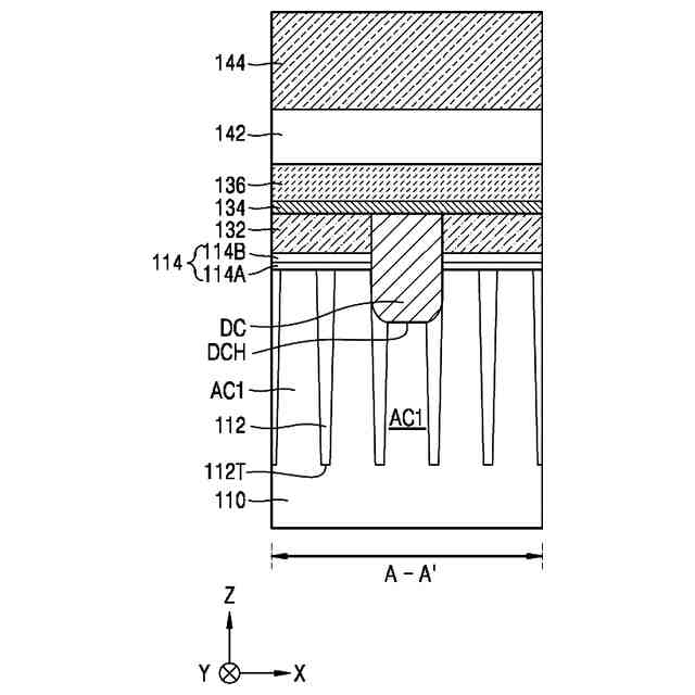
図3AのEX1部分の拡大断面図である。
本発明の実施形態による集積回路装置の製造方法を説明するための断面図であって、図2のA-A’線に沿って切断した断面に対応する断面図である。
本発明の実施形態による集積回路装置の製造方法を説明するための断面図であって、図2のB-B’線に沿って切断した断面に対応する断面図である。
本発明の実施形態による集積回路装置の製造方法を説明するための断面図であって、図2のA-A’線に沿って切断した断面に対応する断面図である。
本発明の実施形態による集積回路装置の製造方法を説明するための断面図であって、図2のA-A’線に沿って切断した断面に対応する断面図である。
本発明の実施形態による集積回路装置の製造方法を説明するための断面図であって、図2のB-B’線に沿って切断した断面に対応する断面図である。
本発明の実施形態による集積回路装置の製造方法を説明するための断面図であって、図2のA-A’線に沿って切断した断面に対応する断面図である。
本発明の実施形態による集積回路装置の製造方法を説明するための断面図であって、図2のB-B’線に沿って切断した断面に対応する断面図である。
本発明の実施形態による集積回路装置の製造方法を説明するための断面図であって、図2のA-A’線に沿って切断した断面に対応する断面図である。
本発明の実施形態による集積回路装置の製造方法を説明するための断面図であって、図2のB-B’線に沿って切断した断面に対応する断面図である。
本発明の実施形態による集積回路装置の製造方法を説明するための断面図であって、図2のA-A’線に沿って切断した断面に対応する断面図である。
本発明の実施形態による集積回路装置の製造方法を説明するための断面図であって、図2のB-B’線に沿って切断した断面に対応する断面図である。
本発明の実施形態による集積回路装置の製造方法を説明するための断面図であって、図2のA-A’線に沿って切断した断面に対応する断面図である。
本発明の実施形態による集積回路装置の製造方法を説明するための断面図であって、図2のB-B’線に沿って切断した断面に対応する断面図である。
本発明の実施形態による集積回路装置の製造方法を説明するための断面図であって、図2のA-A’線に沿って切断した断面に対応する断面図である。
本発明の実施形態による集積回路装置の製造方法を説明するための断面図であって、図2のB-B’線に沿って切断した断面に対応する断面図である。
本発明の実施形態による集積回路装置の製造方法を説明するための断面図であって、図2のA-A’線に沿って切断した断面に対応する断面図である。
本発明の実施形態による集積回路装置の製造方法を説明するための断面図であって、図2のA-A’線に沿って切断した断面に対応する断面図である。
本発明の実施形態による集積回路装置の製造方法を説明するための断面図であって、図2のB-B’線に沿って切断した断面に対応する断面図である。
本発明の実施形態による集積回路装置の製造方法を説明するための断面図であって、図2のA-A’線に沿って切断した断面に対応する断面図である。
本発明の実施形態による集積回路装置の製造方法を説明するための断面図であって、図2のB-B’線に沿って切断した断面に対応する断面図である。
本発明の実施形態による集積回路装置の製造方法を説明するための断面図であって、図2のA-A’線に沿って切断した断面に対応する断面図である。
本発明の実施形態による集積回路装置の製造方法を説明するための断面図であって、図2のB-B’線に沿って切断した断面に対応する断面図である。
本発明の実施形態による集積回路装置の製造方法を説明するための断面図であって、図2のA-A’線に沿って切断した断面に対応する断面図である。
本発明の実施形態による集積回路装置の製造方法を説明するための断面図であって、図2のB-B’線に沿って切断した断面に対応する断面図である。
【発明を実施するための形態】
【0009】
次に、本発明に係る集積回路装置の製造方法を実施するための形態の具体例を図面を参照しながら説明する。
図面上の同じ構成要素については同じ参照符号を使用し、それらに関連する重複説明は省略する。
【0010】
図1は、本発明の実施形態による集積回路装置の概略構成を示すレイアウト図であり、図2は、図1のII部分の拡大レイアウト図であり、図3Aは、図2のA-A’線に沿って切断した断面図であり、図3Bは、図2のB-B’線に沿って切断した断面図であり、図4は、図3AのEX1部分の拡大断面図である。
図1~図4を参照すると、集積回路装置100は、セルアレイ領域MCAと周辺回路領域PCAとを含む基板110を含む。
(【0011】以降は省略されています)
この特許をJ-PlatPat(特許庁公式サイト)で参照する
関連特許
三星電子株式会社
半導体素子
2日前
三星電子株式会社
光電変換装置
1日前
三星電子株式会社
半導体パッケージ
7日前
三星電子株式会社
半導体素子及びその製造方法
7日前
三星電子株式会社
半導体パッケージ及びその製造方法
9日前
三星電子株式会社
基板処理装置及びそれを含む半導体製造設備
2日前
三星電子株式会社
半導体装置及びそれを含むデータ記憶システム
7日前
三星電子株式会社
イメージセンサー、およびイメージセンサーの製造方法
9日前
三星電子株式会社
集積されたエピックアーキテクチャのための装置及びシステム
1日前
三星電子株式会社
インターメモリ/イントラメモリティアリングのためのシステム及び方法
8日前
三星電子株式会社
アンモニウム塩化合物、電解銅めっき用添加剤、電解銅めっき液組成物および電解銅めっき方法
1日前
個人
積和演算用集積回路
1か月前
日亜化学工業株式会社
発光装置
1日前
サンケン電気株式会社
半導体装置
1か月前
旭化成株式会社
発光素子
1か月前
日機装株式会社
半導体発光装置
1か月前
ローム株式会社
半導体装置
14日前
三菱電機株式会社
半導体装置
1日前
株式会社東芝
半導体装置
22日前
三菱電機株式会社
半導体装置
1日前
三菱電機株式会社
半導体装置
3日前
三菱電機株式会社
半導体装置
1か月前
株式会社東芝
半導体装置
1日前
三菱電機株式会社
半導体装置
22日前
AGC株式会社
太陽電池モジュール
1日前
株式会社半導体エネルギー研究所
表示装置
14日前
三菱電機株式会社
半導体装置
9日前
ローム株式会社
半導体集積回路
1か月前
日亜化学工業株式会社
光源
2日前
日亜化学工業株式会社
発光装置
1か月前
株式会社半導体エネルギー研究所
発光デバイス
1か月前
サンケン電気株式会社
半導体装置
22日前
株式会社半導体エネルギー研究所
発光デバイス
1日前
ローム株式会社
半導体装置
7日前
ローム株式会社
半導体装置
1か月前
株式会社半導体エネルギー研究所
発光デバイス
1か月前
続きを見る
他の特許を見る