TOP
|
特許
|
意匠
|
商標
特許ウォッチ
Twitter
他の特許を見る
10個以上の画像は省略されています。
公開番号
2025178110
公報種別
公開特許公報(A)
公開日
2025-12-05
出願番号
2025035567
出願日
2025-03-06
発明の名称
半導体パッケージ
出願人
三星電子株式会社
,
Samsung Electronics Co.,Ltd.
代理人
弁理士法人共生国際特許事務所
主分類
H01L
25/07 20060101AFI20251128BHJP(基本的電気素子)
要約
【課題】信頼性が向上した半導体パッケージを提供する。
【解決手段】本発明による半導体パッケージは、パッケージ基板と、パッケージ基板上に配置され、再配線構造物を含むインターポーザダイと、ここで、再配線構造物は、有機物を含む絶縁層と、絶縁層内の再配線層と、を含み、インターポーザダイ内に配置され、再配線層と接続され、第1電極と第1電極上の誘電膜と、誘電膜上の第2電極と、を含む受動素子と、インターポーザダイ上において絶縁層の上面に水平な方向に互いに離隔して配置され、再配線層を介してパッケージ基板に電気的に接続される半導体チップと、を有し、受動素子の厚さは、50μm以下であり、受動素子の誘電膜の少なくとも一部は、結晶質構造を有する。
【選択図】図1a
特許請求の範囲
【請求項1】
パッケージ基板と、
前記パッケージ基板上に配置され、再配線構造物を含むインターポーザダイ(interposer die)と、
ここで、前記再配線構造物は、有機物を含む絶縁層と、前記絶縁層内の再配線層と、を含み、
前記インターポーザダイ内に配置され、前記再配線層と接続され、第1電極と前記第1電極上の誘電膜と、前記誘電膜上の第2電極と、を含む受動素子と、
前記インターポーザダイ上において前記絶縁層の上面に水平な方向に互いに離隔して配置され、前記再配線層を介して前記パッケージ基板に電気的に接続される半導体チップと、を有し、
前記受動素子の厚さは、50μm以下であり、
前記受動素子の前記誘電膜の少なくとも一部は、結晶質構造を有することを特徴とする半導体パッケージ。
続きを表示(約 1,400 文字)
【請求項2】
前記受動素子の前記誘電膜は、伝導性高分子物質又は金属酸化物を含むことを特徴とする請求項1に記載の半導体パッケージ。
【請求項3】
前記誘電膜の厚さは、前記第1電極の第1厚さ及び前記第2電極の第2厚さより小さい第3厚さを有することを特徴とする請求項1に記載の半導体パッケージ。
【請求項4】
前記半導体チップは、第1半導体チップ及び第2半導体チップを含み、
前記第1半導体チップは、ロジックチップを含み、
前記第2半導体チップは、メモリチップを含み、
前記絶縁層の前記上面に垂直な方向に、前記受動素子は、前記第1半導体チップの少なくとも一部と重畳することを特徴とする請求項1に記載の半導体パッケージ。
【請求項5】
前記受動素子の下面は、前記絶縁層の下面と共面をなすことを特徴とする請求項1に記載の半導体パッケージ。
【請求項6】
前記インターポーザダイは、前記絶縁層の下面の下に配置され、キャビティを含む支持層を含み、
前記受動素子は、前記支持層の前記キャビティ内に配置されることを特徴とする請求項1に記載の半導体パッケージ。
【請求項7】
受動素子と、
前記受動素子の側面及び上面を覆い、有機物を含む絶縁層と、前記絶縁層内に配置され、前記受動素子と接続される再配線層と、を含む再配線構造物と、
前記再配線構造物上において互いに離隔して配置され、前記再配線層と接続される第1半導体チップ及び第2半導体チップと、
前記再配線構造物の下に配置される下部接続パッドと、を有し、
前記下部接続パッドの一部は、前記受動素子の下面と接触することを特徴とする半導体パッケージ。
【請求項8】
パッケージ基板と、
前記パッケージ基板上に配置され、キャビティを含む支持層と、前記支持層上に配置される絶縁層と、前記絶縁層内に配置される再配線層と、を含むインターポーザダイと、
前記支持層の前記キャビティ内に配置され、前記再配線層と接続される受動素子と、
前記インターポーザダイ上に配置され、前記再配線層を介して前記パッケージ基板と電気的に接続される半導体チップと、を有し、
前記受動素子の上面は、前記絶縁層の下面と接触することを特徴とする半導体パッケージ。
【請求項9】
前記インターポーザダイは、
前記キャビティを充填し、前記受動素子を覆う封止材と、
前記封止材の下面及び前記支持層の下面を覆う保護層と、
前記保護層の下に配置される第1及び第2下部接続パッドと、
前記封止材を貫通して前記受動素子と前記第1下部接続パッドとを接続する接続ビアと、
前記支持層と前記保護層を貫通して、前記再配線層と前記第2下部接続パッドとを接続する貫通ビアを含み、
前記受動素子の厚さは、前記支持層の厚さよりも小さいことを特徴とする請求項8に記載の半導体パッケージ。
【請求項10】
前記インターポーザダイは、前記支持層の下に配置される下部接続パッドをさらに含み、
前記受動素子の厚さは、前記支持層の厚さと同じであり、
前記下部接続パッドの一部は、前記受動素子と接触することを特徴とする請求項8に記載の半導体パッケージ。
発明の詳細な説明
【技術分野】
【0001】
本発明は、半導体パッケージに関し、特に、信頼性が向上した半導体パッケージに関する。
続きを表示(約 2,700 文字)
【背景技術】
【0002】
電子産業の発展及びユーザの要求に応じて、電子機器は、より小型化及び軽量化しており、電子機器に使用される半導体パッケージは小型化及び軽量化と共に高性能及び大容量が要求されている。
小型化及び軽量化と共に高性能及び大容量を実現するための課題として、半導体チップの機能を向上させるためのキャパシタのような受動素子を含む半導体パッケージに対する研究開発絶えず行われている。
【発明の概要】
【発明が解決しようとする課題】
【0003】
本発明は上記従来の半導体パッケージにおける課題に鑑みてなされたものであって、本発明の目的は、信頼性が向上した半導体パッケージを提供することにある。
【課題を解決するための手段】
【0004】
上記目的を達成するためになされた本発明による半導体パッケージは、パッケージ基板と、前記パッケージ基板上に配置され、再配線構造物を含むインターポーザダイ(interposer die)と、ここで、前記再配線構造物は、有機物を含む絶縁層と、前記絶縁層内の再配線層と、を含み、前記インターポーザダイ内に配置され、前記再配線層と接続され、第1電極と前記第1電極上の誘電膜と、前記誘電膜上の第2電極と、を含む受動素子と、前記インターポーザダイ上において前記絶縁層の上面に水平な方向に互いに離隔して配置され、前記再配線層を介して前記パッケージ基板に電気的に接続される半導体チップと、を有し、前記受動素子の厚さは、50μm以下であり、前記受動素子の前記誘電膜の少なくとも一部は、結晶質構造を有することを特徴とする。
【0005】
また、上記目的を達成するためになされた本発明による半導体パッケージは、受動素子と、前記受動素子の側面及び上面を覆い、有機物を含む絶縁層と、前記絶縁層内に配置され、前記受動素子と接続される再配線層と、を含む再配線構造物と、前記再配線構造物上において互いに離隔して配置され、前記再配線層と接続される第1半導体チップ及び第2半導体チップと、前記再配線構造物の下に配置される下部接続パッドと、を有し、前記下部接続パッドの一部は、前記受動素子の下面と接触することを特徴とする。
【0006】
また、上記目的を達成するためになされた本発明による半導体パッケージは、パッケージ基板と、前記パッケージ基板上に配置され、キャビティを含む支持層と、前記支持層上に配置される絶縁層と、前記絶縁層内に配置される再配線層と、を含むインターポーザダイと、前記支持層の前記キャビティ内に配置され、前記再配線層と接続される受動素子と、前記インターポーザダイ上に配置され、前記再配線層を介して前記パッケージ基板と電気的に接続される半導体チップと、を有し、前記受動素子の上面は、前記絶縁層の下面と接触することを特徴とする。
【発明の効果】
【0007】
本発明に係る半導体パッケージによれば、再配線構造物を含むインターポーザの内部に一定厚さ以下の薄い受動素子を含む構造を有する半導体パッケージを導入することにより、信頼性が向上した半導体パッケージを提供することができる。
【図面の簡単な説明】
【0008】
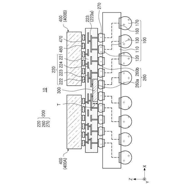
本発明の実施形態による半導体パッケージの概略構成を示す断面図である。
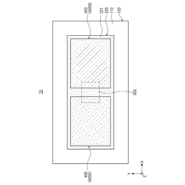
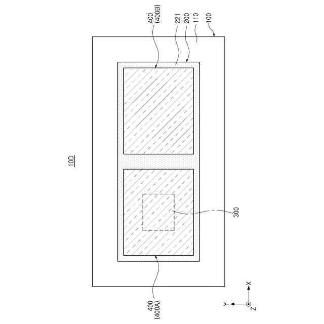
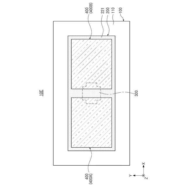
本発明の実施形態による半導体パッケージを示す平面図である。
本発明の実施形態による受動素子を示す断面図である。
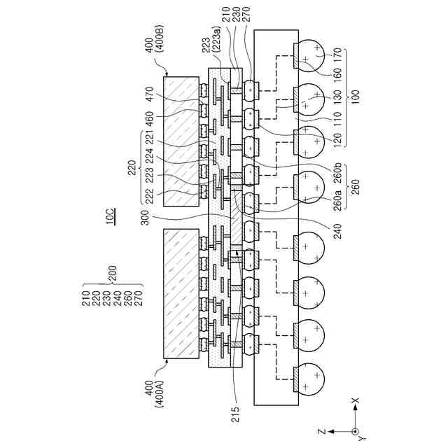
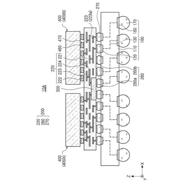
本発明の実施形態による半導体パッケージの概略構成を示す断面図である。
本発明の実施形態による半導体パッケージの概略構成を示す断面図である。
本発明の実施形態による半導体パッケージの概略構成を示す断面図である。
本発明の実施形態による半導体パッケージを示す平面図である。
本発明の実施形態による半導体パッケージを示す平面図である。
本発明の実施形態による半導体パッケージを示す平面図である。
本発明の実施形態による半導体パッケージを示す平面図である。
本発明の実施形態による半導体パッケージの製造方法を説明するために、工程順序に従って示す断面図である。
本発明の実施形態による半導体パッケージの製造方法を説明するために、工程順序に従って示す断面図である。
本発明の実施形態による半導体パッケージの製造方法を説明するために、工程順序に従って示す断面図である。
本発明の実施形態による半導体パッケージの製造方法を説明するために、工程順序に従って示す断面図である。
本発明の実施形態による半導体パッケージの製造方法を説明するために、工程順序に従って示す断面図である。
本発明の実施形態による半導体パッケージの製造方法を説明するために、工程順序に従って示す断面図である。
本発明の実施形態による半導体パッケージの製造方法を説明するために、工程順序に従って示す断面図である。
本発明の実施形態による半導体パッケージの製造方法を説明するために、工程順序に従って示す断面図である。
本発明の実施形態による半導体パッケージの製造方法を説明するために、工程順序に従って示す断面図である。
本発明の実施形態による半導体パッケージの製造方法を説明するために、工程順序に従って示す断面図である。
本発明の実施形態による半導体パッケージの製造方法を説明するために、工程順序に従って示す断面図である。
本発明の実施形態による半導体パッケージの製造方法を説明するために、工程順序に従って示す断面図である。
本発明の実施形態による半導体パッケージの製造方法を説明するために、工程順序に従って示す断面図である。
【発明を実施するための形態】
【0009】
次に、本発明に係る半導体パッケージを実施するための形態の具体例を図面を参照しながら説明する。
【0010】
以下、添付の図面を参照し、本発明の実施形態について以下のように説明する。
以下において、「上」、「上部」、「上面」、「下」、「下部」、「下面」、「側面」等の用語は図面符号で表記され、別途言及される場合を除き、図面を基準として称するものと理解することができる。
(【0011】以降は省略されています)
この特許をJ-PlatPat(特許庁公式サイト)で参照する
関連特許
三星電子株式会社
冷蔵庫
1か月前
三星電子株式会社
冷蔵庫
1か月前
三星電子株式会社
保持装置
1か月前
三星電子株式会社
実装装置
1か月前
三星電子株式会社
半導体素子
2か月前
三星電子株式会社
半導体装置
10日前
三星電子株式会社
半導体装置
1か月前
三星電子株式会社
半導体素子
2か月前
三星電子株式会社
半導体装置
1か月前
三星電子株式会社
半導体装置
18日前
三星電子株式会社
半導体素子
1か月前
三星電子株式会社
固体二次電池
1か月前
三星電子株式会社
固体撮像装置
1か月前
三星電子株式会社
半導体接合装置
1か月前
三星電子株式会社
モータ駆動装置
1か月前
三星電子株式会社
イメージセンサ
9日前
三星電子株式会社
イメージセンサ
1か月前
三星電子株式会社
半導体パッケージ
1か月前
三星電子株式会社
半導体パッケージ
2日前
三星電子株式会社
イメージセンサー
1か月前
三星電子株式会社
半導体パッケージ
1か月前
三星電子株式会社
半導体パッケージ
1か月前
三星電子株式会社
半導体パッケージ
1か月前
三星電子株式会社
イメージセンサー
17日前
三星電子株式会社
半導体パッケージ
10日前
三星電子株式会社
半導体パッケージ
23日前
三星電子株式会社
集積回路パッケージ
1か月前
三星電子株式会社
集積回路装置の製造方法
25日前
三星電子株式会社
半導体素子及びその製造方法
2日前
三星電子株式会社
トランスフォーマー加速装置
18日前
三星電子株式会社
周辺回路領域を含む半導体素子
1か月前
三星電子株式会社
半導体装置およびその製造方法
10日前
三星電子株式会社
イメージセンサ及びその動作方法
1か月前
三星電子株式会社
スペーサを含む半導体パッケージ
9日前
三星電子株式会社
イメージセンサ及びその動作方法
1か月前
三星電子株式会社
半導体パッケージ及びその製造方法
17日前
続きを見る
他の特許を見る