TOP
|
特許
|
意匠
|
商標
特許ウォッチ
Twitter
他の特許を見る
10個以上の画像は省略されています。
公開番号
2025170771
公報種別
公開特許公報(A)
公開日
2025-11-19
出願番号
2025077099
出願日
2025-05-07
発明の名称
トランスフォーマー加速装置
出願人
三星電子株式会社
,
Samsung Electronics Co.,Ltd.
,
ネイバー コーポレーション
,
NAVER Corporation
代理人
弁理士法人ITOH
主分類
G06N
3/063 20230101AFI20251112BHJP(計算;計数)
要約
【課題】キーバリューベクトルを読み出すトランスフォーマー加速装置を開示する。
【解決手段】トランスフォーマー加速装置は、複数のトークンらに対する複数のキャッシュベクトルを保存する第1、第2メモリブロックを含むメモリ装置及び第1ストライディング要請に応答して、第1及び第2メモリブロックにアクセスするメモリストライディング回路を含む。メモリストライディング回路は、第1、第2メモリブロックに対する第1、第2メモリブロック基底アドレスを保存するメモリブロックアドレス管理回路、ストライディング要請に応答して、メモリブロック基底アドレス及びサブブロックオフセットに基づいて、第1、第2ターゲットアドレスを演算するターゲットアドレス生成回路及びターゲットアドレスに位置したターゲットサブブロックに対する第1、第2複数のメモリアクセスコマンドらを発行するように構成されるコマンド発行回路を含む。
【選択図】図13
特許請求の範囲
【請求項1】
トランスフォーマー加速装置であって、
第1複数のトークンらに対する第1複数のキャッシュベクトルを保存する第1メモリブロック、及び第2複数のトークンらに対する第2複数のキャッシュベクトルを保存する第2メモリブロックを含むメモリ装置、及び、
外部から提供された第1ストライディング要請に応答して、前記第1及び第2メモリブロックにアクセスするように構成されたメモリストライディング回路、
を含み、
前記メモリストライディング回路は、
前記第1メモリブロックに対する第1メモリブロック基底アドレス及び前記第2メモリブロックに対する第2メモリブロック基底アドレスを保存するメモリブロックアドレス管理回路、
前記第1ストライディング要請に応答して、前記第1メモリブロック基底アドレス及び第1サブブロックオフセットに基づいて、前記第1メモリブロックに含まれる第1ターゲットアドレスを演算し、前記第2メモリブロック基底アドレス及び前記第1サブブロックオフセットに基づいて、前記第2メモリブロックに含まれる第2ターゲットアドレスを演算するターゲットアドレス生成回路、及び、
前記第1ターゲットアドレスに位置した第1ターゲットサブブロックに対する第1複数のメモリアクセスコマンドら、及び前記第2ターゲットアドレスに位置した第2ターゲットサブブロックに対する第2複数のメモリアクセスコマンドらを発行するように構成されるコマンド発行回路を含むことを特徴とするトランスフォーマー加速装置。
続きを表示(約 1,900 文字)
【請求項2】
前記第1及び第2ターゲットサブブロックのサイズは、第1リーディングサイズであることを特徴とする請求項1に記載のトランスフォーマー加速装置。
【請求項3】
前記第1ストライディング要請は、
前記第1メモリブロック基底アドレス、前記第2メモリブロック基底アドレス、前記第1サブブロックオフセット、及び前記第1リーディングサイズを含むことを特徴とする請求項2に記載のトランスフォーマー加速装置。
【請求項4】
前記ターゲットアドレス生成回路は、
前記第1ストライディング要請に応答して、前記第1メモリブロック基底アドレス及び第2サブブロックオフセットに基づいて、前記第1メモリブロックに含まれる第3ターゲットアドレスを演算し、前記第2メモリブロック基底アドレス及び前記第2サブブロックオフセットに基づいて、前記第2メモリブロックに含まれる第4ターゲットアドレスを演算するように構成され、
前記コマンド発行回路は、
前記第3ターゲットアドレスに位置した第3ターゲットサブブロックに対する第3複数のメモリアクセスコマンドら及び前記第4ターゲットアドレスに位置した第4ターゲットサブブロックに対する第4複数のメモリアクセスコマンドらを発行するようにさらに構成されることを特徴とする請求項2に記載のトランスフォーマー加速装置。
【請求項5】
前記第1ストライディング要請は、
前記第1メモリブロック基底アドレス、前記第2メモリブロック基底アドレス、ヘッドアドレスインターバル、レイヤーアドレスインターバル、及び前記第1リーディングサイズを含むことを特徴とする請求項4に記載のトランスフォーマー加速装置。
【請求項6】
前記ターゲットアドレス生成回路は、
前記ヘッドアドレスインターバル及び前記レイヤーアドレスインターバルに基づいて、前記第1及び第2サブブロックオフセットを演算するようにさらに構成されることを特徴とする請求項5に記載のトランスフォーマー加速装置。
【請求項7】
前記第1及び第2サブブロックオフセットのそれぞれは、前記ヘッドアドレスインターバルの整数倍及び前記レイヤーアドレスインターバルの整数倍の合計に対応することを特徴とする請求項6に記載のトランスフォーマー加速装置。
【請求項8】
前記コマンド発行回路は、
前記第1及び第2複数のメモリアクセスコマンドらを第1時間間隔の間に読み出すように構成され、
前記第3及び第4複数のメモリアクセスコマンドらを前記第1時間間隔の後の第2時間間隔の間に読み出すように構成されることを特徴とする請求項5に記載のトランスフォーマー加速装置。
【請求項9】
前記第1複数のキャッシュベクトルのうち、前記第1ターゲットサブブロックに含まれるキャッシュベクトルらは、互いに隣接したアドレスに保存され、
前記第2複数のキャッシュベクトルのうち、前記第2ターゲットサブブロックに含まれるキャッシュベクトルらは、互いに隣接したアドレスに保存されることを特徴とする請求項1に記載のトランスフォーマー加速装置。
【請求項10】
トランスフォーマー加速装置であって、
複数のヘッドに基づいて行われるマルチヘッドアテンション演算をそれぞれ含む複数のデコーダーレイヤーを実行し、
前記複数のヘッドのうちの1つである第1ヘッド及び前記複数のデコーダーレイヤーのうちの1つである第1デコーダーレイヤーに基づいて、第1複数のトークンらに対して生成された第1複数のキャッシュベクトルを保存する第1サブブロックを含む第1メモリブロック、
前記第1ヘッド及び前記第1デコーダーレイヤーに基づいて、第2複数のトークンらに対して生成された第2複数のキャッシュベクトルを保存する第2サブブロックを含む第2メモリブロック、
外部から提供された第1ストライディング要請に応答して、前記第1サブブロック及び前記第2サブブロックに順次アクセスして前記第1複数のキャッシュベクトル及び前記第2複数のキャッシュベクトルを読み出すメモリストライディング回路、及び、
前記第1複数のキャッシュベクトル及び前記第2複数のキャッシュベクトルに基づいて、前記第1ヘッド及び前記第1デコーダーレイヤーに対する第1アテンション演算を行う演算回路を含むことを特徴とするトランスフォーマー加速装置。
発明の詳細な説明
【技術分野】
【0001】
本開示は、複数の入力トークンに基づいて出力トークンを生成するトランスフォーマーを実行するトランスフォーマー加速装置に関するものである。より詳細には、本開示は、トランスフォーマーの実行のためにキャッシングされるキーバリューベクトルを連続的に読み出すように構成されるメモリストライディング回路を含むトランスフォーマー加速装置に関するものである。
続きを表示(約 3,800 文字)
【背景技術】
【0002】
トランスフォーマー加速装置は、複数の入力トークンに基づいて出力トークンを生成する。例えば、トランスフォーマー加速装置は、複数の入力トークンに基づいてトランスフォーマーを実行して、複数の入力トークンに後行されることに適した第1出力トークンを生成することができる。
【0003】
トランスフォーマーは、オートリグレッション(auto-regression)方式で動作することができる。例えば、トランスフォーマーは、複数の入力トークンと共に第1出力トークンをさらに使用して、複数の入力トークン及び第1出力トークンに後行されることに適した第2出力トークンを生成することができる。即ち、トランスフォーマーは、複数のイテレーション(iteration)にわたって順次動作することができ、各イテレーションにより生成されたトークンを次のイテレーションの入力として使用することができる。
【0004】
トランスフォーマーは、複数のイテレーションにわたって生成されるキーバリューベクトルを再利用することができる。例えば、トランスフォーマーは、以前のイテレーションで演算されたキーバリューベクトルを次のイテレーションでリサイクルすることができる。ところが、トランスフォーマーがキーバリューベクトルを保存して読み出す方式が最適化されない場合、キーバリューベクトルの保存及び読み出すことにより、トランスフォーマー加速装置の動作効率が低下することができる。
【発明の概要】
【発明が解決しようとする課題】
【0005】
本開示は、前述された技術的課題を解決するためのものである。より詳細には、本開示の目的はn最適化した方式でキーバリューベクトルを読み出すように具現されたメモリストライディング回路を含むトランスフォーマー加速装置を提供することにある。
【課題を解決するための手段】
【0006】
本開示の一実施例によるトランスフォーマー加速装置は、第1複数のトークンらに対する第1複数のキャッシュベクトルを保存する第1メモリブロック、及び第2複数のトークンらに対する第2複数のキャッシュベクトルを保存する第2メモリブロックを含むメモリ装置;及び外部から提供された第1ストライディング要請に応答して前記第1及び第2メモリブロックにアクセスするように構成されたメモリストライディング回路を含むことができる。この場合、前記メモリストライディング回路は:前記第1メモリブロックに対する第1メモリブロック基底アドレス及び前記第2メモリブロックに対する第2メモリブロック基底アドレスを保存するメモリブロックアドレス管理回路;前記第1ストライディング要請に応答して、前記第1メモリブロック基底アドレス及び第1サブブロックオフセットに基づいて、前記第1メモリブロックに含まれる第1ターゲットアドレスを演算し、前記第2メモリブロック基底アドレス及び前記第1サブブロックオフセットに基づいて、前記第2メモリブロックに含まれる第2ターゲットアドレスを演算するターゲットアドレス生成回路;及び前記第1ターゲットアドレスに位置した第1ターゲットサブブロックに対する第1複数のメモリアクセスコマンドら、及び前記第2ターゲットアドレスに位置した第2ターゲットサブブロックに対する第2複数のメモリアクセスコマンドらを発行するように構成されるコマンド発行回路を含むことができる。
【0007】
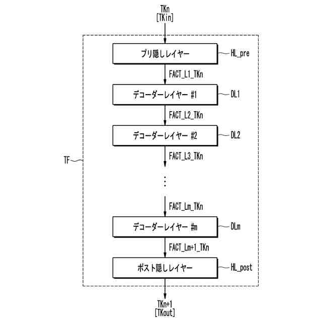
本開示の一実施例による複数のヘッドに基づいて行われるマルチヘッドアテンション演算をそれぞれ含む複数のデコーダーレイヤーを実行するトランスフォーマー加速装置は:前記複数のヘッドのうちの1つである第1ヘッド及び前記複数のデコーダーレイヤーのうちの1つである第1デコーダーレイヤーに基づいて、第1複数のトークンらに対して生成された第1複数のキャッシュベクトルを保存する第1サブブロックを含む第1メモリブロック;前記第1ヘッド及び前記第1デコーダーレイヤーに基づいて、第2複数のトークンらに対して生成された第2複数のキャッシュベクトルを保存する第2サブブロックを含む第2メモリブロック;外部から提供された第1ストライディング要請に応答して、前記第1サブブロック及び前記第2サブブロックに順次アクセスして前記第1複数のキャッシュベクトル及び前記第2複数のキャッシュベクトルを読み出すメモリストライディング回路;及び前記第1複数のキャッシュベクトル及び前記第2複数のキャッシュベクトルに基づいて、前記第1ヘッド及び前記第1デコーダーレイヤーに対する第1アテンション演算を行う演算回路を含むことができる。
【0008】
本開示の一実施例による複数のサブブロックらを含むトランスフォーマー加速装置は:複数のメモリブロックを含むメモリ装置;外部から提供された第1ストライディング要請に応答して前記複数のサブブロックらに順次アクセスするメモリストライディング回路;及び前記複数のサブブロックのうちの前記メモリストライディング回路から第1時間間隔の間のアクセスされた第1複数のサブブロックに基づいて、第1アテンション演算を行い、前記複数のサブブロックのうちの前記メモリストライディング回路から第1時間間隔の後の第2時間間隔の間のアクセスされた第2複数のサブブロックに基づいて、第2アテンション演算を行う演算回路を含むことができる。
【図面の簡単な説明】
【0009】
本開示の実施例によるトランスフォーマー加速装置を示すブロック図である。
図1のトランスフォーマー加速装置をより詳細に示すブロック図である。
図1のトランスフォーマーの動作を示すブロック図である。
一実施例による図3のトランスフォーマーの構成を示すブロック図である。
図4のデコーダーレイヤーの構成をより詳細に示す図である。
図5のリニア演算をより詳細に示す図である。
図5のマルチヘッドアテンション演算をより詳細に示す図である。
図5のマルチヘッドアテンション演算をより詳細に示す図である。
図7のアテンションスコア演算をより詳細に示す図である。
図7のアテンションベクトル演算をより詳細に示す図である。
図3のトランスフォーマーの動作を総合的に示す図である。
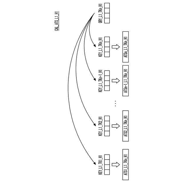
本開示の実施例によるメモリストライディング回路の動作をより詳細に示すブロック図である。
図2のメモリストライディング回路をより詳細に示すブロック図である。
図13のメモリブロック基底アドレステーブルを示す図である。
図12のメモリブロックをより詳細に示す図である。
図15に示すサブブロックの構成をより詳細に示す図である。
図15のサブブロックグループをより詳細に示す図である。
図15のサブブロックグループをより詳細に示す図である。
一実施例によるメモリストライディング回路の動作を示す図である。
図19のメモリストライディング回路の動作をより詳細に示す図である。
図19のメモリストライディング回路の動作を示すフローチャートである。
図21のS120段階をより詳細に示すフローチャートである。
一実施例によるメモリストライディング回路の動作を示す図である。
図20のメモリストライディング回路の動作をより詳細に示す図である。
図24のメモリストライディング回路の動作を示すフローチャートである。
図25のS220段階をより詳細に示すフローチャートである。
一実施例によるメモリストライディング回路の動作を示す図である。
図27のメモリストライディング回路の動作をより詳細に示す図である。
図27のメモリストライディング回路の動作を示すフローチャートである。
図29のS320段階をより詳細に示すフローチャートである。
【発明を実施するための形態】
【0010】
以下、本開示の技術分野における通常の知識を有する者が本開示を容易に実施することができるように、本開示の実施例らが明確で詳細に記載されるはずである。詳細な構成ら及び構造らのような細部的な事項らは、単に本開示の実施例らの全般的な理解のために提供される。従って、本開示の技術的な思想及び範囲から逸脱することなく、本明細書に記載された実施例らの変形らは、当業者によって実行することができる。さらに、周知の機能ら及び構造らに対する説明らは、明確性及び簡潔性のために省略される。以下の図面らまたは詳細な説明における構成らは、図面に示されたり、または詳細な説明に記載された構成要素以外に他のものと連結されることがある。本明細書における使用される用語らは、本開示の機能らを考慮して定義された用語らであり、特定機能に限定されない。用語らの定義は、詳細な説明に記載されている事項に基づいて決定することができる。
(【0011】以降は省略されています)
この特許をJ-PlatPat(特許庁公式サイト)で参照する
関連特許
三星電子株式会社
冷蔵庫
21日前
三星電子株式会社
冷蔵庫
29日前
三星電子株式会社
実装装置
1か月前
三星電子株式会社
保持装置
1か月前
三星電子株式会社
半導体装置
14日前
三星電子株式会社
半導体素子
1か月前
三星電子株式会社
半導体装置
1か月前
三星電子株式会社
半導体装置
今日
三星電子株式会社
半導体素子
1か月前
三星電子株式会社
固体撮像装置
26日前
三星電子株式会社
固体二次電池
1か月前
三星電子株式会社
イメージセンサ
13日前
三星電子株式会社
モータ駆動装置
1か月前
三星電子株式会社
半導体接合装置
1か月前
三星電子株式会社
半導体パッケージ
12日前
三星電子株式会社
半導体パッケージ
5日前
三星電子株式会社
半導体パッケージ
1か月前
三星電子株式会社
半導体パッケージ
1か月前
三星電子株式会社
イメージセンサー
1か月前
三星電子株式会社
半導体パッケージ
13日前
三星電子株式会社
集積回路パッケージ
28日前
三星電子株式会社
集積回路装置の製造方法
7日前
三星電子株式会社
トランスフォーマー加速装置
今日
三星電子株式会社
周辺回路領域を含む半導体素子
1か月前
三星電子株式会社
イメージセンサ及びその動作方法
20日前
三星電子株式会社
イメージセンサ及びその動作方法
13日前
三星電子株式会社
イメージセンサー及びその動作方法
1か月前
三星電子株式会社
半導体装置及びこれを含むデータ記憶システム
20日前
三星電子株式会社
半導体装置およびこれを含む電力半導体システム
1か月前
三星電子株式会社
半導体パッケージング用フィルム及びその製造方法
12日前
三星電子株式会社
レジスト組成物及びそれを用いたパターン形成方法
12日前
三星電子株式会社
プラズマエッチング工程を含む半導体素子の製造方法
26日前
三星電子株式会社
後面構造物を含む半導体チップを含む半導体パッケージ
20日前
三星電子株式会社
複数の波長を使用するライダーシステム及びその動作方法
1か月前
三星電子株式会社
ニューロモルフィックコンピューティング装置及びその動作方法
1か月前
三星電子株式会社
キャパシタ構造物を含む半導体装置及びこれを含むデータ記憶システム
1か月前
続きを見る
他の特許を見る