TOP
|
特許
|
意匠
|
商標
特許ウォッチ
Twitter
他の特許を見る
10個以上の画像は省略されています。
公開番号
2025173472
公報種別
公開特許公報(A)
公開日
2025-11-27
出願番号
2025047367
出願日
2025-03-21
発明の名称
半導体装置
出願人
三星電子株式会社
,
Samsung Electronics Co.,Ltd.
代理人
弁理士法人共生国際特許事務所
主分類
H01L
21/768 20060101AFI20251119BHJP(基本的電気素子)
要約
【課題】電気的特性及び信頼性が向上された電界効果トランジスタを含む半導体装置を提供する。
【解決手段】本発明による半導体装置は、複数の活性パターンAP1、AP2を含む基板と、活性パターンAP1、AP2間に配置される素子分離膜STと、基板の上に配置される積層パターンSTPと、基板の下面上に配置されるパワー伝送ネットワーク層PDNと、積層パターンを貫通する第1貫通ビアTVI1と、パワー伝送ネットワーク層と第1貫通ビアとの間に配置される第2貫通ビアTVI2と、を有し、第2貫通ビアは、活性パターンAP1、AP2及び素子分離膜STを貫通する。
【選択図】図7B
特許請求の範囲
【請求項1】
複数の活性パターンを含む基板と、
前記活性パターン間に配置される素子分離膜と、
前記基板の上に配置される積層パターンと、
前記基板の下面上に配置されるパワー伝送ネットワーク層と、
前記積層パターンを貫通する第1貫通ビアと、
前記パワー伝送ネットワーク層と前記第1貫通ビアとの間に配置される第2貫通ビアと、を有し、
前記第2貫通ビアは、前記活性パターン及び前記素子分離膜を貫通することを特徴とする半導体装置。
続きを表示(約 1,100 文字)
【請求項2】
前記基板の前記下面は、前記素子分離膜の下面と共面(coplanar)をなすことを特徴とする請求項1に記載の半導体装置。
【請求項3】
前記積層パターンは、互いに交互に積層される活性層及び犠牲層を含むことを特徴とする請求項1に記載の半導体装置。
【請求項4】
前記第1貫通ビアの両側に分離構造体をさらに有し、
前記分離構造体の各々は、前記活性パターンを横切ることを特徴とする請求項1に記載の半導体装置。
【請求項5】
前記第1貫通ビア及び前記第2貫通ビアは、互いに接して界面を形成し、
前記界面は、前記基板の上面と前記下面との間に位置することを特徴とする請求項1に記載の半導体装置。
【請求項6】
前記第1貫通ビアは、第1金属パターンと、前記第1金属パターンの側面上に配置される第1バリアーパターンと、を含み、
前記第2貫通ビアは、第2金属パターンと、前記第2金属パターンの側面上に配置される第2バリアーパターンと、を含むことを特徴とする請求項1に記載の半導体装置。
【請求項7】
前記第1バリアーパターンは、前記第1金属パターンの下面上に延長され、
前記第2バリアーパターンは、前記第2金属パターンの上面上に延長され、
前記第1バリアーパターンと前記第2バリアーパターンは、互いに接することを特徴とする請求項6に記載の半導体装置。
【請求項8】
前記第1金属パターン及び前記第2金属パターンは、互いに異なる金属物質を含むことを特徴とする請求項6に記載の半導体装置。
【請求項9】
前記第2バリアーパターンは、前記第2金属パターンの上面上に延長され、
前記第2バリアーパターンは、前記第1金属パターンと接することを特徴とする請求項6に記載の半導体装置。
【請求項10】
ロジックセルと、前記ロジックセルと隣接するタップセルと、を含む基板と、
前記基板の上に配置される複数の金属配線と、
ここで、前記金属配線は、第1方向に互いに離隔され、前記金属配線の各々は、第2方向に延長され、
前記基板の下面上に配置されるパワー伝送ネットワーク層と、を有し、
前記タップセルは、前記金属配線の中の一部と前記パワー伝送ネットワーク層とを接続する貫通ビアを含み、
前記貫通ビアは、互いに接する第1貫通ビア及び第2貫通ビアを含み、
前記第2貫通ビアは、前記基板の少なくとも一部を貫通し、
前記第1貫通ビアと前記第2貫通ビアとの間の界面は、前記基板の前記下面よりも前記基板の上面に近いことを特徴とする半導体装置。
発明の詳細な説明
【技術分野】
【0001】
本発明は、半導体装置に関し、特に、電界効果トランジスタを含む半導体装置に関する。
続きを表示(約 3,200 文字)
【背景技術】
【0002】
半導体装置は、MOS電界効果トランジスタ(MOS(Metal Oxide Semiconductor) FET)で構成された集積回路を含む。
半導体装置のサイズ及びデザインルール(Design rule)がだんだん縮小されることにつれ、MOS電界効果トランジスタのサイズ縮小(scale down)もますます加速化されている。
【0003】
MOS電界効果トランジスタのサイズ縮小に応じて、半導体装置の動作特性が低下する可能性がある。
したがって、半導体装置の高集積化に応じる限界を克服しながら、より優れた性能を有する半導体装置及びその形成のための様々な方法が研究されている。
【先行技術文献】
【特許文献】
【0004】
米国特許第11,728,347号明細書
【発明の概要】
【発明が解決しようとする課題】
【0005】
本発明は上記従来の半導体装置における課題に鑑みてなされたものであって、本発明の目的は、電気的特性及び信頼性が向上された半導体装置を提供することにある。
また、本発明の他の目的は、電気的特性及び信頼性が向上された半導体装置の製造方法を提供することにある。
【課題を解決するための手段】
【0006】
上記目的を達成するためになされた本発明による半導体装置は、複数の活性パターンを含む基板と、前記活性パターン間に配置される素子分離膜と、前記基板の上に配置される積層パターンと、前記基板の下面上に配置されるパワー伝送ネットワーク層と、前記積層パターンを貫通する第1貫通ビアと、前記パワー伝送ネットワーク層と前記第1貫通ビアとの間に配置される第2貫通ビアと、を有し、前記第2貫通ビアは、前記活性パターン及び前記素子分離膜を貫通することを特徴とする。
【0007】
また、上記目的を達成するためになされた本発明による半導体装置は、ロジックセルと、前記ロジックセルと隣接するタップセルと、を含む基板と、前記基板の上に配置される複数の金属配線と、ここで、前記金属配線は、第1方向に互いに離隔され、前記金属配線の各々は、第2方向に延長され、前記基板の下面上に配置されるパワー伝送ネットワーク層と、を有し、前記タップセルは、前記金属配線の中の一部と前記パワー伝送ネットワーク層とを接続する貫通ビアを含み、前記貫通ビアは、互いに接する第1貫通ビア及び第2貫通ビアを含み、前記第2貫通ビアは、前記基板の少なくとも一部を貫通し、前記第1貫通ビアと前記第2貫通ビアとの間の界面は、前記基板の前記下面よりも前記基板の上面に近いことを特徴とする。
【0008】
また、本発明の実施形態による半導体装置は、基板上に2次元的に配列されるロジックセル及びタップセルと、前記基板の上の金属配線及びパワー配線と、前記基板の下面上のパワー伝送ネットワーク層と、を有し、前記ロジックセルの各々は、活性パターン上のチャンネルパターンと、前記活性パターンの間の素子分離膜と、前記チャンネルパターンの間のソース/ドレーンパターンと、前記チャンネルパターン上のゲート電極と、を含み、前記タップセルの各々は、前記金属配線と前記パワー伝送ネットワーク層を接続する貫通ビアを含み、前記素子分離膜の下面は、前記活性パターンの下面と同一平面上に位置する。
【発明の効果】
【0009】
本発明に係る半導体装置によれば、半導体装置の基板は平坦化工程で活性パターンを除いた残りの部分が除去されることができる。
これによって、基板の厚さが薄くなることができる。
また、貫通ビアの第1貫通ビア及び第2貫通ビアは、互いに異なる工程を通じて個別的に形成され、互いに類似な高さで形成することができる。
これによって、貫通ビアが隣接するビアと誤整列(misalignment)されることを防止し、縦横比が大きい貫通ビア内に金属物質がボイド(void)なしで容易に形成することができる。
したがって、半導体装置が小型化され、半導体装置の電気的特性及び信頼性を向上させることができる。
【図面の簡単な説明】
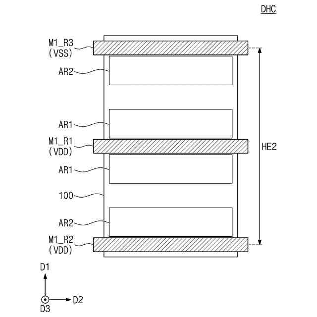
【0010】
本発明の実施形態による半導体装置の概略構成を説明するための図である。
本発明の実施形態による半導体装置の概略構成を説明するための図である。
本発明の実施形態による半導体装置の概略構成を説明するための図である。
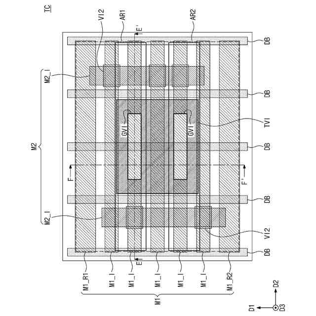
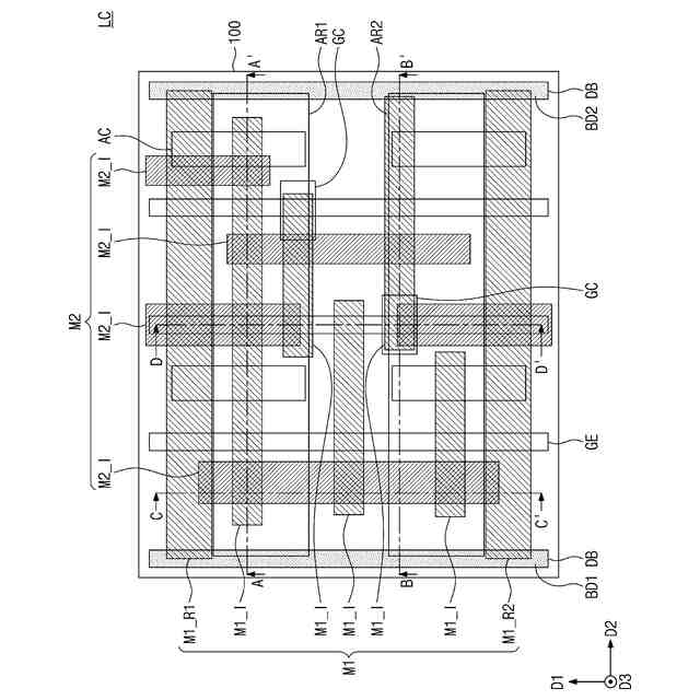
本発明の実施形態による半導体装置の概略構成を説明するための平面図である。
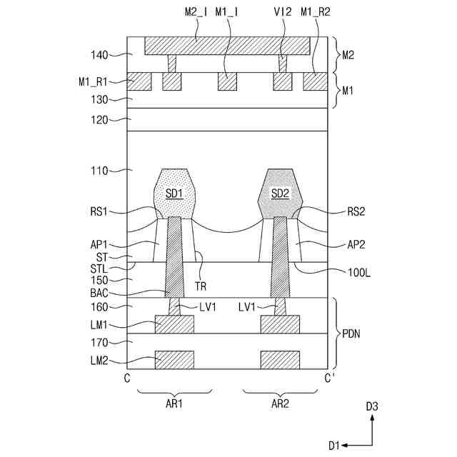
図4のA-A’線に沿って切断した断面図である。
図4のB-B’線に沿って切断した断面図である。
図4のC-C’線に沿って切断した断面図である。
図4のD-D’線に沿って切断した断面図である。
本発明の実施形態による半導体装置の概略構成を説明するための平面図である。
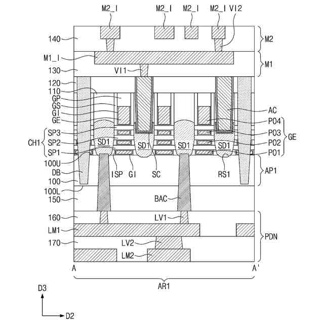
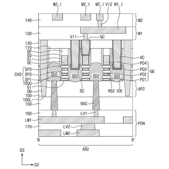
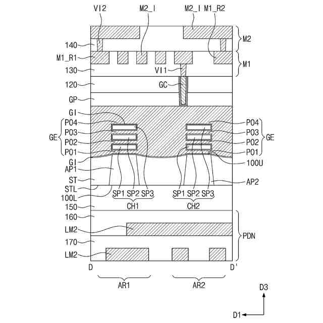
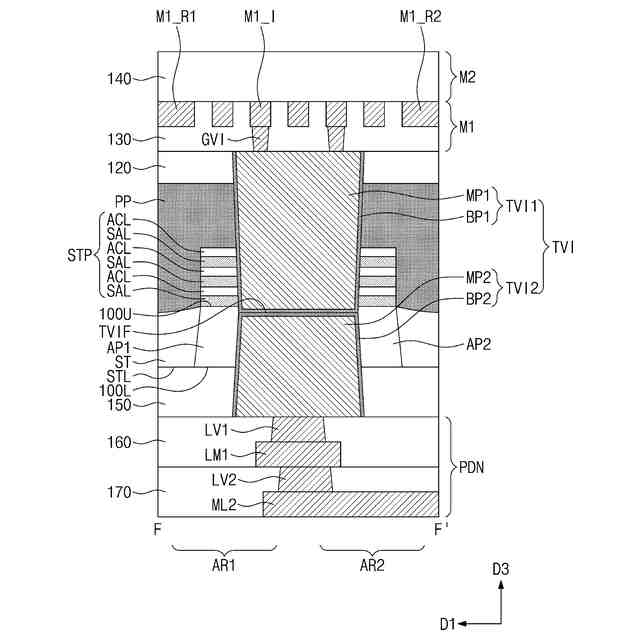
本発明の実施形態による半導体装置を説明するための断面図であって、図6のE-E’線に沿って切断した断面図である。
本発明の実施形態による半導体装置を説明するための断面図であって、図6のF-F’線に沿って切断した断面図である。
本発明の実施形態による半導体装置を説明するための断面図であって、図6のE-E’線に沿って切断した断面図である。
本発明の実施形態による半導体装置を説明するための断面図であって、図6のF-F’線に沿って切断した断面図である。
本発明の実施形態による半導体装置を説明するための断面図であって、図6のE-E’線に沿って切断した断面図である。
本発明の実施形態による半導体装置を説明するための断面図であって、図6のF-F’線に沿って切断した断面図である。
本発明の実施形態による半導体装置のタップセルの配置関係を示す平面図である。
本発明の実施形態による半導体装置のタップセルの配置関係を示す平面図である。
本発明の実施形態による半導体装置の製造方法を説明するための図であって、図6のE-E’線に沿って切断した断面図である。
本発明の実施形態による半導体装置の製造方法を説明するための図であって、図6のF-F’線に沿って切断した断面図である。
本発明の実施形態による半導体装置の製造方法を説明するための図であって、図6のE-E’線に沿って切断した断面図である。
本発明の実施形態による半導体装置の製造方法を説明するための図であって、図6のF-F’線に沿って切断した断面図である。
本発明の実施形態による半導体装置の製造方法を説明するための図であって、図6のE-E’線に沿って切断した断面図である。
本発明の実施形態による半導体装置の製造方法を説明するための図であって、図6のF-F’線に沿って切断した断面図である。
本発明の実施形態による半導体装置の製造方法を説明するための図であって、図6のE-E’線に沿って切断した断面図である。
本発明の実施形態による半導体装置の製造方法を説明するための図であって、図6のF-F’線に沿って切断した断面図である。
本発明の実施形態による半導体装置の製造方法を説明するための図であって、図6のE-E’線に沿って切断した断面図である。
本発明の実施形態による半導体装置の製造方法を説明するための図であって、図6のF-F’線に沿って切断した断面図である。
【発明を実施するための形態】
(【0011】以降は省略されています)
この特許をJ-PlatPat(特許庁公式サイト)で参照する
関連特許
三星電子株式会社
冷蔵庫
1か月前
三星電子株式会社
冷蔵庫
1か月前
三星電子株式会社
半導体装置
4日前
三星電子株式会社
半導体装置
26日前
三星電子株式会社
半導体装置
12日前
三星電子株式会社
半導体装置
1か月前
三星電子株式会社
固体撮像装置
1か月前
三星電子株式会社
イメージセンサ
25日前
三星電子株式会社
モータ駆動装置
1か月前
三星電子株式会社
イメージセンサ
3日前
三星電子株式会社
半導体パッケージ
25日前
三星電子株式会社
半導体パッケージ
4日前
三星電子株式会社
イメージセンサー
11日前
三星電子株式会社
半導体パッケージ
17日前
三星電子株式会社
半導体パッケージ
24日前
三星電子株式会社
イメージセンサー
1か月前
三星電子株式会社
集積回路パッケージ
1か月前
三星電子株式会社
集積回路装置の製造方法
19日前
三星電子株式会社
トランスフォーマー加速装置
12日前
三星電子株式会社
半導体装置およびその製造方法
4日前
三星電子株式会社
イメージセンサ及びその動作方法
1か月前
三星電子株式会社
スペーサを含む半導体パッケージ
3日前
三星電子株式会社
イメージセンサ及びその動作方法
25日前
三星電子株式会社
半導体パッケージ及びその製造方法
11日前
三星電子株式会社
車両の走行を制御する方法と装置及び車両
3日前
三星電子株式会社
半導体装置及びこれを含むデータ記憶システム
1か月前
三星電子株式会社
半導体装置及びこれを含むデータ記憶システム
3日前
三星電子株式会社
オンチップ偏光ルーティングのシステム及び方法
4日前
三星電子株式会社
イメージセンサー及びイメージセンサーの駆動方法
4日前
三星電子株式会社
レジスト組成物及びそれを用いたパターン形成方法
11日前
三星電子株式会社
イメージセンサー及びその動作方法並びに電子装置
11日前
三星電子株式会社
半導体パッケージング用フィルム及びその製造方法
24日前
三星電子株式会社
レジスト組成物及びそれを用いたパターン形成方法
24日前
三星電子株式会社
プラズマエッチング工程を含む半導体素子の製造方法
1か月前
三星電子株式会社
後面構造物を含む半導体チップを含む半導体パッケージ
1か月前
三星電子株式会社
ポリマー、それを含むレジスト組成物、及びそれを用いたパターン形成方法
25日前
続きを見る
他の特許を見る