TOP
|
特許
|
意匠
|
商標
特許ウォッチ
Twitter
他の特許を見る
10個以上の画像は省略されています。
公開番号
2025166820
公報種別
公開特許公報(A)
公開日
2025-11-06
出願番号
2025071900
出願日
2025-04-23
発明の名称
イメージセンサ及びその動作方法
出願人
三星電子株式会社
,
Samsung Electronics Co.,Ltd.
代理人
弁理士法人共生国際特許事務所
主分類
H04N
23/65 20230101AFI20251029BHJP(電気通信技術)
要約
【課題】電力を減少させクロック供給の遅延を最小化するイメージセンサ及びその動作方法を提供する。
【解決手段】複数のクロックコンシューマ(CC)と複数のブロッククロック管理ユニット(BCMU)、及びトップクロック管理ユニット(TCMU)を含み、各BCMUがCCの内の少なくとも1つのCCから受信された第1クロック要請信号に対応して第2クロック要請信号をTCMUに伝送し、TCMUは各第2クロック要請信号に対応する各クロック応答信号を伝送し、TCMUは第2クロック要請信号及びクロック応答信号の送受信に形成されたチャネルを介して第2クロック信号を各BCMUに伝送し、チャネルを介して第2クロック信号が伝送される間に、各BCMUはCCの内の第1クロック要請信号を伝送したCCに第1クロック要請信号に対応する第1クロック信号を第2クロック信号に基づいて伝送する。
【選択図】図1
特許請求の範囲
【請求項1】
複数のセンシングピクセルを含むピクセルアレイと、
前記ピクセルアレイから受信した電気的信号をイメージデータに変換するリードアウト回路と、
前記リードアウト回路から出力されたイメージデータをイメージ処理するイメージ信号プロセッサと、を有し、
前記イメージ信号プロセッサは、
第1クロック要請信号を生成し、前記第1クロック要請信号に対応する第1クロック信号を受信するクロックコンシューマと、
前記クロックコンシューマから前記第1クロック要請信号を受信し、前記第1クロック要請信号に対応する第2クロック要請信号を生成し、前記第2クロック要請信号に対応するクロック応答信号及び第2クロック信号を受信するブロッククロック管理ユニットと、
前記ブロッククロック管理ユニットから前記第2クロック要請信号を受信し、前記第2クロック要請信号に対応する前記クロック応答信号及び前記第2クロック信号を生成し、前記クロック応答信号及び前記第2クロック信号を前記ブロッククロック管理ユニットに伝送するトップクロック管理ユニットと、を含み、
前記ブロッククロック管理ユニットは、前記第2クロック信号に基づき、前記第1クロック要請信号に対応する前記第1クロック信号を生成し、前記第1クロック信号を前記クロックコンシューマに伝送することを特徴とするイメージセンサ。
続きを表示(約 2,600 文字)
【請求項2】
前記クロックコンシューマにイメージフレームの垂直ブランク区間の終了時点を示す開始信号を伝送するアナログ制御ロジックをさらに有し、
前記クロックコンシューマは、前記開始信号に対応して前記第1クロック要請信号を生成することを特徴とする請求項1に記載のイメージセンサ。
【請求項3】
前記クロックコンシューマにイメージフレームの垂直ブランク区間の終了時点を示す開始信号を伝送するアナログ制御ロジックと、
前記クロックコンシューマに前記クロックコンシューマの動作の活性化を制御するイネーブル信号を生成するイネーブルレジスタと、をさらに有し、
前記クロックコンシューマは、
前記イネーブル信号が活性化信号であれば、前記開始信号に対応して前記第1クロック要請信号を生成し、
前記イネーブル信号が非活性化信号であれば、前記開始信号に対応しないことを特徴とする請求項1に記載のイメージセンサ。
【請求項4】
前記ブロッククロック管理ユニットは、前記第1クロック要請信号の受信開始時点から前記第1クロック要請信号の受信中断時点後、マージン値が経過した時点まで、前記第1クロック要請信号に対応する前記第1クロック信号を伝送することを特徴とする請求項1に記載のイメージセンサ。
【請求項5】
それぞれが、第1クロック要請信号を生成し、前記第1クロック要請信号に対応する第1クロック信号を受信する複数のクロックコンシューマと、
前記複数のクロックコンシューマそれぞれから前記第1クロック要請信号を受信し、前記第1クロック要請信号に対応する第2クロック要請信号を生成し、前記第2クロック要請信号に対応するクロック応答信号及び第2クロック信号を受信するブロッククロック管理ユニットと、
前記ブロッククロック管理ユニットから前記第2クロック要請信号を受信し、前記第2クロック要請信号に対応する前記クロック応答信号及び前記第2クロック信号を生成し、前記クロック応答信号及び前記第2クロック信号を前記ブロッククロック管理ユニットに伝送するトップクロック管理ユニットと、を有し、
前記ブロッククロック管理ユニットは、前記第2クロック信号に基づき、前記第1クロック要請信号に対応する前記第1クロック信号を生成し、前記第1クロック信号を前記複数のクロックコンシューマそれぞれに伝送し、
前記ブロッククロック管理ユニットは、
前記複数のクロックコンシューマの内の1つのクロックコンシューマから前記第1クロック要請信号を受信すれば、前記第2クロック要請信号を生成し、
前記複数のクロックコンシューマ全部が前記第1クロック要請信号の伝送を中断すれば、前記第2クロック要請信号の生成を中断することを特徴とするイメージセンサ。
【請求項6】
前記複数のクロックコンシューマは、第1クロックコンシューマ及び第2クロックコンシューマを含み、
前記第1クロックコンシューマが前記第1クロック要請信号の生成を中断する時点と前記第2クロックコンシューマが前記第1クロック要請信号の生成を中断する時点とは互いに異なることを特徴とする請求項5に記載のイメージセンサ。
【請求項7】
前記複数のクロックコンシューマは、第1クロックコンシューマ及び第2クロックコンシューマを含み、
前記第1クロックコンシューマにイメージフレームの垂直ブランク区間の終了時点を示す開始信号を伝送するアナログ制御ロジックと、
前記第2クロックコンシューマの動作の活性化を制御するレジスタと、をさらに有し、
前記第1クロックコンシューマは、前記開始信号に対応して前記第1クロック要請信号を生成し、
前記第2クロックコンシューマの前記第1クロック要請信号は、前記レジスタによって生成されることを特徴とする請求項5に記載のイメージセンサ。
【請求項8】
前記第1クロックコンシューマが前記第1クロック要請信号を生成する時点と前記レジスタが前記第1クロック要請信号を生成する時点とは互いに異なることを特徴とする請求項7に記載のイメージセンサ。
【請求項9】
前記ブロッククロック管理ユニットは、前記第1クロック要請信号の受信開始時点から前記第1クロック要請信号の受信中断時点後、マージン値が経過した時点まで、前記第1クロック要請信号に対応する前記第1クロック信号を伝送し、
前記複数のクロックコンシューマは、第1クロックコンシューマ及び第2クロックコンシューマを含み、
前記第1クロックコンシューマの第1マージン値と前記第2クロックコンシューマの第2マージン値とは互いに異なることを特徴とする請求項5に記載のイメージセンサ。
【請求項10】
クロックコンシューマ、ブロッククロック管理ユニット、及びトップクロック管理ユニットを含むイメージセンサの動作方法であって、
前記クロックコンシューマによって、第1クロック要請信号を生成する段階と、
前記クロックコンシューマによって、前記第1クロック要請信号を前記ブロッククロック管理ユニットに伝送する段階と、
前記ブロッククロック管理ユニットによって、前記第1クロック要請信号に対応する第2クロック要請信号を生成し、前記第2クロック要請信号を前記トップクロック管理ユニットに伝送する段階と、
前記トップクロック管理ユニットによって、前記第2クロック要請信号に対応するクロック応答信号及び第2クロック信号を生成し、前記クロック応答信号及び前記第2クロック信号を前記ブロッククロック管理ユニットに伝送する段階と、
前記ブロッククロック管理ユニットによって、前記第2クロック信号に基づき、前記第1クロック要請信号に対応する第1クロック信号を前記クロックコンシューマに伝送する段階と、
前記クロックコンシューマによる前記第1クロック要請信号の伝送が中断されれば、前記ブロッククロック管理ユニットによって、前記クロックコンシューマに対する前記第1クロック信号の伝送を中断する段階と、を有することを特徴とするイメージセンサの動作方法。
発明の詳細な説明
【技術分野】
【0001】
本発明は、イメージ処理に関し、特に、クロック管理ユニットを介してイメージ処理に必要なクロックを提供するイメージセンサ及びその動作方法に関する。
続きを表示(約 3,500 文字)
【背景技術】
【0002】
近年、イメージセンサの性能が向上しつつ、スマートフォン(smart phone)とデジタルカメラ(digital camera)などの携帯用機器(portable device)以外の多様な家電製品にもイメージセンサが広く使用されている。
電力消費を最大限減らせねばならないモバイル(mobile)装置分野で、イメージセンサの電力消費を減らすための研究が活発に進められている。
【0003】
イメージセンサから提供されるイメージデータは、フレーム単位で構成され、フレームの開始を示す信号が存在する。
また、現在フレームの最後のイメージデータを処理した後、次のフレームの最初イメージデータを処理するまでの期間の間、いかなるイメージデータも入力されないということが保証され得る。
【0004】
そのようなイメージセンサの特徴を用いて、電力消費を減少させつつ、イメージセンサに適した方式でクロックを制御する必要があり、課題となっている。
【発明の概要】
【発明が解決しようとする課題】
【0005】
本発明は上記従来のイメージセンサにおける課題に鑑みてなされたものであって、本発明の目的は、イメージセンサにクロックを供給するに当たり、電力を減少させ、クロック供給の遅延を最小化するイメージセンサ及びその動作方法を提供することにある。
【課題を解決するための手段】
【0006】
上記目的を達成するためになされた本発明によるイメージセンサは、複数のセンシングピクセルを含むピクセルアレイと、前記ピクセルアレイから受信した電気的信号をイメージデータに変換するリードアウト回路と、前記リードアウト回路から出力されたイメージデータをイメージ処理するイメージ信号プロセッサと、を有し、前記イメージ信号プロセッサは、第1クロック要請信号を生成し、前記第1クロック要請信号に対応する第1クロック信号を受信するクロックコンシューマと、前記クロックコンシューマから前記第1クロック要請信号を受信し、前記第1クロック要請信号に対応する第2クロック要請信号を生成し、前記第2クロック要請信号に対応するクロック応答信号及び第2クロック信号を受信するブロッククロック管理ユニットと、前記ブロッククロック管理ユニットから前記第2クロック要請信号を受信し、前記第2クロック要請信号に対応する前記クロック応答信号及び前記第2クロック信号を生成し、前記クロック応答信号及び前記第2クロック信号を前記ブロッククロック管理ユニットに伝送するトップクロック管理ユニットと、を含み、前記ブロッククロック管理ユニットは、前記第2クロック信号に基づき、前記第1クロック要請信号に対応する前記第1クロック信号を生成し、前記第1クロック信号を前記クロックコンシューマに伝送することを特徴とする。
【0007】
本発明の実施形態によるイメージセンサは、それぞれが、第1クロック要請信号を生成し、前記第1クロック要請信号に対応する第1クロック信号を受信する複数のクロックコンシューマと、前記複数のクロックコンシューマそれぞれから前記第1クロック要請信号を受信し、前記第1クロック要請信号に対応する第2クロック要請信号を生成し、前記第2クロック要請信号に対応するクロック応答信号及び第2クロック信号を受信するブロッククロック管理ユニットと、前記ブロッククロック管理ユニットから前記第2クロック要請信号を受信し、前記第2クロック要請信号に対応する前記クロック応答信号及び前記第2クロック信号を生成し、前記クロック応答信号及び前記第2クロック信号を前記ブロッククロック管理ユニットに伝送するトップクロック管理ユニットと、を有し、前記ブロッククロック管理ユニットは、前記第2クロック信号に基づき、前記第1クロック要請信号に対応する前記第1クロック信号を生成し、前記第1クロック信号を前記複数のクロックコンシューマそれぞれに伝送し、前記ブロッククロック管理ユニットは、前記複数のクロックコンシューマの内の1つのクロックコンシューマから前記第1クロック要請信号を受信すれば、前記第2クロック要請信号を生成し、前記複数のクロックコンシューマ全部が前記第1クロック要請信号の伝送を中断すれば、前記第2クロック要請信号の生成を中断することができる。
【0008】
上記目的を達成するためになされた本発明によるイメージセンサの動作方法は、クロックコンシューマ、ブロッククロック管理ユニット、及びトップクロック管理ユニットを含むイメージセンサの動作方法であって、前記クロックコンシューマによって、第1クロック要請信号を生成する段階と、前記クロックコンシューマによって、前記第1クロック要請信号を前記ブロッククロック管理ユニットに伝送する段階と、前記ブロッククロック管理ユニットによって、前記第1クロック要請信号に対応する第2クロック要請信号を生成し、前記第2クロック要請信号を前記トップクロック管理ユニットに伝送する段階と、前記トップクロック管理ユニットによって、前記第2クロック要請信号に対応するクロック応答信号及び第2クロック信号を生成し、前記クロック応答信号及び前記第2クロック信号を前記ブロッククロック管理ユニットに伝送する段階と、前記ブロッククロック管理ユニットによって、前記第2クロック信号に基づき、前記第1クロック要請信号に対応する第1クロック信号を前記クロックコンシューマに伝送する段階と、前記クロックコンシューマによる前記第1クロック要請信号の伝送が中断されれば、前記ブロッククロック管理ユニットによって、前記クロックコンシューマに対する前記第1クロック信号の伝送を中断する段階と、を有することを特徴とする。
【発明の効果】
【0009】
本発明に係るイメージセンサ及びその動作方法によれば、イメージセンサに含まれた複数のクロックコンシューマそれぞれに対して、イメージ処理実行が必要な期間にのみクロックを供給することができるので、不要なクロック供給による電力を減少させることができる。
また、イメージセンサに含まれた複数のクロックコンシューマに対して、クロック供給の遅延を最小化することができるので、イメージセンサに適したクロック制御を実行することができる。
【図面の簡単な説明】
【0010】
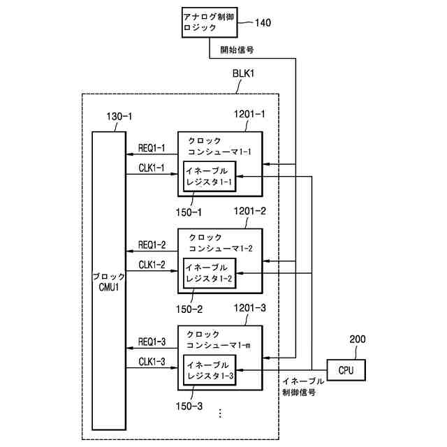
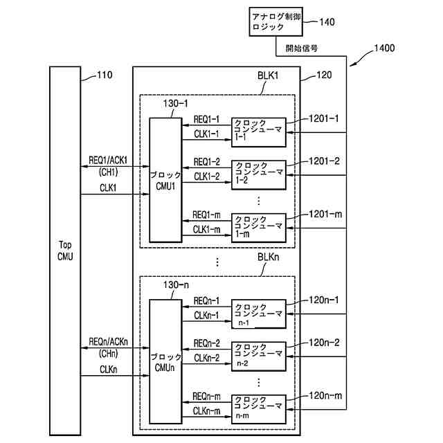
本発明の実施形態によるイメージセンサの概略構成を示すブロック図である。
本発明の実施形態によるイメージ信号プロセッサの概略構成を示すブロック図である。
本発明の実施形態によるイメージ信号プロセッサの概略構成を示すブロック図である。
本発明の実施形態によるイメージ信号プロセッサのブロックの動作を説明するためのブロック図である。
本発明の実施形態によるイメージ信号プロセッサのブロックの動作での送受信信号のタイミング図である。
本発明の実施形態によるイメージ信号プロセッサのブロックの動作での送受信信号のタイミング図である。
本発明の実施形態によるイメージ信号プロセッサのブロックの動作を説明するためのブロック図である。
本発明の実施形態によるイメージ信号プロセッサのブロックの動作での信号のタイミング図である。
本発明の実施形態によるイメージ信号プロセッサのブロックの動作での信号のタイミング図である。
本発明の実施形態によるイメージ信号プロセッサのブロックの動作を説明するためのブロック図である。
本発明の実施形態によるイメージ信号プロセッサのブロックの動作での信号のタイミング図である。
本発明の実施形態によるイメージ信号プロセッサのブロックの動作での信号のタイミング図である。
本発明の実施形態によるイメージ信号プロセッサのブロックの動作を説明するためのブロック図である。
本発明の実施形態によるイメージ信号プロセッサのブロックの動作での信号のタイミング図である。
本発明の実施形態によるイメージセンサの動作方法を説明するためのフローチャートである。
本発明の実施形態によるイメージ処理装置の概略構成を示すブロック図である。
【発明を実施するための形態】
(【0011】以降は省略されています)
この特許をJ-PlatPat(特許庁公式サイト)で参照する
関連特許
三星電子株式会社
冷蔵庫
1か月前
三星電子株式会社
半導体装置
26日前
三星電子株式会社
半導体装置
4日前
三星電子株式会社
半導体装置
12日前
三星電子株式会社
イメージセンサ
3日前
三星電子株式会社
イメージセンサ
25日前
三星電子株式会社
半導体パッケージ
17日前
三星電子株式会社
半導体パッケージ
4日前
三星電子株式会社
半導体パッケージ
25日前
三星電子株式会社
イメージセンサー
11日前
三星電子株式会社
半導体パッケージ
24日前
三星電子株式会社
集積回路装置の製造方法
19日前
三星電子株式会社
トランスフォーマー加速装置
12日前
三星電子株式会社
半導体装置およびその製造方法
4日前
三星電子株式会社
イメージセンサ及びその動作方法
1か月前
三星電子株式会社
イメージセンサ及びその動作方法
25日前
三星電子株式会社
スペーサを含む半導体パッケージ
3日前
三星電子株式会社
半導体パッケージ及びその製造方法
11日前
三星電子株式会社
車両の走行を制御する方法と装置及び車両
3日前
三星電子株式会社
半導体装置及びこれを含むデータ記憶システム
3日前
三星電子株式会社
半導体装置及びこれを含むデータ記憶システム
1か月前
三星電子株式会社
オンチップ偏光ルーティングのシステム及び方法
4日前
三星電子株式会社
半導体パッケージング用フィルム及びその製造方法
24日前
三星電子株式会社
レジスト組成物及びそれを用いたパターン形成方法
24日前
三星電子株式会社
イメージセンサー及びその動作方法並びに電子装置
11日前
三星電子株式会社
レジスト組成物及びそれを用いたパターン形成方法
11日前
三星電子株式会社
イメージセンサー及びイメージセンサーの駆動方法
4日前
三星電子株式会社
プラズマエッチング工程を含む半導体素子の製造方法
1か月前
三星電子株式会社
後面構造物を含む半導体チップを含む半導体パッケージ
1か月前
三星電子株式会社
ポリマー、それを含むレジスト組成物、及びそれを用いたパターン形成方法
25日前
三星電子株式会社
アンダーフィルフィルム及びアンダーフィルフィルムを含む半導体パッケージ
24日前
三星電子株式会社
半導体装置及びその製造方法
1か月前
三星電子株式会社
アイドルまたは非アクティブのユーザ機器に対するオンデマンドシステム情報の早期通知および設定のためのシステムおよび方法
11日前
個人
イヤーピース
24日前
個人
イヤーマフ
1か月前
個人
監視カメラシステム
1か月前
続きを見る
他の特許を見る