TOP
|
特許
|
意匠
|
商標
特許ウォッチ
Twitter
他の特許を見る
10個以上の画像は省略されています。
公開番号
2025165864
公報種別
公開特許公報(A)
公開日
2025-11-05
出願番号
2025038314
出願日
2025-03-11
発明の名称
半導体装置
出願人
三星電子株式会社
,
Samsung Electronics Co.,Ltd.
代理人
弁理士法人共生国際特許事務所
主分類
H10D
30/67 20250101AFI20251028BHJP()
要約
【課題】異なる閾値電圧を有するトランジスタの閾値電圧を最適化する半導体装置を提供する。
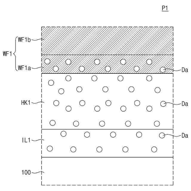
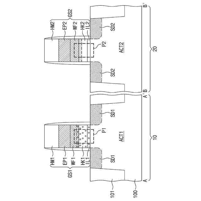
【解決手段】半導体装置は、第1領域10及び第2領域20を含む半導体基板100と、第1領域の半導体基板上に配置される第1ゲート構造体GS1と、第2領域の半導体基板上に配置される第2ゲート構造体GS2と、を備え、第1ゲート構造体は、第1金属パターンWF1、第1高誘電パターンHK1及び第1金属パターンの第1下部部分である第1仕事関数層を含み、第2ゲート構造体は、第2金属パターンWF2、第2高誘電パターンHK2及び第2高誘電パターンの第2上部部分である第2仕事関数層を含み、第1仕事関数層は、第1金属パターン内の第1金属元素及び第1高誘電パターン内のダイポール物質を含み、第2仕事関数層及び第2高誘電パターンは、金属酸化物を含み、第2仕事関数層内の酸素含量が第2高誘電パターン内の酸素含量よりも大きい。
【選択図】図2
特許請求の範囲
【請求項1】
第1領域及び第2領域を含む半導体基板と、
前記第1領域の前記半導体基板上に配置される第1ゲート構造体と、
前記第2領域の前記半導体基板上に配置される第2ゲート構造体と、を備え、
前記第1ゲート構造体は、第1金属パターン、前記半導体基板と前記第1金属パターンとの間の第1高誘電パターン、及び前記第1高誘電パターンと前記第1金属パターンとの間の第1仕事関数層を含み、
前記第2ゲート構造体は、第2金属パターン、前記半導体基板と前記第2金属パターンとの間の第2高誘電パターン、及び前記第2高誘電パターンと前記第2金属パターンとの間の第2仕事関数層を含み、
前記第1仕事関数層は、前記第1金属パターン内の第1金属元素及び前記第1高誘電パターン内のダイポール物質を含み、
前記第2仕事関数層及び前記第2高誘電パターンは、金属酸化物を含み、前記第2仕事関数層内の酸素含量が前記第2高誘電パターン内の酸素含量よりも大きいことを特徴とする半導体装置。
続きを表示(約 830 文字)
【請求項2】
前記第1仕事関数層及び前記第2仕事関数層は、前記半導体基板の上面から互いに異なる距離に位置することを特徴とする請求項1に記載の半導体装置。
【請求項3】
前記第2高誘電パターン及び前記第2仕事関数層は、前記第1高誘電パターン内の前記ダイポール物質を含まないことを特徴とする請求項1に記載の半導体装置。
【請求項4】
前記第1高誘電パターン内の前記ダイポール物質は、ランタン(lanthanum)系列の物質を含むことを特徴とする請求項1に記載の半導体装置。
【請求項5】
前記第1高誘電パターン及び前記第2高誘電パターンは、第2金属元素、シリコン(Si)、及び酸素(O)を含むことを特徴とする請求項1に記載の半導体装置。
【請求項6】
前記第1高誘電パターンは、前記第2高誘電パターンと同一の厚さを有することを特徴とする請求項1に記載の半導体装置。
【請求項7】
前記第1金属パターン及び前記第2金属パターンは、同一の仕事関数を有する金属物質を含むことを特徴とする請求項1に記載の半導体装置。
【請求項8】
前記第1金属パターンは、前記第2金属パターンと同一の厚さを有することを特徴とする請求項7に記載の半導体装置。
【請求項9】
前記第2仕事関数層は、前記第1金属元素を含むことを特徴とする請求項1に記載の半導体装置。
【請求項10】
前記第1ゲート構造体は、前記半導体基板と前記第1高誘電パターンとの間の第1界面パターンを更に含み、
前記第2ゲート構造体は、前記半導体基板と前記第2高誘電パターンとの間の第2界面パターンを更に含み、
前記第1界面パターン及び第2界面パターンは、同一の誘電体物質を含むことを特徴とする請求項1に記載の半導体装置。
(【請求項11】以降は省略されています)
発明の詳細な説明
【技術分野】
【0001】
本発明は、半導体装置に関し、より詳細には、異なる閾値電圧を有するトランジスタを含む半導体装置に関する。
続きを表示(約 2,700 文字)
【背景技術】
【0002】
半導体装置はMOS電界効果トランジスタ(MOS(Metal Oxide Semiconductor)FET)で構成された集積回路を含む。このような半導体装置は高集積化するにつれてMOS電界効果トランジスタのサイズの縮小(scale down)もますます加速化しており、これによって半導体装置の動作特性が低下する。したがって、半導体装置の高集積化に伴う限界を克服しながら、より優れた性能の半導体装置を形成するための様々な方法が研究されている。
【先行技術文献】
【特許文献】
【0003】
米国特許第11430651号明細書
【発明の概要】
【発明が解決しようとする課題】
【0004】
本発明は、上記従来技術に鑑みてなされたものであって、本発明の目的は、電気的特性を向上させた半導体装置を提供することにある。
【課題を解決するための手段】
【0005】
上記目的を達成するためになされた本発明の一態による半導体装置は、第1領域及び第2領域を含む半導体基板と、前記第1領域の前記半導体基板上に配置される第1ゲート構造体と、前記第2領域の前記半導体基板上に配置される第2ゲート構造体と、を備え、前記第1ゲート構造体は、第1金属パターン、前記半導体基板と前記第1金属パターンとの間の第1高誘電パターン、及び前記第1高誘電パターンと前記第1金属パターンとの間の第1仕事関数層を含み、前記第2ゲート構造体は、第2金属パターン、前記半導体基板と前記第2金属パターンとの間の第2高誘電パターン、及び前記第2高誘電パターンと前記第2金属パターンとの間の第2仕事関数層を含み、前記第1仕事関数層は、前記第1金属パターン内の第1金属元素及び前記第1高誘電パターン内のダイポール物質を含み、前記第2仕事関数層及び前記第2高誘電パターンは、金属酸化物を含み、前記第2仕事関数層内の酸素含量が前記第2高誘電パターン内の酸素含量よりも大きい。
【0006】
上記目的を達成するためになされた本発明の他の態による半導体装置は、第1領域及び第2領域を含む半導体基板と、前記第1領域の前記半導体基板上に配置される第1ゲート構造体と、前記第2領域の前記半導体基板上に配置される第2ゲート構造体と、を備え、前記第1ゲート構造体は、第1ゲート電極、前記第1ゲート電極と前記半導体基板との間の第1界面パターン、前記第1界面パターンと前記第1ゲート電極との間の第1高誘電パターン、及び前記第1高誘電パターンと前記第1ゲート電極との間の第1金属パターンを含み、前記第2ゲート構造体は、第2ゲート電極、前記第2ゲート電極と前記半導体基板との間の第2界面パターン、前記第2界面パターンと前記第2ゲート電極との間の第2高誘電パターン、及び前記第2高誘電パターンと前記第2ゲート電極との間の第2金属パターンを含み、前記第1金属パターン及び第2金属パターンは、同一の仕事関数を有する金属物質を含み、前記第1金属パターンは、前記第1高誘電パターンの上面に接する第1下部部分及び前記第1高誘電パターンから離隔される第1上部部分を含み、第2高誘電パターンは、前記第2界面パターンに隣接する第2下部部分及び前記第2金属パターンに隣接する第2上部部分を含み、前記第1高誘電パターン及び前記第1金属パターンの前記第1下部部分は、ランタン系列物質を含み、前記第2高誘電パターンの前記第2上部部分の酸素含量は、前記第2下部部分の酸素含量よりも大きい。
【0007】
上記目的を達成するためになされた本発明の更に他の態による半導体装置は、セルアレイ領域と第1領域及び第2領域を含む周辺領域とを含む半導体基板と、前記セルアレイ領域のセル活性領域、前記第1領域の第1活性領域、及び前記第2領域の第2活性領域を定義する素子分離膜と、前記セルアレイ領域のセル活性領域を横切るビットライン構造体と、前記第1活性領域上に配置される第1ゲート構造体と、前記第2活性領域上に配置される第2ゲート構造体と、を備え、前記第1ゲート構造体は、第1ゲート電極、前記第1ゲート電極と前記半導体基板との間の第1界面パターン、前記第1界面パターンと前記第1ゲート電極との間の第1高誘電パターン、及び前記第1高誘電パターンと前記第1ゲート電極との間の第1金属パターンを含み、前記第2ゲート構造体は、第2ゲート電極、前記第2ゲート電極と前記半導体基板との間の第2界面パターン、前記第2界面パターンと前記第2ゲート電極との間の第2高誘電パターン、及び前記第2高誘電パターンと前記第2ゲート電極との間の第2金属パターンを含み、前記ビットライン構造体は、一方向に沿って延長されるビットライン及び前記ビットラインと前記セル活性領域との間のビットラインコンタクトパターンを含み、前記第1高誘電パターン及び前記第1高誘電パターンに接する前記第1ゲート電極の下部部分は、ダイポール物質を含み、前記第2高誘電パターンは、前記第2界面パターンに隣接する下部部分及び前記第2金属パターンに隣接する上部部分を含み、前記第2高誘電パターンの前記上部部分の酸素含量は、前記下部部分の酸素含量よりも大きい。
【0008】
一実施形態による半導体装置の製造方法は、第1及び第2領域を含む半導体基板を提供する段階と、前記半導体基板上に高誘電膜を形成する段階と、前記第2領域の高誘電膜上に犠牲金属パターンを形成する段階と、前記第1領域の前記高誘電膜及び前記第2領域の前記犠牲金属パターン上にダイポール膜を形成する段階と、1次熱処理工程を遂行して前記ダイポール膜内のダイポール物質を前記第1領域の前記高誘電膜内に提供して前記犠牲金属パターンと前記高誘電膜との間に第1仕事関数層を形成する段階と、前記ダイポール膜及び前記犠牲金属パターンを除去する段階と、前記第1領域で前記ダイポール物質を含む高誘電膜上に金属膜を形成する段階と、2次熱処理工程を遂行して前記第1領域で前記高誘電膜と前記金属膜との間に前記ダイポール物質を含む第2仕事関数層を形成する段階と、を有する。
【0009】
その他の実施形態の具体的な事項は詳細な説明及び図面に含まれる。
【発明の効果】
【0010】
本発明によれば、互いに異なる閾値電圧を有する第1及び第2トランジスタで、第1及び第2ゲート構造体の高さの差を減らしながら、第1及び第2トランジスタの閾値電圧を最適化することができる。
(【0011】以降は省略されています)
この特許をJ-PlatPat(特許庁公式サイト)で参照する
関連特許
三星電子株式会社
冷蔵庫
1か月前
三星電子株式会社
冷蔵庫
1か月前
三星電子株式会社
保持装置
1か月前
三星電子株式会社
実装装置
1か月前
三星電子株式会社
半導体装置
12日前
三星電子株式会社
半導体素子
1か月前
三星電子株式会社
半導体素子
1か月前
三星電子株式会社
半導体装置
26日前
三星電子株式会社
半導体装置
1か月前
三星電子株式会社
半導体装置
4日前
三星電子株式会社
固体撮像装置
1か月前
三星電子株式会社
固体二次電池
1か月前
三星電子株式会社
イメージセンサ
3日前
三星電子株式会社
モータ駆動装置
1か月前
三星電子株式会社
半導体接合装置
1か月前
三星電子株式会社
イメージセンサ
25日前
三星電子株式会社
半導体パッケージ
1か月前
三星電子株式会社
半導体パッケージ
17日前
三星電子株式会社
半導体パッケージ
24日前
三星電子株式会社
半導体パッケージ
1か月前
三星電子株式会社
イメージセンサー
11日前
三星電子株式会社
イメージセンサー
1か月前
三星電子株式会社
半導体パッケージ
25日前
三星電子株式会社
半導体パッケージ
4日前
三星電子株式会社
集積回路パッケージ
1か月前
三星電子株式会社
集積回路装置の製造方法
19日前
三星電子株式会社
トランスフォーマー加速装置
12日前
三星電子株式会社
周辺回路領域を含む半導体素子
1か月前
三星電子株式会社
半導体装置およびその製造方法
4日前
三星電子株式会社
スペーサを含む半導体パッケージ
3日前
三星電子株式会社
イメージセンサ及びその動作方法
1か月前
三星電子株式会社
イメージセンサ及びその動作方法
25日前
三星電子株式会社
半導体パッケージ及びその製造方法
11日前
三星電子株式会社
イメージセンサー及びその動作方法
1か月前
三星電子株式会社
車両の走行を制御する方法と装置及び車両
3日前
三星電子株式会社
半導体装置及びこれを含むデータ記憶システム
1か月前
続きを見る
他の特許を見る