TOP
|
特許
|
意匠
|
商標
特許ウォッチ
Twitter
他の特許を見る
10個以上の画像は省略されています。
公開番号
2025156014
公報種別
公開特許公報(A)
公開日
2025-10-14
出願番号
2025040778
出願日
2025-03-14
発明の名称
半導体素子
出願人
三星電子株式会社
,
Samsung Electronics Co.,Ltd.
代理人
弁理士法人ITOH
主分類
H10D
84/80 20250101AFI20251002BHJP()
要約
【課題】ナノシート電界効果トランジスタと類似した構造を有するダイオードにおいて安定した性能及び向上した信頼性を提供する半導体素子を提供する。
【解決手段】半導体素子10は、素子分離膜STI間の基板101で第1水平方向Xに沿って配置され、互いに接触する第1ウェル領域NW及び第2ウェル領域PWと、垂直方向に交互に積層されたナノシートNS及び犠牲絶縁パターン111と、ナノシート及び犠牲絶縁パターンの両端部をそれぞれ取り囲む1対の非活性ゲート構造物GSと、ナノシート及び犠牲絶縁パターン101を垂直方向に貫通して第1ウェル領域NWに連結された第1不純物導電部NCと、ナノシート及び犠牲絶縁パターンを垂直方向に貫通して第2ウェル領域PWに連結された第2不純物導電部PCと、第1不純物導電部の上部に連結された第1コンタクトCTと、第2不純物導電部の上部に連結された第2コンタクトCTと、を含む。
【選択図】図1B
特許請求の範囲
【請求項1】
互いに対向する第1面及び第2面を有する基板及び前記基板を貫通する、1対の素子分離膜と、
前記1対の素子分離膜の間の前記基板で第1水平方向に沿って配置され、互いに接触する、第1ウェル領域及び第2ウェル領域と、
前記第1ウェル領域上及び前記第2ウェル領域上に垂直方向に交互に積層された、ナノシート及び犠牲絶縁パターンと、
前記ナノシート及び前記犠牲絶縁パターンの両端部から前記第1水平方向と垂直な第2水平方向に延び、前記ナノシート及び前記犠牲絶縁パターンの両端部をそれぞれ取り囲む、1対の非活性ゲート構造物と、
前記第1ウェル領域上で前記ナノシート及び前記犠牲絶縁パターンを前記垂直方向に貫通して、前記第1ウェル領域に連結された、第1不純物導電部と、
前記第2ウェル領域上で前記ナノシート及び前記犠牲絶縁パターンを前記垂直方向に貫通して、前記第2ウェル領域に連結された、第2不純物導電部と、
前記第1不純物導電部の上部に連結された、第1コンタクトと、
前記第2不純物導電部の上部に連結された、第2コンタクトと、を含む、
半導体素子。
続きを表示(約 1,100 文字)
【請求項2】
前記第1水平方向に前記第1ウェル領域と前記第2ウェル領域とが接触する界面上に非活性ゲート構造物が配置されない、
ことを特徴とする、請求項1に記載の半導体素子。
【請求項3】
前記第1水平方向に前記1対の非活性ゲート構造物の間に前記第1コンタクト及び前記第2コンタクトが配置される、
ことを特徴とする、請求項2に記載の半導体素子。
【請求項4】
前記第1不純物導電部及び前記第2不純物導電部は、前記ナノシート及び前記犠牲絶縁パターンが互いに異なる導電型不純物でドーピングされた領域である、
ことを特徴とする、請求項1に記載の半導体素子。
【請求項5】
前記第1不純物導電部と前記第2不純物導電部との間に位置する前記ナノシートは、半導体パターンであり、前記犠牲絶縁パターンは、絶縁パターンである、
ことを特徴とする、請求項4に記載の半導体素子。
【請求項6】
前記第1不純物導電部及び前記第2不純物導電部の最上面の垂直レベルは、前記ナノシートのうち最上層半導体パターンの上面の垂直レベルと実質的に同一であり、
前記第1不純物導電部及び前記第2不純物導電部の最下面の垂直レベルは、前記基板の前記第1面と前記第2面との間に位置する、
ことを特徴とする、請求項4に記載の半導体素子。
【請求項7】
前記ナノシートの前記第1水平方向に沿う長さと、前記犠牲絶縁パターンの前記第1水平方向に沿う長さとは、実質的に同一である、
ことを特徴とする、請求項1に記載の半導体素子。
【請求項8】
前記第1ウェル領域及び前記第2ウェル領域は、前記基板が互いに異なる導電型不純物でドーピングされた領域であり、
前記第1ウェル領域と前記第2ウェル領域とが接触して側面ダイオード(lateral diode)を構成する、
ことを特徴とする、請求項1に記載の半導体素子。
【請求項9】
前記第1ウェル領域及び前記第2ウェル領域の最上面の垂直レベルは、前記基板の前記第1面と実質的に同一であり、
前記第1ウェル領域及び前記第2ウェル領域の最下面の垂直レベルは、前記基板の前記第2面と実質的に同一である、
ことを特徴とする、請求項8に記載の半導体素子。
【請求項10】
前記第1不純物導電部と前記第1ウェル領域とは、互いに等しい第1導電型不純物を含み、
前記第2不純物導電部と前記第2ウェル領域とは、互いに等しい第2導電型不純物を含み、
前記第1導電型不純物と前記第2導電型不純物とは、互いに反対の導電型を有する、
ことを特徴とする、請求項1に記載の半導体素子。
発明の詳細な説明
【技術分野】
【0001】
本発明は、半導体素子に関し、さらに詳細には、電界効果トランジスタ及びダイオードを含む半導体素子に関する。
続きを表示(約 3,400 文字)
【背景技術】
【0002】
半導体素子のサイズが徐々に縮まることにより、基板上に電界効果トランジスタの集積度を増加させる必要が生じ、これにより、同じレイアウト領域上に積層された複数のナノシートを含む、ナノシート電界効果トランジスタ(NSFET)が開発された。最近では、半導体素子の集積度がさらに高くなり、半導体素子のサイズがさらに縮まることにより、ナノシート電界効果トランジスタ及びそれと類似した構造を有するダイオードの信頼性を向上させることができる得る新たな構造の開発が必要である。
【発明の概要】
【発明が解決しようとする課題】
【0003】
本発明が解決しようとする課題は、ナノシート電界効果トランジスタと類似した構造を有するダイオードにおいて安定した性能及び向上した信頼性を提供することができる半導体素子を提供することである。
【0004】
本発明の技術的思想が解決しようとする課題は、前述した課題に制限されず、言及されていない、さらに他の課題は、下記の記載から、当業者であれば明確に理解されるであろう。
【課題を解決するための手段】
【0005】
本発明の技術的思想による半導体素子は、互いに対向する第1面及び第2面を有する基板及び前記基板を貫通する1対の素子分離膜と、前記1対の素子分離膜間の前記基板で第1水平方向に沿って配置され、互いに接触する第1ウェル領域及び第2ウェル領域と、前記第1ウェル領域及び前記第2ウェル領域上に垂直方向に交互に積層されたナノシート及び犠牲絶縁パターンと、前記ナノシート及び前記犠牲絶縁パターンの両端部から前記第1水平方向と垂直な第2水平方向に延び、前記ナノシート及び前記犠牲絶縁パターンの両端部をそれぞれ取り囲む1対の非活性ゲート構造物と、前記第1ウェル領域上で前記ナノシート及び前記犠牲絶縁パターンを前記垂直方向に貫通して前記第1ウェル領域に連結された第1不純物導電部と、前記第2ウェル領域上で前記ナノシート及び前記犠牲絶縁パターンを前記垂直方向に貫通して前記第2ウェル領域に連結された第2不純物導電部と、前記第1不純物導電部の上部に連結された第1コンタクトと、前記第2不純物導電部の上部に連結された第2コンタクトと、を含む。
【0006】
本発明の技術的思想による半導体素子は、互いに対向する第1面及び第2面を有する基板及び前記基板を貫通し、第1水平方向に離隔される、1対の素子分離膜と、前記1対の素子分離膜間の前記基板上に垂直方向に交互に積層されたナノシート及び犠牲絶縁パターンと、前記ナノシート及び前記犠牲絶縁パターンの両端部から前記第1水平方向と垂直な第2水平方向に延び、前記ナノシート及び前記犠牲絶縁パターンの両端部をそれぞれ取り囲む1対の非活性ゲート構造物と、前記基板、前記ナノシート、及び前記犠牲絶縁パターンを前記垂直方向に貫通する第1不純物領域と、前記基板、前記ナノシート、及び前記犠牲絶縁パターンを前記垂直方向に貫通して、前記第1不純物領域と接触する第2不純物領域と、前記第1不純物領域の上部に連結された第1コンタクトと、前記第2不純物領域の上部に連結された第2コンタクトと、を含む。
【0007】
本発明の技術的思想による半導体素子は、互いに対向する第1面及び第2面を有する基板及び前記基板を貫通する1対の素子分離膜;前記1対の素子分離膜の間の前記基板で第1水平方向に沿って配置され、互いに接触する第1ウェル領域及び第2ウェル領域と、前記第1ウェル領域及び前記第2ウェル領域上に垂直方向に交互に積層されたナノシート及び犠牲絶縁パターンと、前記第1ウェル領域上で前記ナノシート及び前記犠牲絶縁パターンを前記垂直方向に貫通して前記第1ウェル領域に連結された第1不純物導電部と、前記第2ウェル領域上で前記ナノシート及び前記犠牲絶縁パターンを前記垂直方向に貫通して前記第2ウェル領域に連結された第2不純物導電部と、前記第1不純物導電部の上部に連結された第1コンタクトと、前記第2不純物導電部の上部に連結された第2コンタクトと、前記基板の前記第2面の下に配置される背面電力配線構造物(back side power distribution network)と、を含む。
【発明の効果】
【0008】
本発明の技術的思想による半導体素子は、ナノシート電界効果トランジスタと類似した構造を有するダイオードにおいて、接合ダイオードの界面上に非活性ゲート構造物が存在しない側面PN接合ダイオードを含むことにより、安定した性能及び向上した信頼性を提供することができる。
【図面の簡単な説明】
【0009】
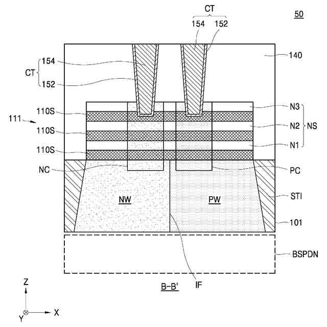
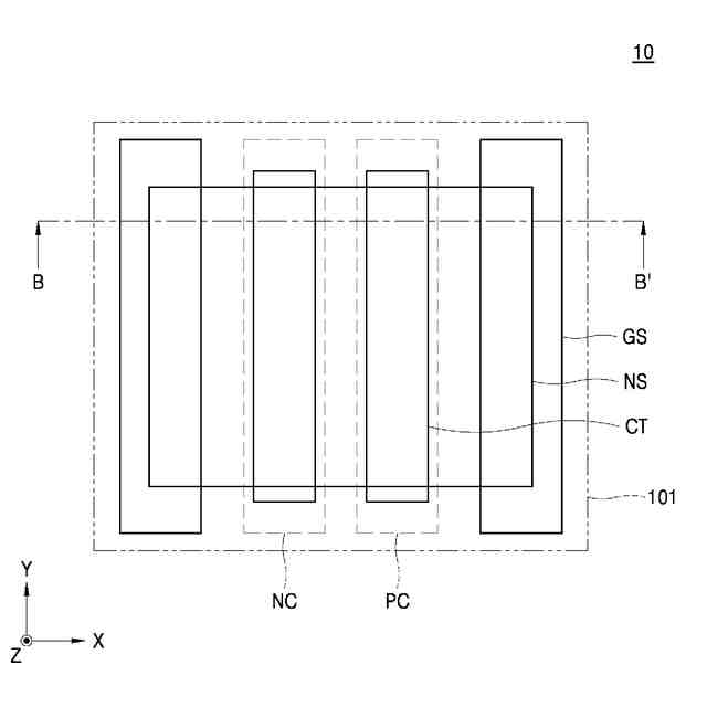
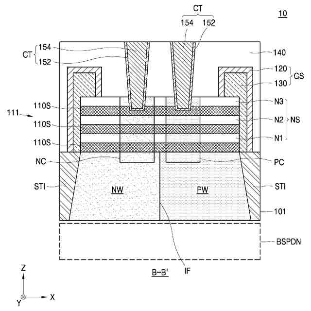
本発明の技術的思想の一実施形態に従った、半導体素子の構成要素を示す概略平面図である。
図1AのB-B’線に沿って切断した断面図である。
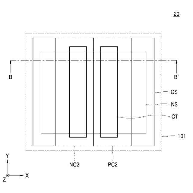
本発明の技術的思想の他の実施形態に従った、半導体素子の構成要素を示す概略平面図である。
図2AのB-B’線に沿って切断した断面図である。
本発明の技術的思想のさらに他の実施形態に従った、半導体素子の概略平面図である。
本発明の技術的思想のさらに他の実施形態に従った、半導体素子の概略平面図である。
本発明の技術的思想のさらに他の実施形態に従った、半導体素子の概略平面図である。
本発明の技術的思想の一実施形態に従った、半導体素子の製造方法を、工程順序によって示す断面図である。
本発明の技術的思想の一実施形態に従った、半導体素子の製造方法を、工程順序によって示す断面図である。
本発明の技術的思想の一実施形態に従った、半導体素子の製造方法を、工程順序によって示す断面図である。
本発明の技術的思想の一実施形態に従った、半導体素子の製造方法を、工程順序によって示す断面図である。
本発明の技術的思想の一実施形態に従った、半導体素子の製造方法を、工程順序によって示す断面図である。
本発明の技術的思想の一実施形態に従った、半導体素子の製造方法を、工程順序によって示す断面図である。
本発明の技術的思想の一実施形態に従った、半導体素子の製造方法を、工程順序によって示す断面図である。
本発明の技術的思想の一実施形態に従った、半導体素子の製造方法を、工程順序によって示す断面図である。
本発明の技術的思想の一実施形態に従った、半導体素子の製造方法を、工程順序によって示す断面図である。
本発明の技術的思想の一実施形態に従った、半導体素子の製造方法を、工程順序によって示す断面図である。
本発明の技術的思想の他の実施形態に従った、半導体素子の製造方法を、工程順序によって示す断面図である。
本発明の技術的思想の他の実施形態に従った、半導体素子の製造方法を、工程順序によって示す断面図である。
本発明の技術的思想の他の実施形態に従った、半導体素子の製造方法を、工程順序によって示す断面図である。
本発明の技術的思想の他の実施形態に従った、半導体素子の製造方法を、工程順序によって示す断面図である。
本発明の技術的思想の他の実施形態に従った、半導体素子の製造方法を、工程順序によって示す断面図である。
本発明の技術的思想の他の実施形態に従った、半導体素子の製造方法を、工程順序によって示す断面図である。
本発明の技術的思想の他の実施形態に従った、半導体素子の製造方法を、工程順序によって示す断面図である。
本発明の技術的思想の他の実施形態に従った、半導体素子の製造方法を、工程順序によって示す断面図である。
本発明の技術的思想の他の実施形態に従った、半導体素子の製造方法を。工程順序によって示す断面図である。
本発明の技術的思想の実施形態に従った、半導体素子を含むシステムを示す構成図である。
【発明を実施するための形態】
【0010】
以下に、添付した図面を参照して、本発明の技術的思想の実施形態について詳細に説明する。
(【0011】以降は省略されています)
この特許をJ-PlatPat(特許庁公式サイト)で参照する
関連特許
三星電子株式会社
冷蔵庫
1日前
三星電子株式会社
実装装置
13日前
三星電子株式会社
保持装置
13日前
三星電子株式会社
半導体装置
5日前
三星電子株式会社
半導体素子
8日前
三星電子株式会社
固体二次電池
12日前
三星電子株式会社
半導体接合装置
13日前
三星電子株式会社
モータ駆動装置
5日前
三星電子株式会社
イメージセンサー
6日前
三星電子株式会社
半導体パッケージ
7日前
三星電子株式会社
半導体パッケージ
7日前
三星電子株式会社
集積回路パッケージ
今日
三星電子株式会社
周辺回路領域を含む半導体素子
7日前
三星電子株式会社
半導体装置およびこれを含む電力半導体システム
8日前
三星電子株式会社
複数の波長を使用するライダーシステム及びその動作方法
8日前
三星電子株式会社
キャパシタ構造物を含む半導体装置及びこれを含むデータ記憶システム
14日前
三星電子株式会社
サブバンド全二重動作における複数の物理ランダム・アクセス・チャネル送信
5日前
三星電子株式会社
イメージセンサとその動作方法及びイメージ装置
5日前
三星電子株式会社
共重合体、ならびに当該共重合体を含有する組成物、液状組成物、およびエレクトロルミネッセンス素子
14日前
三星電子株式会社
高分子化合物、ならびに当該高分子化合物を用いるエレクトロルミネッセンス素子材料およびエレクトロルミネッセンス素子
14日前
三星電子株式会社
高分子化合物、ならびに当該高分子化合物を用いるエレクトロルミネッセンス素子材料、液状組成物およびエレクトロルミネッセンス素子
14日前
個人
半導体装置
14日前
エイブリック株式会社
半導体装置
20日前
東レ株式会社
太陽電池モジュール
14日前
エイブリック株式会社
縦型ホール素子
8日前
エイブリック株式会社
縦型ホール素子
8日前
ローム株式会社
半導体装置
15日前
富士通株式会社
半導体装置
13日前
株式会社半導体エネルギー研究所
表示装置
8日前
富士電機株式会社
半導体装置
5日前
三菱電機株式会社
半導体装置
13日前
ミツミ電機株式会社
半導体装置
20日前
日亜化学工業株式会社
発光装置
12日前
TDK株式会社
圧電素子
13日前
日亜化学工業株式会社
発光素子
13日前
ローム株式会社
半導体装置
21日前
続きを見る
他の特許を見る