TOP
|
特許
|
意匠
|
商標
特許ウォッチ
Twitter
他の特許を見る
10個以上の画像は省略されています。
公開番号
2025157177
公報種別
公開特許公報(A)
公開日
2025-10-15
出願番号
2025057484
出願日
2025-03-31
発明の名称
周辺回路領域を含む半導体素子
出願人
三星電子株式会社
,
Samsung Electronics Co.,Ltd.
代理人
弁理士法人ITOH
主分類
H10B
12/00 20230101AFI20251007BHJP()
要約
【課題】 周辺回路領域を含む半導体素子を提供する。
【解決手段】 本発明の実施形態に係る半導体素子は、メモリセルを含むメモリセルアレイ領域及び前記メモリセルアレイ領域と水平方向に離隔する周辺回路領域を含む。前記周辺回路領域は、第1レベルに配置される上部配線、前記水平方向と直交する垂直方向に前記第1レベルと離隔する第2レベルに配置される下部配線、前記第1レベルと前記第2レベルとの間の少なくとも一つの周辺トランジスタを含む。前記少なくとも一つの周辺トランジスタはそれぞれ、前記垂直方向に延びるチャネル構造物を含む。
【選択図】 図1
特許請求の範囲
【請求項1】
メモリセルを含むメモリセルアレイ領域であり、前記メモリセルはそれぞれセルトランジスタ及び情報格納構造物を含む、メモリセルアレイ領域;及び
前記メモリセルアレイ領域と水平方向に離隔する周辺回路領域を含み、
前記周辺回路領域は:
第1レベルに配置される上部配線;
前記水平方向と直交する垂直方向に前記第1レベルと離隔する第2レベルに配置される下部配線;及び
前記第1レベルと前記第2レベルとの間の少なくとも一つの周辺トランジスタを含み、
前記少なくとも一つの周辺トランジスタはそれぞれ、前記垂直方向に延びるチャネル構造物を含む、半導体素子。
続きを表示(約 1,200 文字)
【請求項2】
前記少なくとも一つの周辺トランジスタの前記チャネル構造物はそれぞれ、前記垂直方向に延びるチャネル領域、及び前記チャネル領域の両端に配置され、前記チャネル領域と前記垂直方向に重なる第1ソース/ドレイン領域と第2ソースドレイン領域を含む、請求項1に記載の半導体素子。
【請求項3】
前記上部配線は、前記少なくとも一つの周辺トランジスタの第1ソース/ドレイン領域のうち一つと電気的に連結され、
前記下部配線は、前記少なくとも一つの周辺トランジスタの第2ソース/ドレイン領域のうち一つと電気的に連結される、請求項2に記載の半導体素子。
【請求項4】
前記少なくとも一つの周辺トランジスタは、前記チャネル領域上の周辺ゲート電極をさらに含み、
前記周辺ゲート電極は、前記第1レベルと前記第2レベルとの間に配置される、請求項1に記載の半導体素子。
【請求項5】
前記少なくとも一つの周辺トランジスタは、第1及び第2周辺トランジスタを含み、
前記周辺回路領域は、前記水平方向において前記第1及び第2周辺トランジスタの間のバックゲート電極をさらに含む、請求項1に記載の半導体素子。
【請求項6】
前記少なくとも一つの周辺トランジスタの前記チャネル構造物は、前記バックゲート電極の両側に配置される第1及び第2チャネル構造物を含む、請求項5に記載の半導体素子。
【請求項7】
前記半導体素子は少なくとも一つのインバータ回路を含み、
前記少なくとも一つの周辺トランジスタは、前記少なくとも一つのインバータ回路を構成するPMOSトランジスタ及びNMOSトランジスタを含み、
前記上部配線は、前記少なくとも一つのインバータ回路の前記PMOSトランジスタと電気的に連結される第1上部配線、及び前記NMOSトランジスタと電気的に連結される第2上部配線を含み、
前記下部配線は、前記少なくとも一つのインバータ回路の前記PMOSトランジスタとそれぞれ電気的に連結される第1下部配線、及び前記NMOSトランジスタとそれぞれ電気的に連結される第2下部配線を含む、請求項1に記載の半導体素子。
【請求項8】
前記少なくとも一つのインバータ回路のそれぞれは、前記第1下部配線及び前記第2下部配線と電気的に連結される連結配線をさらに含み、
前記連結配線は、前記第1レベル及び前記第2レベルと前記垂直方向に離隔する第3レベルに配置される、請求項7に記載の半導体素子。
【請求項9】
前記第1レベルは、前記第2レベルと前記第3レベルとの間に配置される、請求項8に記載の半導体素子。
【請求項10】
前記第2レベルは、前記第1レベルと前記第3レベルとの間に配置される、請求項8に記載の半導体素子。
(【請求項11】以降は省略されています)
発明の詳細な説明
【技術分野】
【0001】
本発明は、周辺回路領域を含む半導体素子に関する。
続きを表示(約 3,300 文字)
【背景技術】
【0002】
半導体素子に対する高性能、高速化及び/又は多機能化等に対する要求が増大するにつれて、半導体素子の集積度が増加している。半導体素子の高集積化傾向に対応した微細パターンの半導体素子を製造するには、微細な幅又は微細な離隔距離を有するパターンを実現することが要求される。
【発明の概要】
【発明が解決しようとする課題】
【0003】
本発明の技術的思想が解決しようとする技術的課題の一つは、垂直方向に延びるチャネル構造物を有する周辺トランジスタが配置された周辺回路領域を有する半導体素子を提供することにある。
【課題を解決するための手段】
【0004】
例示的な実施形態に係る半導体素子は、メモリセルを含むメモリセルアレイ領域であり、上記メモリセルは、それぞれセルトランジスタ及び情報格納構造物を含む、メモリセルアレイ領域;及び上記メモリセルアレイ領域と水平方向に離隔する周辺回路領域を含むことができる。上記周辺回路領域は、第1レベルに配置される上部配線;上記水平方向と直交する垂直方向に上記第1レベルと離隔する第2レベルに配置される下部配線;及び上記第1レベルと上記第2レベルとの間の少なくとも一つの周辺トランジスタを含むことができる。上記少なくとも一つの周辺トランジスタはそれぞれ、上記垂直方向に延びるチャネル構造物を含むことができる。
【0005】
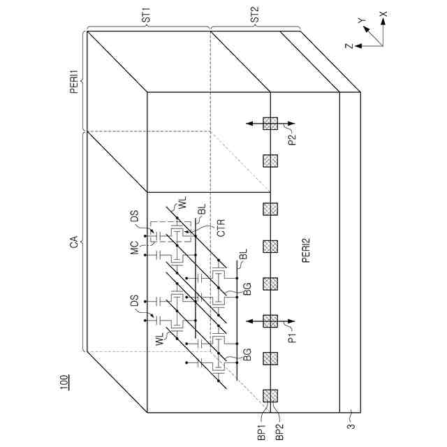
例示的な実施形態に係る半導体素子は、メモリセルアレイ領域及び上記メモリセルアレイ領域と基板上において水平方向に離隔する第1周辺回路領域を含む第1構造物を含むことができる。上記メモリセルアレイ領域は、ビットライン構造物;上記ビットライン構造物上に配置され、上記水平方向と直交する垂直方向に延びるセルチャネル構造物;上記セルチャネル構造物の間のワードライン;上記セルチャネル構造物上に配置され、上記セルチャネル構造物と電気的に連結されるコンタクトパターン;及び上記コンタクトパターン上の情報格納構造物を含むことができる。上記第1周辺回路領域は、第1レベルに配置される上部配線;上記第1レベルと上記垂直方向に離隔する第2レベルに配置される下部配線;及び上記第1レベルと上記第2レベルとの間の少なくとも一つの第1周辺トランジスタを含むことができる。上記少なくとも一つの第1周辺トランジスタはそれぞれ、上記垂直方向に延びる周辺チャネル構造物を含むことができる。上記上部配線の少なくとも一部分は、上記ビットライン構造物と上記垂直方向において同じレベルに配置されることができる。
【0006】
例示的な実施形態に係る半導体素子は、メモリセルを含むメモリセルアレイ領域であり、上記メモリセルはそれぞれセルトランジスタ及び情報格納構造物を含む、メモリセルアレイ領域;及び上記メモリセルアレイ領域と第1又は第2水平方向に離隔する周辺回路領域を含むことができる。上記周辺回路領域は、上記第1水平方向に延びて第1ドーピング領域上に配置される第1上部配線;上記第1水平方向に延びて第2ドーピング領域上に配置される第2上部配線;上記第1及び第2水平方向と直交する垂直方向に上記第1上部配線の下に離隔して配置される第1下部配線;上記垂直方向に上記第2上部配線の下に離隔して配置される第2下部配線;上記第1上部配線と上記第1下部配線との間で上記垂直方向に延びる第1チャネル構造物;上記第2上部配線と上記第2下部配線との間で上記垂直方向に延びる第2チャネル構造物;上記第1チャネル構造物及び上記第2チャネル構造物の側面上に配置され、上記第1水平方向と交差する上記第2水平方向に延びる周辺ゲート電極;及び上記第1下部配線及び上記第2下部配線と電気的に連結される連結配線を含むことができる。上記第1上部配線及び上記第2上部配線は第1レベルに配置され、上記第1下部配線及び上記第2下部配線は第2レベルに配置され、上記連結配線は上記垂直方向に上記第1レベル及び上記第2レベルと互いに離隔する第3レベルに配置されることができる。
【発明の効果】
【0007】
本発明の技術的思想の実施形態によれば、第1周辺回路領域はメモリセル領域と同じレベルに配置され、第2周辺回路領域上に配置されることができる。したがって、第1周辺回路領域の分だけ半導体素子のサイズを減らすことができる。また、第1周辺回路領域の周辺トランジスタはメモリセル領域のセルトランジスタと類似の構造を有するため、過度に工程を追加することなく第1周辺回路領域を形成することができる。
【0008】
本発明の多様でありながらも有益な利点及び効果は、上述した内容に限定されず、本発明の具体的な実施形態を説明する過程でより容易に理解することができる。
【図面の簡単な説明】
【0009】
例示的な実施形態に係る半導体素子の概略的な斜視図である。
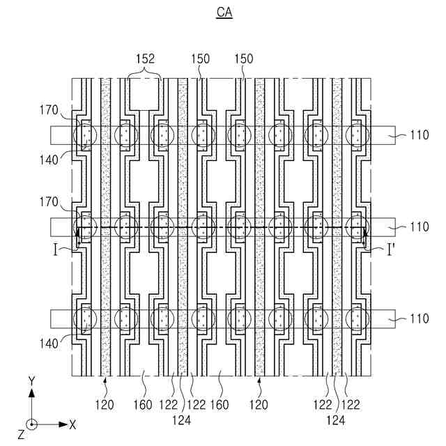
例示的な実施形態に係る半導体素子の平面図である。
図2に示す半導体素子の線I-I’に沿った垂直断面図である。
図3aに示す半導体素子の一部拡大図である。
例示的な実施形態に係る第1周辺回路領域の周辺回路素子の回路図である。
例示的な実施形態に係る第1周辺回路領域の周辺回路素子の平面図である。
図5に示す周辺回路素子の概略的な斜視図である。
図5に示す周辺回路素子の線II-II’に沿った垂直断面図である。
図7aに示す半導体素子の一部拡大図である。
例示的な実施形態に係る第1周辺回路領域の周辺回路素子の垂直断面図である。
例示的な実施形態に係る第1周辺回路領域の周辺回路素子の平面図である。
例示的な実施形態に係る第1周辺回路領域の周辺回路素子の平面図である。
例示的な実施形態に係る第1周辺回路領域の周辺回路素子の平面図である。
例示的な実施形態に係る第1周辺回路領域の周辺回路素子の平面図である。
例示的な実施形態に係る第1周辺回路領域の周辺回路素子の回路図である。
例示的な実施形態に係る第1周辺回路領域の周辺回路素子の平面図である。
図14に示す周辺回路素子の概略的な斜視図である。
例示的な実施形態に係る第1周辺回路領域の周辺回路素子の平面図である。
図16に示す周辺回路素子の概略的な斜視図である。
例示的な実施形態に係る第1周辺回路領域の周辺回路素子の回路図である。
例示的な実施形態に係る第1周辺回路領域の周辺回路素子の概略的な斜視図である。
例示的な実施形態に係る第1周辺回路領域の周辺回路素子の概略的な斜視図である。
例示的な実施形態に係る第1周辺回路領域の周辺回路素子の回路図である。
例示的な実施形態に係る第1周辺回路領域の周辺回路素子の平面図である。
図22に示す周辺回路素子の概略的な斜視図である。
例示的な実施形態に係る第1周辺回路領域の周辺回路素子の平面図である。
図24に示す周辺回路素子の概略的な斜視図である。
例示的な実施形態に係る第1周辺回路領域の周辺回路素子の回路図である。
例示的な実施形態に係る第1周辺回路領域の周辺回路素子の概略的な斜視図である。
例示的な実施形態に係る第1周辺回路領域の周辺回路素子の概略的な斜視図である。
例示的な実施形態に係る第1周辺回路領域の周辺回路素子の回路図である。
例示的な実施形態に係る第1周辺回路領域の周辺回路素子の概略的な斜視図である。
例示的な実施形態に係る第1周辺回路領域の周辺回路素子の平面図である。
【発明を実施するための形態】
【0010】
以下、添付の図面を参照して本発明の好ましい実施形態について以下のように説明する。
(【0011】以降は省略されています)
この特許をJ-PlatPat(特許庁公式サイト)で参照する
関連特許
三星電子株式会社
冷蔵庫
21日前
三星電子株式会社
冷蔵庫
29日前
三星電子株式会社
実装装置
1か月前
三星電子株式会社
半導体装置
14日前
三星電子株式会社
半導体装置
今日
三星電子株式会社
半導体素子
1か月前
三星電子株式会社
半導体装置
1か月前
三星電子株式会社
固体撮像装置
26日前
三星電子株式会社
固体二次電池
1か月前
三星電子株式会社
モータ駆動装置
1か月前
三星電子株式会社
半導体接合装置
1か月前
三星電子株式会社
イメージセンサ
13日前
三星電子株式会社
イメージセンサー
1か月前
三星電子株式会社
半導体パッケージ
13日前
三星電子株式会社
半導体パッケージ
1か月前
三星電子株式会社
半導体パッケージ
12日前
三星電子株式会社
半導体パッケージ
5日前
三星電子株式会社
半導体パッケージ
1か月前
三星電子株式会社
集積回路パッケージ
28日前
三星電子株式会社
集積回路装置の製造方法
7日前
三星電子株式会社
トランスフォーマー加速装置
今日
三星電子株式会社
周辺回路領域を含む半導体素子
1か月前
三星電子株式会社
イメージセンサ及びその動作方法
20日前
三星電子株式会社
イメージセンサ及びその動作方法
13日前
三星電子株式会社
半導体装置及びこれを含むデータ記憶システム
20日前
三星電子株式会社
半導体装置およびこれを含む電力半導体システム
1か月前
三星電子株式会社
レジスト組成物及びそれを用いたパターン形成方法
12日前
三星電子株式会社
半導体パッケージング用フィルム及びその製造方法
12日前
三星電子株式会社
プラズマエッチング工程を含む半導体素子の製造方法
26日前
三星電子株式会社
後面構造物を含む半導体チップを含む半導体パッケージ
20日前
三星電子株式会社
複数の波長を使用するライダーシステム及びその動作方法
1か月前
三星電子株式会社
ポリマー、それを含むレジスト組成物、及びそれを用いたパターン形成方法
13日前
三星電子株式会社
サブバンド全二重動作における複数の物理ランダム・アクセス・チャネル送信
1か月前
三星電子株式会社
半導体装置及びその製造方法
20日前
三星電子株式会社
アンダーフィルフィルム及びアンダーフィルフィルムを含む半導体パッケージ
12日前
三星電子株式会社
イメージセンサとその動作方法及びイメージ装置
1か月前
続きを見る
他の特許を見る