TOP
|
特許
|
意匠
|
商標
特許ウォッチ
Twitter
他の特許を見る
10個以上の画像は省略されています。
公開番号
2025160128
公報種別
公開特許公報(A)
公開日
2025-10-22
出願番号
2025062285
出願日
2025-04-04
発明の名称
集積回路パッケージ
出願人
三星電子株式会社
,
Samsung Electronics Co.,Ltd.
代理人
弁理士法人共生国際特許事務所
主分類
G11C
7/22 20060101AFI20251015BHJP(情報記憶)
要約
【課題】チップ間で送受信されるデータ信号に対するデータ有効ウィンドウのマージンを改善する集積回路パッケージを提供する。
【解決手段】本発明の集積回路パッケージは、基板上で第1クロック信号及び第1データ信号を出力する第1半導体チップと、第1クロック信号及び第1データ信号のうちの少なくとも一つをディレイさせて第1クロック信号及び第1データ信号に基づいて第2クロック信号及び第2データ信号を出力するディレイ回路と、基板上で第1半導体チップから水平的に離隔されて第2クロック信号及び第2データ信号を受信する第2半導体チップと、を備える。
【選択図】図1
特許請求の範囲
【請求項1】
基板と、
前記基板上で第1クロック信号及び第1データ信号を出力する第1半導体チップと、
前記第1クロック信号及び前記第1データ信号のうちの少なくとも一つを遅延させて前記第1クロック信号及び前記第1データ信号に基づいて第2クロック信号及び第2データ信号を出力するディレイ回路と、
前記基板上で前記第1半導体チップから水平的に離隔されて前記第2クロック信号及び前記第2データ信号を受信する第2半導体チップと、を備えることを特徴とする集積回路パッケージ。
続きを表示(約 1,300 文字)
【請求項2】
前記第2クロック信号及び前記第2データ信号を受信して前記第2データ信号に対するデータ有効区間をチェックする動作を行うデータチェッカーを更に含むことを特徴とする請求項1に記載の集積回路パッケージ。
【請求項3】
前記基板と前記第1半導体チップとの間に配置されて前記第1半導体チップ及び前記第2半導体チップが実装されるアクティブインターポーザを更に含み、
前記アクティブインターポーザは、前記ディレイ回路を含むことを特徴とする請求項1に記載の集積回路パッケージ。
【請求項4】
前記第1半導体チップ及び前記第2半導体チップに連結されて前記ディレイ回路を含むブリッジチップを更に含み、
前記ブリッジチップは、前記基板の一面に形成されるキャビティに配置されることを特徴とする請求項1に記載の集積回路パッケージ。
【請求項5】
前記第1半導体チップ及び前記第2半導体チップは、前記基板に実装されることを特徴とする請求項4に記載の集積回路パッケージ。
【請求項6】
前記第1データ信号は、1ビットのデータを含む第3データ信号及び第4データ信号を含み、
前記第2データ信号は、前記第3及び第4データ信号に基づいて前記ディレイ回路によって出力される第5データ信号及び第6データ信号を含み、
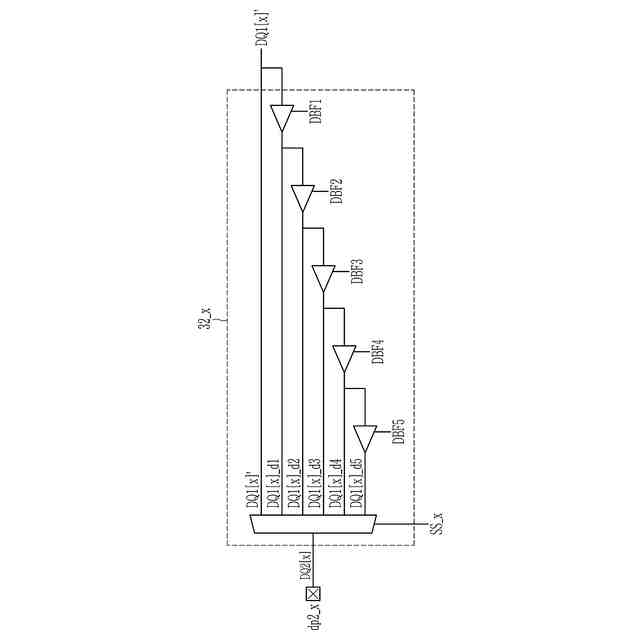
前記ディレイ回路は、前記第3データ信号に基づいて前記第5データ信号を出力する第1ディレイ回路、前記第4データ信号に基づいて前記第6データ信号を出力する第2ディレイ回路、及び前記第1クロック信号に基づいて前記第2クロック信号を出力するクロックディレイ回路を含むことを特徴とする請求項1に記載の集積回路パッケージ。
【請求項7】
前記第1ディレイ回路は、前記第3データ信号を予め定められたディレイ時間だけディレイさせて第1ディレイバッファー信号を出力する第1ディレイバッファー、前記第1ディレイバッファー信号を前記ディレイ時間だけディレイさせて第2ディレイバッファー信号を出力する第2ディレイバッファー、並びに前記第3データ信号、前記第1ディレイバッファー信号、及び前記第2ディレイバッファー信号に基づいて前記第5データ信号を出力するマルチプレクサを含むことを特徴とする請求項6に記載の集積回路パッケージ。
【請求項8】
前記マルチプレクサに選択信号を提供するディレイセレクタを更に含むことを特徴とする請求項7に記載の集積回路パッケージ。
【請求項9】
前記第5データ信号は、前記第3データ信号に対してディレイ動作が実行されることによって生成され、
前記第6データ信号と前記第4データ信号との間の位相差は、前記第2クロック信号と前記第1クロック信号との間の位相差と同じであることを特徴とする請求項6に記載の集積回路パッケージ。
【請求項10】
前記第2クロック信号は、前記第1クロック信号に対してディレイ動作が実行されることによって生成され、
前記第5データ信号と前記第3データ信号との間の位相差は、前記第6データ信号と前記第4データ信号との間の位相差と同じであることを特徴とする請求項6に記載の集積回路パッケージ。
発明の詳細な説明
【技術分野】
【0001】
本発明は、集積回路パッケージに関する。
続きを表示(約 2,000 文字)
【背景技術】
【0002】
電子製品の小型化、多機能化、及び高性能化が要求されるにつれて、パッケージの軽薄化、高集積化、高性能化、及び高速化も要求されている。そのため、高いデータ帯域幅を有するシステムを実現できる集積回路パッケージに対する需要が増加しており、それに伴い、パッケージ内のデータ入出力速度が増加している。
【0003】
データ入出力速度の増加に伴い、データ有効ウィンドウ(Window)マージンが減少し、データパターンの密集度上昇に伴うカップリングノイズが増加し、データ信号の信号保全性(Signal Integrity)が低下し、これを改善する必要がある。
【発明の概要】
【発明が解決しようとする課題】
【0004】
本発明は、上記従来の問題点に鑑みてなされたものであって、本発明の目的は、チップ間で送受信されるデータ信号に対するデータ有効ウィンドウのマージンを改善する集積回路パッケージを提供することにある。
【課題を解決するための手段】
【0005】
上記目的を達成するためになされた本発明の一態様による集積回路パッケージは、基板と、前記基板上で第1クロック信号及び第1データ信号を出力する第1半導体チップと、前記第1クロック信号及び前記第1データ信号のうちの少なくとも一つを遅延させて前記第1クロック信号及び前記第1データ信号に基づいて第2クロック信号及び第2データ信号を出力するディレイ回路と、前記基板上で前記第1半導体チップから水平的に離隔されて前記第2クロック信号及び前記第2データ信号を受信する第2半導体チップと、を備える。
【0006】
一実施形態による集積回路パッケージは、第1クロック信号及び第1データ信号を出力する第1半導体チップと、前記第1半導体チップに連結されて前記第1クロック信号及び前記第1データ信号のうちの少なくとも一つを遅延させて第2クロック信号及び第2データ信号を出力するディレイ回路を含むアクティブインターポーザと、前記アクティブインターポーザ上で前記第1半導体チップから水平的に離隔されて前記第2クロック信号及び第2データ信号を受信する第2半導体チップと、を備える。
【0007】
一実施形態による集積回路パッケージの動作方法は、基板上に実装された第1半導体チップから入出力チューニングコマンドを受信するステップと、前記入出力チューニングコマンドの受信に対応して前記第1半導体チップから第1クロック信号及び第1データ信号を受信するステップと、前記第1クロック信号及び前記第1データ信号のうちの少なくとも一つを遅延させる入出力チューニング動作を行って第2クロック信号及び第2データ信号を出力するステップと、前記第2クロック信号及び前記第2データ信号に基づいて前記第2データ信号に対するデータ有効区間をチェックするステップと、前記チェックステップの結果に対応して前記入出力チューニング動作に対するディレイ設定値を設定するステップと、前記ディレイ設定値に基づいて前記第2クロック信号及び前記第2データ信号を出力するステップと、を有する。
【発明の効果】
【0008】
本発明の集積回路パッケージによれば、チップ間で送受信されるデータ信号に対するデータ有効ウィンドウのマージンを改善することができ、またチップ間で同期式により送受信されるクロック信号とデータ信号との間のスキュー(skew)を改善してデータ伝送中に発生するデータエラーを減らすことができる。
【図面の簡単な説明】
【0009】
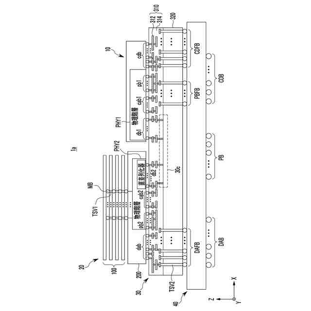
一実施形態による集積回路パッケージを示すブロック図である。
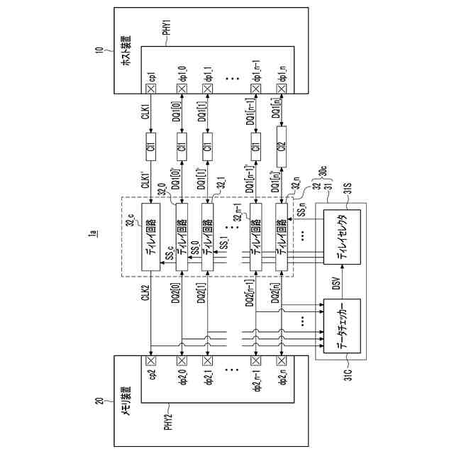
一実施形態による集積回路パッケージの一例を示すブロック図である。
一実施形態によるディレイ回路を示す回路図である。
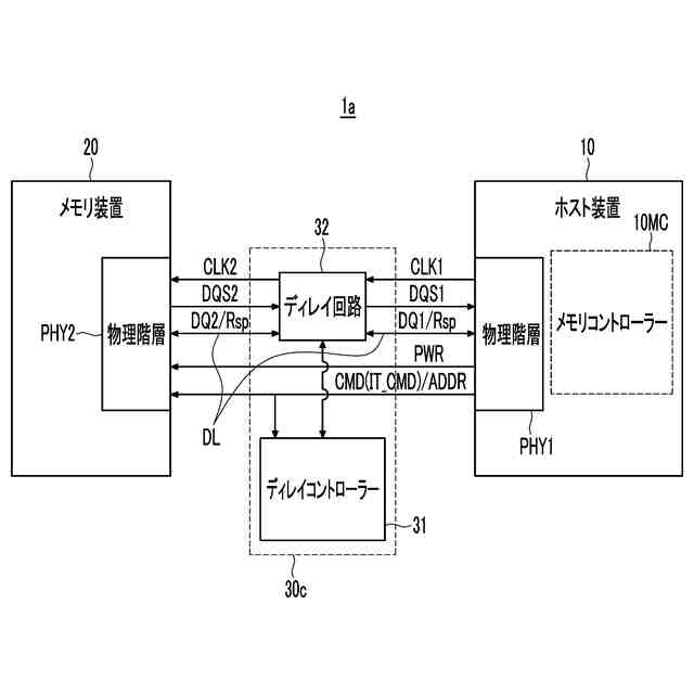
一実施形態による集積回路パッケージの一例を説明するための図である。
一実施形態による集積回路パッケージの動作方法の一例を示すフローチャートである。
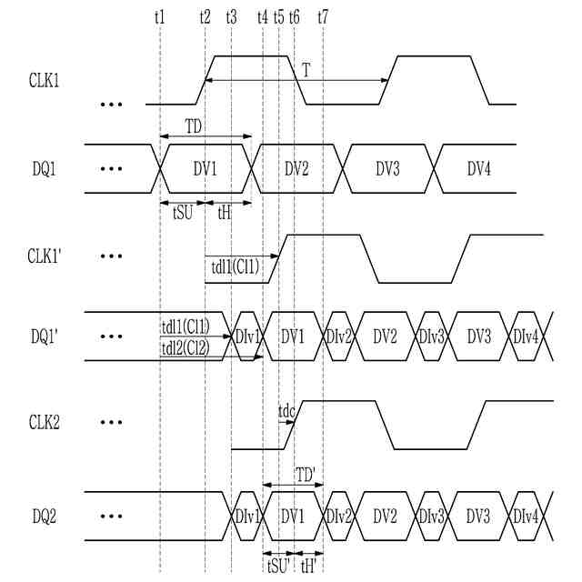
一実施形態による集積回路パッケージの入出力チューニング動作を説明するためのタイミング図である。
一実施形態による集積回路パッケージの入出力チューニング動作を説明するためのタイミング図である。
一実施形態による集積回路パッケージの他の例を示すブロック図である。
一実施形態による集積回路パッケージの動作方法の他の例を示すフローチャートである。
一実施形態による集積回路パッケージの他の例を説明するための図である。
一実施形態による集積回路パッケージの更に他の例を説明するための図である。
【発明を実施するための形態】
【0010】
以下、本発明を実施するための形態の具体例を、図面を参照しながら詳細に説明する。
(【0011】以降は省略されています)
この特許をJ-PlatPat(特許庁公式サイト)で参照する
関連特許
三星電子株式会社
冷蔵庫
21日前
三星電子株式会社
半導体装置
今日
三星電子株式会社
半導体装置
14日前
三星電子株式会社
固体撮像装置
26日前
三星電子株式会社
イメージセンサ
13日前
三星電子株式会社
半導体パッケージ
5日前
三星電子株式会社
半導体パッケージ
12日前
三星電子株式会社
半導体パッケージ
13日前
三星電子株式会社
集積回路パッケージ
28日前
三星電子株式会社
集積回路装置の製造方法
7日前
三星電子株式会社
トランスフォーマー加速装置
今日
三星電子株式会社
イメージセンサ及びその動作方法
13日前
三星電子株式会社
イメージセンサ及びその動作方法
20日前
三星電子株式会社
半導体装置及びこれを含むデータ記憶システム
20日前
三星電子株式会社
レジスト組成物及びそれを用いたパターン形成方法
12日前
三星電子株式会社
半導体パッケージング用フィルム及びその製造方法
12日前
三星電子株式会社
プラズマエッチング工程を含む半導体素子の製造方法
26日前
三星電子株式会社
後面構造物を含む半導体チップを含む半導体パッケージ
20日前
三星電子株式会社
ポリマー、それを含むレジスト組成物、及びそれを用いたパターン形成方法
13日前
三星電子株式会社
アンダーフィルフィルム及びアンダーフィルフィルムを含む半導体パッケージ
12日前
三星電子株式会社
半導体装置及びその製造方法
20日前
日本発條株式会社
記録装置
1か月前
RAMXEED株式会社
記憶装置
14日前
株式会社ナノバブル研究所
データ消去装置
1か月前
ローム株式会社
RAM
1か月前
キオクシア株式会社
半導体記憶装置
1か月前
ローム株式会社
メモリ装置
1か月前
キオクシア株式会社
記憶装置
1か月前
キオクシア株式会社
記憶装置
1か月前
キオクシア株式会社
半導体記憶装置
1か月前
株式会社東芝
磁気ヘッド、及び、磁気記録装置
1か月前
ローム株式会社
半導体記憶装置
1か月前
ローム株式会社
半導体記憶装置
1か月前
キオクシア株式会社
記憶装置
1か月前
ローム株式会社
半導体メモリ装置
14日前
ローム株式会社
不揮発性メモリ装置
1か月前
続きを見る
他の特許を見る