TOP
|
特許
|
意匠
|
商標
特許ウォッチ
Twitter
他の特許を見る
10個以上の画像は省略されています。
公開番号
2025171949
公報種別
公開特許公報(A)
公開日
2025-11-20
出願番号
2025019381
出願日
2025-02-07
発明の名称
半導体パッケージ及びその製造方法
出願人
三星電子株式会社
,
Samsung Electronics Co.,Ltd.
代理人
弁理士法人共生国際特許事務所
主分類
H01L
25/07 20060101AFI20251113BHJP(基本的電気素子)
要約
【課題】構造的安定性が向上された半導体パッケージ及びその製造方法を提供する。
【解決手段】本発明による半導体パッケージは、下部構造体と、下部構造体上の上部構造体と、下部構造体と上部構造体との間に介在する第1界面膜と、を有し、下部構造体は、第1半導体基板と、第1半導体基板の上の第1パッドと、第1半導体基板上で第1パッドを囲む第1絶縁層と、を含み、上部構造体は、第2半導体基板と、第2半導体基板の上の第2パッドと、第2半導体基板上で第2パッドを囲む第2絶縁層と、を含み、第1界面膜は、第1絶縁層に結合される第1自己組織化単分子膜(self-assembled monolayer)と、第2絶縁層に結合される第2自己組織化単分子膜と、を含む。
【選択図】図1
特許請求の範囲
【請求項1】
下部構造体と、
前記下部構造体上の上部構造体と、
前記下部構造体と前記上部構造体との間に介在する第1界面膜と、を有し、
前記下部構造体は、
第1半導体基板と、
前記第1半導体基板の上の第1パッドと、
前記第1半導体基板上で前記第1パッドを囲む第1絶縁層と、を含み、
前記上部構造体は、
第2半導体基板と、
前記第2半導体基板の上の第2パッドと、
前記第2半導体基板上で前記第2パッドを囲む第2絶縁層と、を含み、
前記第1界面膜は、
前記第1絶縁層に結合される第1自己組織化単分子膜(self-assembled monolayer)と、
前記第2絶縁層に結合される第2自己組織化単分子膜と、を含むことを特徴とする半導体パッケージ。
続きを表示(約 1,900 文字)
【請求項2】
前記第1自己組織化単分子膜は、
第1チェーンと、
前記第1チェーンの一端に連結される第1ヘッドグループと、
前記第1チェーンの他端に連結される第1ターミナルグループと、を含み、
前記第1自己組織化単分子膜は、前記第1ヘッドグループによって前記第1絶縁層の第1表面に化学吸着され、
前記第2自己組織化単分子膜は、
第2チェーンと、
前記第2チェーンの一端に連結される第2ヘッドグループと、
前記第2チェーンの他端に連結される第2ターミナルグループと、を含み、
前記第2自己組織化単分子膜は、前記第2ヘッドグループによって前記第2絶縁層の第2表面に化学吸着され、
前記第1ターミナルグループと第2ターミナルグループは、互いに結合することを特徴とする請求項1に記載の半導体パッケージ。
【請求項3】
前記第1ヘッドグループ及び前記第2ヘッドグループは、ヒドロキシ基(-OH)と結合できる官能基を含むことを特徴とする請求項2に記載の半導体パッケージ。
【請求項4】
前記第1チェーン及び前記第2チェーンは、炭化水素鎖を含むことを特徴とする請求項2に記載の半導体パッケージ。
【請求項5】
前記第1自己組織化単分子膜及び前記第2自己組織化単分子膜は、シランカップリング剤(silane coupling agent:SCA)を含むことを特徴とする請求項1に記載の半導体パッケージ。
【請求項6】
前記第1自己組織化単分子膜と結合される前記第1絶縁層の第1表面は、曲がっており、
前記第2自己組織化単分子膜と結合される前記第2絶縁層の第2表面は、曲がっていることを特徴とする請求項1に記載の半導体パッケージ。
【請求項7】
前記第1界面膜は、前記第1絶縁層及び前記第2絶縁層と接し、前記第1及び第2パッドと離隔されることを特徴とする請求項1に記載の半導体パッケージ。
【請求項8】
前記第1パッドと前記第2パッドとの間に介在する第2界面膜をさらに有し、
前記第2界面膜は、前記第1自己組織化単分子膜を形成する物質と前記第2自己組織化単分子膜を形成する物質の中の少なくとも一部を含むことを特徴とする請求項1に記載の半導体パッケージ。
【請求項9】
第1半導体基板と、
前記第1半導体基板上に配置される第2半導体基板と、
前記第2半導体基板に向かう前記第1半導体基板の一面上に配置される第1絶縁層と、
前記第1半導体基板に向かう前記第2半導体基板の一面上に配置される第2絶縁層と、
前記第1絶縁層と前記第2絶縁層との間に介在する第1界面膜と、を有し、
前記第1界面膜は、
前記第1絶縁層の第1面に化学吸着される第1ヘッドグループと、
前記第2絶縁層の第2面に化学吸着される第2ヘッドグループと、
前記第1ヘッドグループと前記第2ヘッドグループとの間のターミナルグループと、
前記第1ヘッドグループと前記ターミナルグループを連結する第1炭化水素鎖と、
前記第2ヘッドグループと前記ターミナルグループを連結する第2炭化水素鎖と、を含むことを特徴とする半導体パッケージ。
【請求項10】
第1半導体基板上に第1パッド及び前記第1パッドを囲む第1絶縁層を形成する段階と、
第1絶縁層の第1面上に第1表面処理工程を実行する段階と、
ここで、前記第1表面処理工程によって、前記第1面上に第1官能基が形成され、
前記第1絶縁層の前記第1面上に第1自己組織化単分子膜を形成する段階と、
ここで、前記第1自己組織化単分子膜は、前記第1官能基と結合される第1ヘッドグループを有し、
第2半導体基板上に第2パッド及び前記第2パッドを囲む第2絶縁層を形成する段階と、
第2絶縁層の第2面上に第2表面処理工程を実行する段階と、
ここで、前記第2表面処理工程によって、前記第2面上に第2官能基が形成され、
前記第2絶縁層の前記第2面上に第2自己組織化単分子膜を形成する段階と、
ここで、前記第2自己組織化単分子膜は、前記第2官能基と結合される第2ヘッドグループを有し、
前記第1自己組織化単分子膜と前記第2自己組織化単分子膜を結合して、前記第1絶縁層と前記第2絶縁層との間に介在する界面膜を形成する段階と、を有することを特徴とする半導体パッケージの製造方法。
発明の詳細な説明
【技術分野】
【0001】
本発明は、半導体パッケージ及びその製造方法に関し、特に、直接ボンディングされた半導体パッケージ及びその製造方法に関するものである。
続きを表示(約 2,800 文字)
【背景技術】
【0002】
半導体産業において、半導体パッケージ及びこれを利用した電子製品の高容量、薄型化、及び小型化に対する需要が増えて、これに関連した様々なパッケージ技術が次々と登場している。
その中の1つが様々な半導体チップを垂直積層させて高密度チップ積層を具現できるパッケージ技術である。
この技術は、1つの半導体チップで構成された一般的なパッケージより少ない面積に様々な機能を有する半導体チップを集積させることができるという長所を有する。
【0003】
半導体パッケージは、集積回路チップを電子製品に使用する適合な形態で具現化したものである。
通常的に、半導体パッケージは、印刷回路基板上に半導体チップを実装し、ボンディングワイヤないしバンプを利用してこれらを電気的に接続することが一般的である。
電子産業の発達につれて半導体パッケージの信頼性向上及び耐久性向上のための様々な研究、開発が課題となり、進行している。
【先行技術文献】
【特許文献】
【0004】
米国特許第11,437,647号明細書
【発明の概要】
【発明が解決しようとする課題】
【0005】
本発明は上記従来の半導体パッケージにおける課題に鑑みてなされたものであって、本発明の目的は、構造的安定性が向上された半導体パッケージ及びその製造方法を提供することにある。
また、本発明の他の目的は、半導体チップの間の電気的接続が良好な半導体パッケージ及びその製造方法を提供することにある。
また、本発明の他の目的は、不良発生が少ない半導体パッケージの製造方法及びこれを通じて製造された半導体パッケージを提供することにある。
【課題を解決するための手段】
【0006】
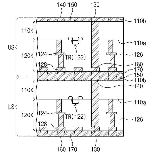
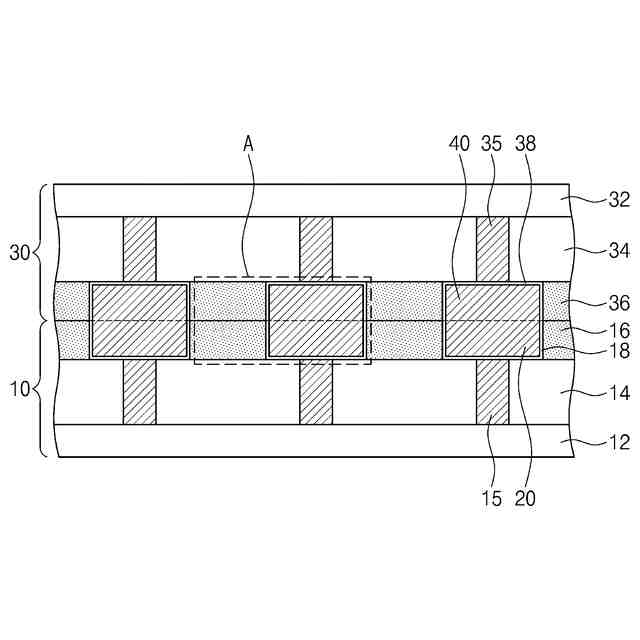
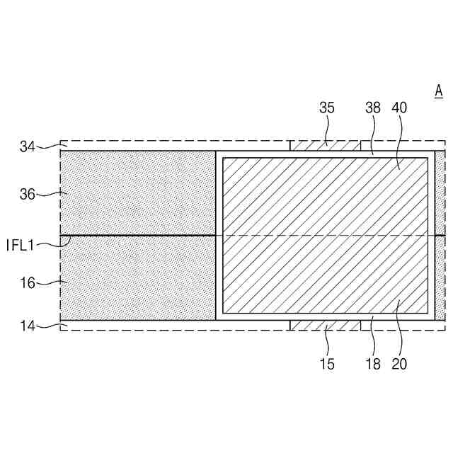
上記目的を達成するためになされた本発明による半導体パッケージは、下部構造体と、前記下部構造体上の上部構造体と、前記下部構造体と前記上部構造体との間に介在する第1界面膜と、を有し、前記下部構造体は、第1半導体基板と、前記第1半導体基板の上の第1パッドと、前記第1半導体基板上で前記第1パッドを囲む第1絶縁層と、を含み、前記上部構造体は、第2半導体基板と、前記第2半導体基板の上の第2パッドと、前記第2半導体基板上で前記第2パッドを囲む第2絶縁層と、を含み、前記第1界面膜は、前記第1絶縁層に結合される第1自己組織化単分子膜(self-assembled monolayer)と、前記第2絶縁層に結合される第2自己組織化単分子膜と、を含むことを特徴とする。
【0007】
また、上記目的を達成するためになされた本発明による導体パッケージは、第1半導体基板と、前記第1半導体基板上に配置される第2半導体基板と、前記第2半導体基板に向かう前記第1半導体基板の一面上に配置される第1絶縁層と、前記第1半導体基板に向かう前記第2半導体基板の一面上に配置される第2絶縁層と、前記第1絶縁層と前記第2絶縁層との間に介在する第1界面膜と、を有し、前記第1界面膜は、前記第1絶縁層の第1面に化学吸着される第1ヘッドグループと、前記第2絶縁層の第2面に化学吸着される第2ヘッドグループと、前記第1ヘッドグループと前記第2ヘッドグループとの間のターミナルグループと、前記第1ヘッドグループと前記ターミナルグループを連結する第1炭化水素鎖と、前記第2ヘッドグループと前記ターミナルグループを連結する第2炭化水素鎖と、を含むことを特徴とする。
【0008】
上記目的を達成するためになされた本発明による半導体パッケージの製造方法は、第1半導体基板上に第1パッド及び前記第1パッドを囲む第1絶縁層を形成する段階と、第1絶縁層の第1面上に第1表面処理工程を実行する段階と、ここで、前記第1表面処理工程によって、前記第1面上に第1官能基が形成され、前記第1絶縁層の前記第1面上に第1自己組織化単分子膜を形成する段階と、ここで、前記第1自己組織化単分子膜は、前記第1官能基と結合される第1ヘッドグループを有し、第2半導体基板上に第2パッド及び前記第2パッドを囲む第2絶縁層を形成する段階と、第2絶縁層の第2面上に第2表面処理工程を実行する段階と、ここで、前記第2表面処理工程によって、前記第2面上に第2官能基が形成され、前記第2絶縁層の前記第2面上に第2自己組織化単分子膜を形成する段階と、ここで、前記第2自己組織化単分子膜は、前記第2官能基と結合される第2ヘッドグループを有し、前記第1自己組織化単分子膜と前記第2自己組織化単分子膜を結合して、前記第1絶縁層と前記第2絶縁層との間に介在する界面膜を形成する段階と、を有することを特徴とする。
【発明の効果】
【0009】
本発明に係る半導体パッケージ及びその製造方法によれば、絶縁層と自己組織化単分子膜が、結合力が強い共有結合に接合され、自己組織化単分子膜もまた結合力が強い共有結合で接合される。
したがって、絶縁層間の接合が強く、構造的安定性が向上された半導体パッケージが製造される。
また、自己組織化単分子膜を各々絶縁層の表面に直接形成するので、自己組織化単分子膜が絶縁層から離隔されなくともよい。
伸張又は収縮が可能なチェーンによって自己組織化単分子膜が互いに直接接して化学結合するのが容易である。
したがって、第1界面膜が絶縁層の表面に離隔又は隙間がないように形成される。
即ち、離隔又は隙間による不良発生が少なく、構造的安定性が向上された半導体パッケージを提供することができる。
【0010】
また、絶縁層の表面が平坦でなくとも、第1界面膜は、絶縁層の表面に離隔又は隙間がないように化学吸着される。
第1界面膜内の分子(又は、化学的結合)が切断されない。
即ち、絶縁層が第1界面膜を通じて堅固に結合され、構造的安定性が向上された半導体パッケージが提供される。
また、本発明の実施形態によれば、下部構造体と上部構造体の形成及び接合工程で生成されるパッドの表面上の酸化膜が除去される。
したがって、パッドのハイブリッドボンディングの後、パッドは、内部に酸化物層のような異物質がない一体を成すことができ、パッド間の電気抵抗が小さい。
パッド間に第2界面膜が形成される場合、第2界面膜の電気抵抗が酸化膜の電気抵抗より低い。
即ち、電気的特性が向上された半導体パッケージを提供することができる。
【図面の簡単な説明】
(【0011】以降は省略されています)
この特許をJ-PlatPat(特許庁公式サイト)で参照する
関連特許
三星電子株式会社
冷蔵庫
1か月前
三星電子株式会社
冷蔵庫
1か月前
三星電子株式会社
半導体装置
22日前
三星電子株式会社
半導体素子
1日前
三星電子株式会社
半導体装置
1か月前
三星電子株式会社
半導体装置
14日前
三星電子株式会社
半導体装置
1か月前
三星電子株式会社
固体撮像装置
1か月前
三星電子株式会社
光電変換装置
今日
三星電子株式会社
イメージセンサ
13日前
三星電子株式会社
モータ駆動装置
1か月前
三星電子株式会社
イメージセンサ
1か月前
三星電子株式会社
半導体パッケージ
1か月前
三星電子株式会社
半導体パッケージ
1か月前
三星電子株式会社
半導体パッケージ
1か月前
三星電子株式会社
イメージセンサー
1か月前
三星電子株式会社
半導体パッケージ
1か月前
三星電子株式会社
イメージセンサー
21日前
三星電子株式会社
半導体パッケージ
27日前
三星電子株式会社
半導体パッケージ
6日前
三星電子株式会社
半導体パッケージ
14日前
三星電子株式会社
集積回路パッケージ
1か月前
三星電子株式会社
集積回路装置の製造方法
29日前
三星電子株式会社
半導体素子及びその製造方法
6日前
三星電子株式会社
トランスフォーマー加速装置
22日前
三星電子株式会社
半導体装置およびその製造方法
14日前
三星電子株式会社
周辺回路領域を含む半導体素子
1か月前
三星電子株式会社
イメージセンサ及びその動作方法
1か月前
三星電子株式会社
イメージセンサ及びその動作方法
1か月前
三星電子株式会社
スペーサを含む半導体パッケージ
13日前
三星電子株式会社
半導体パッケージ及びその製造方法
21日前
三星電子株式会社
半導体パッケージ及びその製造方法
8日前
三星電子株式会社
車両の走行を制御する方法と装置及び車両
13日前
三星電子株式会社
基板処理装置及びそれを含む半導体製造設備
1日前
三星電子株式会社
半導体装置及びこれを含むデータ記憶システム
13日前
三星電子株式会社
半導体装置及びそれを含むデータ記憶システム
6日前
続きを見る
他の特許を見る