TOP
|
特許
|
意匠
|
商標
特許ウォッチ
Twitter
他の特許を見る
10個以上の画像は省略されています。
公開番号
2025171969
公報種別
公開特許公報(A)
公開日
2025-11-20
出願番号
2025063538
出願日
2025-04-08
発明の名称
イメージセンサー
出願人
三星電子株式会社
,
Samsung Electronics Co.,Ltd.
代理人
弁理士法人共生国際特許事務所
主分類
H10F
39/18 20250101AFI20251113BHJP()
要約
【課題】鮮明な画質を具現することができるイメージセンサーを提供する。
【解決手段】本発明のイメージセンサーは、第1基板と、第1基板内に配置される第1浮遊拡散領域と、第1基板上に配置されるソースフォロワーゲート電極と、ソースフォロワーゲート電極の一側で第1基板内に配置されて第1浮遊拡散領域から離隔される第1ソース領域と、を備え、平面視において、第1ソース領域は、ソースフォロワーゲート電極の側壁に隣接する主要部及び主要部から突出して第1浮遊拡散領域に隣接する突出部を含む。
【選択図】図1
特許請求の範囲
【請求項1】
第1基板と、
前記第1基板内に配置される第1浮遊拡散領域と、
前記第1基板上に配置されるソースフォロワーゲート電極と、
前記ソースフォロワーゲート電極の一側で前記第1基板内に配置されて前記第1浮遊拡散領域から離隔される第1ソース領域と、を備え、
平面視において、前記第1ソース領域は、前記ソースフォロワーゲート電極の側壁に隣接する主要部及び前記主要部から突出して前記第1浮遊拡散領域に隣接する突出部を含むことを特徴とするイメージセンサー。
続きを表示(約 1,600 文字)
【請求項2】
前記突出部は、平面視において、前記第1浮遊拡散領域を囲むことを特徴とする請求項1に記載のイメージセンサー。
【請求項3】
前記第1浮遊拡散領域に隣接する接地領域を更に含み、
平面視において、前記突出部は、接地領域と前記第1浮遊拡散領域との間に位置することを特徴とする請求項1に記載のイメージセンサー。
【請求項4】
前記第1浮遊拡散領域上の第1コンタクトプラグと、
前記第1ソース領域の突出部上の第2コンタクトプラグと、
前記接地領域上の第3コンタクトプラグと、を更に含み、
前記第2コンタクトプラグは、前記第1コンタクトプラグと前記第3コンタクトプラグとの間に位置することを特徴とする請求項3に記載のイメージセンサー。
【請求項5】
平面視において、前記第1浮遊拡散領域は、第1方向に平行である第1側面及び前記第1方向に交差する第2方向に平行である第2側面を有し、
前記突出部は、前記第1側面に隣接する第1突出部及び前記第2側面に隣接する第2突出部を含むことを特徴とする請求項1に記載のイメージセンサー。
【請求項6】
前記第1浮遊拡散領域を前記ソースフォロワーゲート電極に連結する第1配線と、
前記第1ソース領域に連結される第2配線と、を更に含み、
前記第2配線は、前記第1配線と同一レベルに位置し、
平面視において、前記第2配線は、第1配線を囲むことを特徴とする請求項1に記載のイメージセンサー。
【請求項7】
前記第1基板の上の第2基板と、
前記第2基板内に配置されて互いに離隔される第2ソース領域と、
前記第2基板内に配置されて前記第2ソース領域の間の第2浮遊拡散領域と、を更に含み、
前記第2浮遊拡散領域は、前記第1浮遊拡散領域に連結され、
前記第2ソース領域は、前記第1ソース領域に連結されることを特徴とする請求項1に記載のイメージセンサー。
【請求項8】
前記第2ソース領域は、前記第2浮遊拡散領域を囲むように配置されることを特徴とする請求項7に記載のイメージセンサー。
【請求項9】
第1基板と、
前記第1基板内に配置される第1浮遊拡散領域と、
前記第1基板上に配置されるソースフォロワーゲート電極と、
前記ソースフォロワーゲート電極の一側で前記第1基板内に配置されて前記第1浮遊拡散領域から離隔される第1ソース領域と、
前記第1基板内に配置される接地領域と、を備え、
前記第1ソース領域は、延長されて前記第1浮遊拡散領域と前記接地領域との間に介在することを特徴とするイメージセンサー。
【請求項10】
第1基板と、
前記第1基板上に配置されるソースフォロワーゲート電極と、
前記ソースフォロワーゲート電極の一側の前記第1基板内の第1ソース領域と、
前記第1基板内に配置されて前記第1ソース領域から離隔される第1浮遊拡散領域と、
前記第1基板の上部面を覆う第1層間絶縁膜と、
前記第1層間絶縁膜上に配置される第2基板と、
前記第1層間絶縁膜と前記第2基板との間の第2層間絶縁膜と、
前記第2基板内に配置される第2浮遊拡散領域と、
前記第2基板の下面に配置されて前記第2浮遊拡散領域に隣接する伝送ゲート電極と、
前記第2基板内に配置されて前記第2浮遊拡散領域を囲むように配置される第2ソース領域と、
前記第2基板上に配置されるカラーフィルターと、
前記カラーフィルター上のマイクロレンズと、を備え、
前記第2ソース領域は、前記第1ソース領域に連結され、
前記第2浮遊拡散領域は、前記第1浮遊拡散領域に連結されることを特徴とするイメージセンサー。
発明の詳細な説明
【技術分野】
【0001】
本発明は、イメージイメージセンサーに関する。
続きを表示(約 3,300 文字)
【背景技術】
【0002】
イメージセンサーは光学画像(Optical image)を電気信号に変換する半導体素子である。イメージセンサーはCCD(Charge coupled device)型及びCMOS(Complementary metal oxide semiconductor)型に分類される。CMOS型イメージセンサーはCIS(CMOS image sensor)と略称される。CISは2次元的に配列された複数の画素を具備する。画素の各々はフォトダイオード(photodiode)を含む。フォトダイオードは入射する光を電気信号に変換する役割をする。
【先行技術文献】
【特許文献】
【0003】
米国特許第11336860号明細書
【発明の概要】
【発明が解決しようとする課題】
【0004】
本発明は、上記従来技術に鑑みてなされたものであって、本発明の目的は、鮮明な画質を具現するイメージセンサーを提供することにある。
【課題を解決するための手段】
【0005】
上記目的を達成するためになされた本発明の一態様によるイメージセンサーは、第1基板と、前記第1基板内に配置される第1浮遊拡散領域と、前記第1基板上に配置されるソースフォロワーゲート電極と、前記ソースフォロワーゲート電極の一側で前記第1基板内に配置されて前記第1浮遊拡散領域から離隔される第1ソース領域と、を備え、平面視において、前記第1ソース領域は、前記ソースフォロワーゲート電極の側壁に隣接する主要部及び前記主要部から突出して前記第1浮遊拡散領域に隣接する突出部を含む。
【0006】
上記目的を達成するためになされた本発明の他の態様によるイメージセンサーは、第1基板と、前記第1基板内に配置される第1浮遊拡散領域と、前記第1基板上に配置されるソースフォロワーゲート電極と、前記ソースフォロワーゲート電極の一側で前記第1基板内に配置されて前記第1浮遊拡散領域から離隔される第1ソース領域と、前記第1基板内に配置される接地領域と、を備え、前記第1ソース領域は、延長されて前記第1浮遊拡散領域と前記接地領域との間に介在する。
【0007】
上記目的を達成するためになされた本発明の更に他の態様によるイメージセンサーは、第1基板と、前記第1基板上に配置されるソースフォロワーゲート電極と、前記ソースフォロワーゲート電極の一側の前記第1基板内の第1ソース領域と、前記第1基板内に配置されて前記第1ソース領域から離隔される第1浮遊拡散領域と、前記第1基板の上部面を覆う第1層間絶縁膜と、前記第1層間絶縁膜上に配置される第2基板と、前記第1層間絶縁膜と前記第2基板との間の第2層間絶縁膜と、前記第2基板内に配置される第2浮遊拡散領域と、前記第2基板の下面に配置されて前記第2浮遊拡散領域に隣接する伝送ゲート電極と、前記第2基板内に配置されて前記第2浮遊拡散領域を囲むように配置される第2ソース領域と、前記第2基板上に配置されるカラーフィルターと、前記カラーフィルター上のマイクロレンズと、を備え、前記第2ソース領域は、前記第1ソース領域に連結され、前記第2浮遊拡散領域は、前記第1浮遊拡散領域に連結される。
【発明の効果】
【0008】
本発明のイメージセンサーは、ソースフォロワートランジスタのソース領域が浮遊拡散領域に隣接するか又は浮遊拡散領域を囲むように配置されて、ソースフォロワートランジスタのソース領域が接地領域と浮遊拡散領域との間に介在するため、浮遊拡散領域と周辺導電構造物との間の寄生キャパシタンスを減少させて、浮遊拡散領域の変換利得を向上させ、ノイズを減少させることができる。したがって、鮮明な画質を具現することができるイメージセンサーを提供することができる。
【図面の簡単な説明】
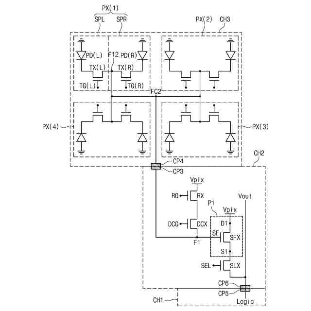
【0009】
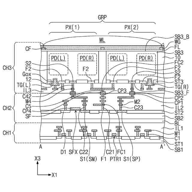
本発明の一実施形態によるイメージセンサーの第2半導体チップの第1例の概略的な平面図である。
本発明の一実施形態によるイメージセンサーの第3半導体チップの第1例の概略的な平面図である。
本発明の一実施形態による図1又は図2をA-A’線に沿って切断した断面図である。
本発明の一実施形態によるイメージセンサーの回路図である。
図4Aの回路図でP1部分を拡大した図である。
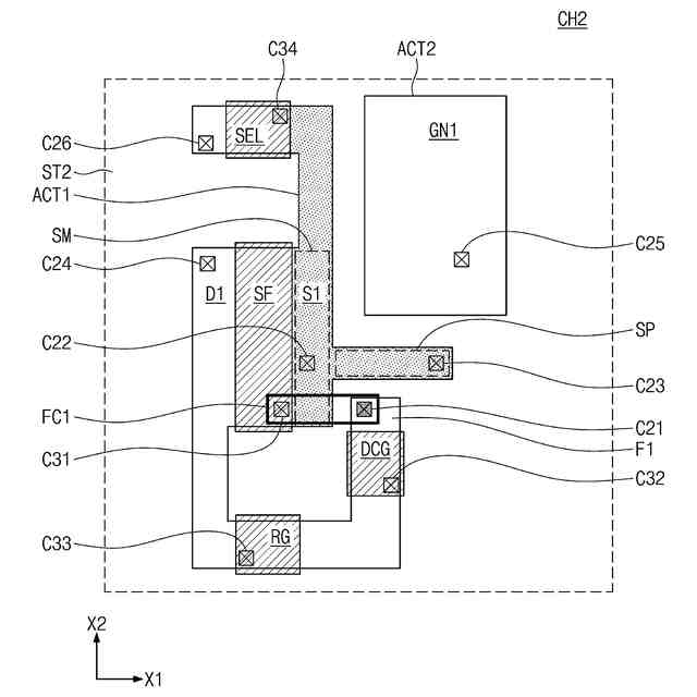
本発明の一実施形態によるイメージセンサーの第2半導体チップの第2例の平面図である。
本発明の一実施形態によるイメージセンサーの第2半導体チップの第3例の平面図である。
本発明の一実施形態によるイメージセンサーの第2半導体チップの第4例の平面図である。
本発明の一実施形態によるイメージセンサーの第2半導体チップの第5例の平面図である。
本発明の一実施形態によるイメージセンサーの第2半導体チップの第6例の平面図である。
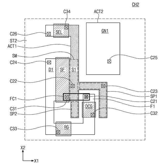
本発明の一実施形態によるイメージセンサーの第2半導体チップの第6例の配線の一例の平面図である。
本発明の一実施形態によるイメージセンサーの第2半導体チップの第6例の配線の他の例の平面図である。
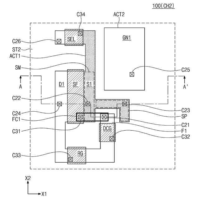
本発明の他の実施形態によるイメージセンサーの第2半導体チップの第1例の平面図である。
本発明の他の実施形態によるイメージセンサーの第2半導体チップの第2例の平面図である。
本発明の他の実施形態によるイメージセンサーの第2半導体チップの第3例の平面図である。
本発明の他の実施形態によるイメージセンサーの第2半導体チップの配線例の平面図である。
本発明の一実施形態によるイメージセンサーの第3半導体チップの第2例の平面図である。
本発明の一実施形態による図9をA-A’線に沿って切断した断面図である。
本発明の一実施形態によるイメージセンサーの第3半導体チップの第3例の平面図である。
本発明の一実施形態によるイメージセンサーの第3半導体チップの第3例の配線例の平面図である。
本発明の一実施形態による図11BをB-B’線に沿って切断した一例の断面図である。
本発明の一実施形態による図11BをB-B’線に沿って切断した他の例の断面図である。
本発明の一実施形態によるイメージセンサーの第3半導体チップの第4例の平面図である。
本発明の一実施形態によるイメージセンサーの第3半導体チップの第4例の第1配線例の平面図である。
本発明の一実施形態によるイメージセンサーの第3半導体チップの第4例の第2配線例の平面図である。
本発明の一実施形態による図15をC-C’線に沿って切断した部分断面図である。
本発明の他の実施形態によるイメージセンサーの第3半導体チップの第1例の平面図である。
本発明の他の実施形態によるイメージセンサーの第2半導体チップの第2例の平面図である。
本発明の他の実施形態による図18をD-D’線に沿って切断した断面図である。
本発明の更に他の実施形態によるイメージセンサーの第2半導体チップの第1例の平面図である。
本発明の更に他の実施形態によるイメージセンサーの第2半導体チップの第2例の平面図である。
本発明の更に他の実施形態によるイメージセンサーの第2半導体チップの第3例の平面図である。
本発明の更に他の実施形態によるイメージセンサーの第2半導体チップの第4例の平面図である。
【発明を実施するための形態】
【0010】
以下、本発明を実施するための形態の具体例を、図面を参照しながら詳細に説明する。本明細書で、第1、第2等のような順序を示す用語は、同一/類似の機能をする構成を互いに区分するために使用され、言及する順番に従ってその番号が変わることがある。
(【0011】以降は省略されています)
この特許をJ-PlatPat(特許庁公式サイト)で参照する
関連特許
三星電子株式会社
冷蔵庫
23日前
三星電子株式会社
冷蔵庫
1か月前
三星電子株式会社
実装装置
1か月前
三星電子株式会社
保持装置
1か月前
三星電子株式会社
半導体装置
16日前
三星電子株式会社
半導体装置
1か月前
三星電子株式会社
半導体装置
2日前
三星電子株式会社
半導体素子
1か月前
三星電子株式会社
半導体素子
1か月前
三星電子株式会社
固体二次電池
1か月前
三星電子株式会社
固体撮像装置
28日前
三星電子株式会社
イメージセンサ
15日前
三星電子株式会社
モータ駆動装置
1か月前
三星電子株式会社
半導体接合装置
1か月前
三星電子株式会社
半導体パッケージ
1か月前
三星電子株式会社
イメージセンサー
1か月前
三星電子株式会社
半導体パッケージ
1か月前
三星電子株式会社
半導体パッケージ
15日前
三星電子株式会社
半導体パッケージ
14日前
三星電子株式会社
イメージセンサー
1日前
三星電子株式会社
半導体パッケージ
7日前
三星電子株式会社
集積回路パッケージ
1か月前
三星電子株式会社
集積回路装置の製造方法
9日前
三星電子株式会社
トランスフォーマー加速装置
2日前
三星電子株式会社
周辺回路領域を含む半導体素子
1か月前
三星電子株式会社
イメージセンサ及びその動作方法
15日前
三星電子株式会社
イメージセンサ及びその動作方法
22日前
三星電子株式会社
イメージセンサー及びその動作方法
1か月前
三星電子株式会社
半導体パッケージ及びその製造方法
1日前
三星電子株式会社
半導体装置及びこれを含むデータ記憶システム
22日前
三星電子株式会社
半導体装置およびこれを含む電力半導体システム
1か月前
三星電子株式会社
半導体パッケージング用フィルム及びその製造方法
14日前
三星電子株式会社
レジスト組成物及びそれを用いたパターン形成方法
1日前
三星電子株式会社
レジスト組成物及びそれを用いたパターン形成方法
14日前
三星電子株式会社
イメージセンサー及びその動作方法並びに電子装置
1日前
三星電子株式会社
プラズマエッチング工程を含む半導体素子の製造方法
28日前
続きを見る
他の特許を見る