TOP
|
特許
|
意匠
|
商標
特許ウォッチ
Twitter
他の特許を見る
10個以上の画像は省略されています。
公開番号
2025179796
公報種別
公開特許公報(A)
公開日
2025-12-10
出願番号
2025035059
出願日
2025-03-06
発明の名称
半導体素子
出願人
三星電子株式会社
,
Samsung Electronics Co.,Ltd.
代理人
弁理士法人ITOH
主分類
H10D
30/62 20250101AFI20251203BHJP()
要約
【課題】生産性及び信頼性が向上された半導体素子及びその製造方法を提供する。
【解決手段】本発明は半導体素子に関し、より詳細には、基板、前記基板の上のソース及びドレーンパターン、前記ソース及びドレーンパターンの間のチャンネルパターン、前記チャンネルパターンは互いに離隔されて積層された複数の半導体パターンを含むこと、前記複数の半導体パターンの間のゲート電極、前記ゲート電極から水平に離隔されて配置され、第1方向に延長される上部分離構造体、前記基板を貫通し、前記ゲート電極の下に配置される第1背面分離構造体、及び前記基板を貫通し、前記上部分離構造体の下で前記上部分離構造体と垂直にオーバーラップされる第2背面分離構造体、を含み、前記第1及び第2背面分離構造体は各々前記第1方向に延長されることができる。
【選択図】図5A
特許請求の範囲
【請求項1】
基板と、
前記基板の上のソース及びドレーンパターンと、
前記ソース及びドレーンパターンの間のチャンネルパターンであって、互いに離隔されて積層された複数の半導体パターンを含む、チャネルパターンと、
前記複数の半導体パターンの間のゲート電極と、
前記ゲート電極から水平に離隔されて配置され、第1方向に延長される上部分離構造体と、
前記基板を貫通し、前記ゲート電極の下に配置される第1背面分離構造体と、
前記基板を貫通し、前記上部分離構造体の下で前記上部分離構造体と垂直にオーバーラップされる第2背面分離構造体と、を含み、
前記第1及び第2背面分離構造体は、各々前記第1方向に延長される半導体素子。
続きを表示(約 980 文字)
【請求項2】
前記第1及び第2背面分離構造体の底面は、実質的に互いに共面を成す請求項1に記載の半導体素子。
【請求項3】
前記基板を貫通して前記ソース及びドレーンパターンの中でいずれか1つと電気的に連結される背面活性コンタクト、をさらに含み、
前記背面活性コンタクトの一部分は、前記第1及び第2背面分離構造体の側壁と接する請求項1に記載の半導体素子。
【請求項4】
前記背面活性コンタクトの底面は、前記第1及び第2背面分離構造体の底面と実質的に共面を成す請求項3に記載の半導体素子。
【請求項5】
前記背面活性コンタクトは、背面導電パターン及び前記背面導電パターンを覆う背面バリアーパターンを含み、
前記背面バリアーパターンの一部分は、前記第1及び第2背面分離構造体の前記側壁と接する請求項3に記載の半導体素子。
【請求項6】
前記第1及び第2背面分離分離構造体及び前記背面活性コンタクトの下に配置され、前記背面活性コンタクトと連結されるパワー伝送ネットワーク層をさらに含む請求項3に記載の半導体素子。
【請求項7】
前記上部分離構造体は、垂直に延長される第1部分、前記第1部分で前記ソース及びドレーンパターンの側面に向かって突出される第2部分、及び前記第1部分と連結され、前記基板内に配置される第3部分を含む請求項1に記載の半導体素子。
【請求項8】
前記第3部分は、前記第2背面分離構造体の側壁の中で一部を覆う請求項7に記載の半導体素子。
【請求項9】
前記ゲート電極と前記複数の半導体パターンとの間に介在されたゲート絶縁膜をさらに含み、
前記ゲート電極は、前記複数の半導体パターンの中で互いに隣接する半導体パターンの間に介在された第1内側電極、第2内側電極及び第3内側電極、及び最上部の半導体パターンの上の外側電極を含み、
前記第1背面分離構造体は、前記第1内側電極を囲む前記ゲート絶縁膜の底面と接する請求項1に記載の半導体素子。
【請求項10】
前記第1及び第2背面分離構造体は、各々シリコン酸化膜、シリコン窒化膜、及びシリコン酸窒化膜の中で少なくとも1つを含む請求項1に記載の半導体素子。
発明の詳細な説明
【技術分野】
【0001】
本発明は半導体素子に関し、より詳細には電界効果トランジスタを含む半導体素子に関するものである。
続きを表示(約 2,300 文字)
【背景技術】
【0002】
半導体素子はMOS電界効果トランジスタ(MOS(Metal Oxide Semiconductor) FET)で構成された集積回路を含む。半導体素子のサイズ及びデザインルール(Design rule)がだんだん縮小されることにつれ、MOS電界効果トランジスタのサイズ縮小(scale down)もますます加速化されている。MOS電界効果トランジスタのサイズ縮小に応じて半導体素子の動作特性が低下されることができる。したがって、半導体素子の高集積化による限界を克服しながら、より優れた性能を半導体素子を形成するための様々な方法が研究されている。
【先行技術文献】
【特許文献】
【0003】
米国特許公開第2022/0139911 A1号公報
【発明の概要】
【発明が解決しようとする課題】
【0004】
本発明の実施形態が達成しようとする一技術的課題は生産性及び信頼性が向上された半導体素子及びその製造方法を提供することにある。
【0005】
本発明が解決しようとする課題は以上で言及された課題に制限されなく、言及されないその他の課題は下の記載から該当技術分野で通常の知識を有する者に明確に理解されるべきである。
【課題を解決するための手段】
【0006】
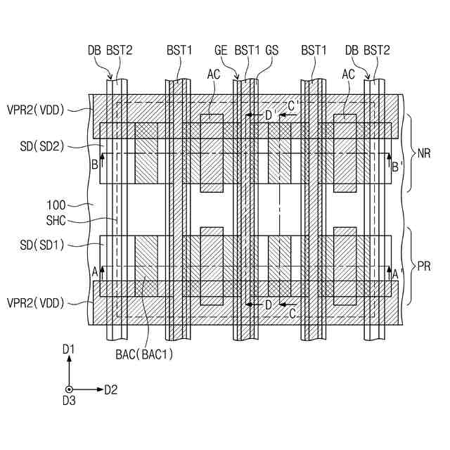
本発明の一実施形態による半導体素子は、基板、前記基板の上のソース及びドレーンパターン、前記ソース及びドレーンパターンの間のチャンネルパターン、前記チャンネルパターンは互いに離隔されて積層された複数の半導体パターンを含むこと、前記複数の半導体パターンの間のゲート電極、前記ゲート電極から水平に離隔されて配置され、第1方向に延長される上部分離構造体、前記基板を貫通し、前記ゲート電極の下に配置される第1背面分離構造体、及び前記基板を貫通し、前記上部分離構造体の下で前記上部分離構造体と垂直にオーバーラップされる第2背面分離構造体、を含み、前記第1及び第2背面分離構造体は各々前記第1方向に延長されることができる。
【0007】
本発明の他の実施形態による半導体素子は、基板、前記基板の上のソース及びドレーンパターン、前記ソース及びドレーンパターンの間のチャンネルパターン、前記チャンネルパターンは互いに離隔されて積層された複数の半導体パターンを含むこと、前記複数の半導体パターンの間のゲート電極、前記ゲート電極から水平に離隔されて配置される上部分離構造体、前記基板を貫通し、前記ゲート電極の下に配置される第1背面分離構造体、及び前記基板を貫通し、前記上部分離構造体の下で前記上部分離構造体と垂直にオーバーラップされる第2背面分離構造体、を含み、前記第1及び第2背面分離構造体の底面は前記基板の底面より低いレベルに位置することができる。
【0008】
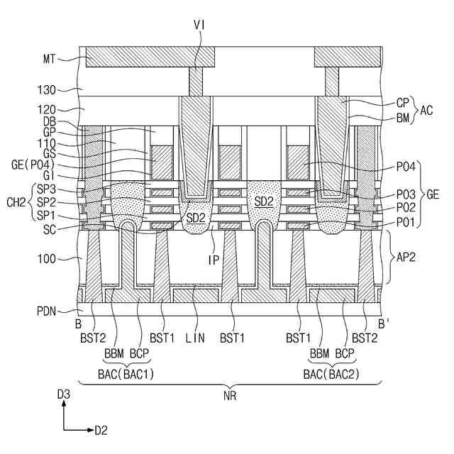
本発明のその他の実施形態に係る半導体素子は、活性パターンを含む基板、前記基板の上に提供されて前記活性パターンを定義する素子分離膜、前記活性パターンの上のチャンネルパターン及びソース及びドレーンパターン、前記チャンネルパターンの上のゲート電極、前記ゲート電極と前記チャンネルパターンとの間に介在されたゲート絶縁膜、前記ゲート電極の側壁の上のゲートスペーサー、前記ゲート電極の上面の上のゲートキャッピングパターン、前記ゲート電極から水平に離隔されて配置され、第1方向に延長される上部分離構造体、前記ソース及びドレーンパターン及び前記ゲートキャッピングパターンを覆う層間絶縁膜、前記層間絶縁膜を貫通して前記ソース及びドレーンパターンの中でいずれか1つに電気的に連結される上部活性コンタクト、前記層間絶縁膜及び前記ゲートキャッピングパターンを貫通して、前記ゲート電極と電気的に連結されるゲートコンタクト、前記基板の下に提供されるパワー伝送ネットワーク層、前記基板を貫通して前記パワー伝送ネットワーク層と前記ソース及びドレーンパターンの中で他の1つを互いに電気的に連結する背面活性コンタクト、前記基板を貫通し、前記ゲート電極の下に配置される第1背面分離構造体、及び前記基板を貫通し、前記上部分離構造体の下で前記上部分離構造体と垂直にオーバーラップされる第2背面分離構造体、を含み、前記第1及び第2背面分離構造体は各々前記第1方向に延長されることができる。
【発明の効果】
【0009】
本発明による半導体素子は、上部分離構造体を先ず形成した後、上部分離構造体と垂直に連結される第2背面分離構造体を含むことができる。上部分離構造体を形成し、これと連結される第2背面分離構造体を背面に形成することによって、分離構造体を一体に形成する場合より上部分離構造体と第2背面分離構造体の各々の高さは相対的に減少することができる。これによって、上部分離構造体と第2背面分離構造体を形成する時、内部にシーム(Seam)が形成されないか、或いはシームのサイズが小さくなることができる。したがって、半導体素子の信頼性を向上させることができる。
【0010】
さらに、第2背面分離構造体はソース及びドレーンパターンの漏洩電流の流れを防止する第1背面分離構造体を形成する過程で共に形成されることができるので、半導体素子の生産性を向上させることができる。
【図面の簡単な説明】
(【0011】以降は省略されています)
この特許をJ-PlatPat(特許庁公式サイト)で参照する
関連特許
三星電子株式会社
半導体素子
1日前
三星電子株式会社
光電変換装置
今日
三星電子株式会社
イメージセンサ
13日前
三星電子株式会社
半導体パッケージ
6日前
三星電子株式会社
半導体素子及びその製造方法
6日前
三星電子株式会社
スペーサを含む半導体パッケージ
13日前
三星電子株式会社
半導体パッケージ及びその製造方法
8日前
三星電子株式会社
車両の走行を制御する方法と装置及び車両
13日前
三星電子株式会社
基板処理装置及びそれを含む半導体製造設備
1日前
三星電子株式会社
半導体装置及びそれを含むデータ記憶システム
6日前
三星電子株式会社
半導体装置及びこれを含むデータ記憶システム
13日前
三星電子株式会社
イメージセンサー及びイメージセンサーの駆動方法
14日前
三星電子株式会社
イメージセンサー、およびイメージセンサーの製造方法
8日前
三星電子株式会社
集積されたエピックアーキテクチャのための装置及びシステム
今日
三星電子株式会社
インターメモリ/イントラメモリティアリングのためのシステム及び方法
7日前
三星電子株式会社
アンモニウム塩化合物、電解銅めっき用添加剤、電解銅めっき液組成物および電解銅めっき方法
今日
個人
積和演算用集積回路
1か月前
日亜化学工業株式会社
発光装置
今日
サンケン電気株式会社
半導体装置
1か月前
日機装株式会社
半導体発光装置
29日前
ローム株式会社
半導体装置
13日前
AGC株式会社
太陽電池モジュール
今日
三菱電機株式会社
半導体装置
今日
株式会社半導体エネルギー研究所
表示装置
13日前
三菱電機株式会社
半導体装置
今日
三菱電機株式会社
半導体装置
21日前
株式会社東芝
半導体装置
今日
三菱電機株式会社
半導体装置
2日前
三菱電機株式会社
半導体装置
8日前
株式会社東芝
半導体装置
21日前
日亜化学工業株式会社
光源
1日前
ローム株式会社
半導体装置
6日前
株式会社半導体エネルギー研究所
発光デバイス
今日
サンケン電気株式会社
半導体装置
21日前
株式会社半導体エネルギー研究所
発光デバイス
29日前
株式会社半導体エネルギー研究所
発光デバイス
1か月前
続きを見る
他の特許を見る