TOP
|
特許
|
意匠
|
商標
特許ウォッチ
Twitter
他の特許を見る
10個以上の画像は省略されています。
公開番号
2025181715
公報種別
公開特許公報(A)
公開日
2025-12-11
出願番号
2025085772
出願日
2025-05-22
発明の名称
集積されたエピックアーキテクチャのための装置及びシステム
出願人
三星電子株式会社
,
Samsung Electronics Co.,Ltd.
代理人
弁理士法人共生国際特許事務所
主分類
H04B
10/60 20130101AFI20251204BHJP(電気通信技術)
要約
【課題】集積されたエピックアーキテクチャのための装置及びシステムを提供する。
【解決手段】本発明による装置は、フォトニクス集積回路と、光デマルチプレクサ(optical demultiplexer)と、フォトニクス集積回路上にマウント(mount)され、光デマルチプレクサと光学的に接続される少なくとも1つの光検出器と、を含む電子集積回路と、を備え、光デマルチプレクサは、受信光信号を第1分離光信号(separated optical signal)及び第2分離光信号に分離するように構成され、少なくとも1つの光検出器は、第1光検出器及び第2光検出器を有し、第1光検出器は、第1分離光信号を受信するように構成され、第2光検出器は、第2分離光信号を受信するように構成される。
【選択図】図1
特許請求の範囲
【請求項1】
装置であって、
フォトニクス集積回路と、
光デマルチプレクサ(optical demultiplexer)と、
前記フォトニクス集積回路上にマウント(mount)され、前記光デマルチプレクサと光学的に接続される少なくとも1つの光検出器と、を含む電子集積回路と、を備え、
前記光デマルチプレクサは、受信光信号を第1分離光信号(separated optical signal)及び第2分離光信号に分離するように構成され、
前記少なくとも1つの光検出器は、第1光検出器及び第2光検出器を有し、
前記第1光検出器は、前記第1分離光信号を受信するように構成され、
前記第2光検出器は、前記第2分離光信号を受信するように構成されることを特徴とする装置。
続きを表示(約 1,400 文字)
【請求項2】
前記光デマルチプレクサは、偏光によって、前記第1分離光信号及び前記第2分離光信号を分離するように構成されることを特徴とする請求項1に記載の装置。
【請求項3】
前記光デマルチプレクサは、波長によって、前記第1分離光信号及び前記第2分離光信号を分離するように構成されることを特徴とする請求項1に記載の装置。
【請求項4】
前記光デマルチプレクサは、光ファイバーモード(optical fiber mode)によって、前記第1分離光信号及び前記第2分離光信号を分離するように構成されることを特徴とする請求項1に記載の装置。
【請求項5】
前記フォトニクス集積回路は、受信光ファイバーを受信するように構成されるプラグコネクター(plug connector)を含み、
前記受信光ファイバーは、前記受信光信号を前記光デマルチプレクサに送信するように構成されることを特徴とする請求項1に記載の装置。
【請求項6】
前記フォトニクス集積回路は、双方向光ファイバーを受信するように構成されるプラグコネクターを含み、
前記双方向光ファイバーは、前記受信光信号を前記光学デマルチプレクサに送信するように構成され、前記フォトニクス集積回路から送信光信号を送信するように構成されることを特徴とする請求項1に記載の装置。
【請求項7】
前記光デマルチプレクサは、前記フォトニクス集積回路上にマウントされ、光学ビア(optical via)を用いて、前記電子集積回路上の前記少なくとも一つの光検出器に前記受信光信号を送信するように構成されることを特徴とする請求項1に記載の装置。
【請求項8】
前記光デマルチプレクサは、前記電子集積回路上にマウントされ、発散経路(divergence path)に沿って前記受信光信号を前記少なくとも1つの光検出器に送信するように構成されることを特徴とする請求項1に記載の装置。
【請求項9】
システムであって、
基板と、
前記基板上にマウントされ、光学送受信器、光デマルチプレクサ、光検出器、及び増幅器の少なくとも第1部分を含むフォトニクス集積回路と、
前記基板上にマウントされる電子集積回路と、を備え、
前記光学送受信器は、送信光信号を送信し、受信光信号を受信するように構成され、
前記光デマルチプレクサは、前記受信光信号をデマルチプレックスされた光信号にデマルチプレックスするように構成され、
前記光検出器は、前記デマルチプレックスされた光信号から第1電気信号を生成し、前記第1電気信号を前記増幅器の前記少なくとも第1部分に送信するように構成され、
前記増幅器の前記少なくとも第1部分は、第2電気信号を生成するように構成され、
前記電子集積回路は、前記第2電子信号を受信するように構成されることを特徴とするシステム。
【請求項10】
前記増幅器の前記少なくとも第1部分は、入力トランジスタ及び第1ステージ抵抗を構成する第1グループから選択される少なくとも1つのメンバーを含み、
前記第2電気信号は、バイアス(bias)電圧及び信号電圧を構成する第2グループから選択される少なくとも1つのメンバーを含むことを特徴とする請求項9に記載のシステム。
(【請求項11】以降は省略されています)
発明の詳細な説明
【技術分野】
【0001】
本発明はパッケージングに関し、特に、電子集積回路(electronic integrated circuits:EICs)とフォトニクス集積回路(photonic integrated circuits:PICs)との間の接続のための技術に関する。
続きを表示(約 3,700 文字)
【背景技術】
【0002】
半導体デバイスは、他の基板上の追加の(additional)デバイス及び回路に接続する。
基板間の接続を形成することは、増加された演算パワー(computational power)を提供し得る。
しかしながら、基板間の接続を形成することは、困難さをもたらし得る。
パッケージング(packaging)は、集積ユニット(integrated unit)内の多重の演算構成要素を共に接続・集積するための一般的な方法を説明し、単一のユニットに結合することができる多重の基板上に多重の他のタイプの集積回路を含み得る。
【0003】
パッケージングは、また、単一のユニット内の多重の演算構成要素が多様な技術の使用によって保護され、熱的(thermal)、物理的(physical)、電気的(electrical)保護を提供することは、恒常的な課題である。
本明細書で説明される背景技術の概念(background concepts)は、単に情報のための目的であり、本発明を限定するための意図ではないことを理解されたい。
なお、本明細書で説明される背景技術又は分野は、本明細書の発明を特定の使用又は観点に限定すると意図されるものではない。
【先行技術文献】
【特許文献】
【0004】
米国特許第10、365、447号明細書
米国特許第11、747、563号明細書
米国特許第11、895、798号明細書
米国特許出願公開第2022/0392881号明細書
米国特許出願公開第2023/0204879号明細書
【発明の概要】
【発明が解決しようとする課題】
【0005】
本発明は上記従来の半導体デバイスのパッケージングにおける課題に鑑みてなされたものであって、本発明の目的は、集積されたエピックアーキテクチャのための装置及びシステムを提供することにある。
【課題を解決するための手段】
【0006】
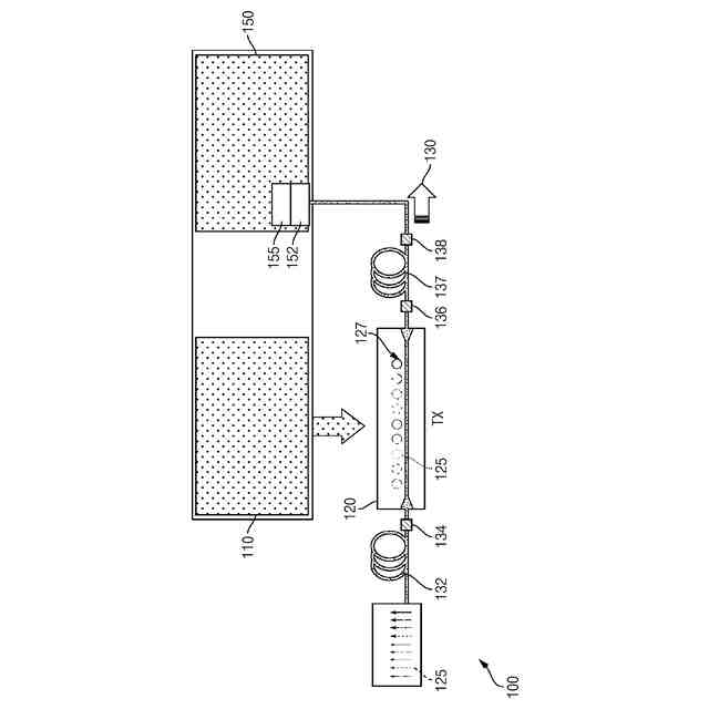
上記目的を達成するためになされた本発明による装置は、フォトニクス集積回路と、光デマルチプレクサ(optical demultiplexer)と、前記フォトニクス集積回路上にマウント(mount)され、前記光デマルチプレクサと光学的に接続される少なくとも1つの光検出器と、を含む電子集積回路と、を備え、前記光デマルチプレクサは、受信光信号を第1分離光信号(separated optical signal)及び第2分離光信号に分離するように構成され、前記少なくとも1つの光検出器は、第1光検出器及び第2光検出器を有し、前記第1光検出器は、前記第1分離光信号を受信するように構成され、前記第2光検出器は、前記第2分離光信号を受信するように構成されることを特徴とする。
【0007】
前記光デマルチプレクサは、偏光によって、前記第1分離光信号及び前記第2分離光信号を分離するように構成されることが好ましい。
前記光デマルチプレクサは、波長によって、前記第1分離光信号及び前記第2分離光信号を分離するように構成されることが好ましい。
前記光デマルチプレクサは、光ファイバーモード(optical fiber mode)によって、前記第1分離光信号及び前記第2分離光信号を分離するように構成されることが好ましい。
前記フォトニクス集積回路は、受信光ファイバーを受信するように構成されるプラグコネクター(plug connector)を含み、前記受信光ファイバーは、前記受信光信号を前記光デマルチプレクサに送信するように構成されることが好ましい。
前記フォトニクス集積回路は、双方向光ファイバーを受信するように構成されるプラグコネクターを含み、前記双方向光ファイバーは、前記受信光信号を前記光学デマルチプレクサに送信するように構成され、前記フォトニクス集積回路から送信光信号を送信するように構成されることが好ましい。
前記光デマルチプレクサは、前記フォトニクス集積回路上にマウントされ、光学ビア(optical via)を用いて、前記電子集積回路上の前記少なくとも一つの光検出器に前記受信光信号を送信するように構成されることが好ましい。
前記光デマルチプレクサは、前記電子集積回路上にマウントされ、発散経路(divergence path)に沿って前記受信光信号を前記少なくとも1つの光検出器に送信するように構成されることが好ましい。
【0008】
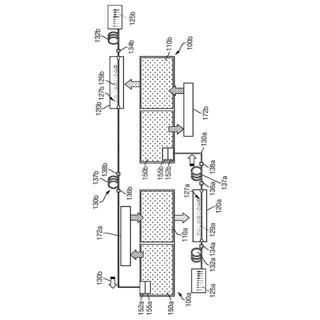
上記目的を達成するためになされた本発明によるシステムは、基板と、前記基板上にマウントされ、光学送受信器、光デマルチプレクサ、光検出器、及び増幅器の少なくとも第1部分を含むフォトニクス集積回路と、前記基板上にマウントされる電子集積回路と、を備え、前記光学送受信器は、送信光信号を送信し、受信光信号を受信するように構成され、前記光デマルチプレクサは、前記受信光信号をデマルチプレックスされた光信号にデマルチプレックスするように構成され、前記光検出器は、前記デマルチプレックスされた光信号から第1電気信号を生成し、前記第1電気信号を前記増幅器の前記少なくとも第1部分に送信するように構成され、前記増幅器の前記少なくとも第1部分は、第2電気信号を生成するように構成され、前記電子集積回路は、前記第2電子信号を受信するように構成されることを特徴とする。
【0009】
前記増幅器の前記少なくとも第1部分は、入力トランジスタ及び第1ステージ抵抗を構成する第1グループから選択される少なくとも1つのメンバーを含み、前記第2電気信号は、バイアス(bias)電圧及び信号電圧を構成する第2グループから選択される少なくとも1つのメンバーを含むことが好ましい。
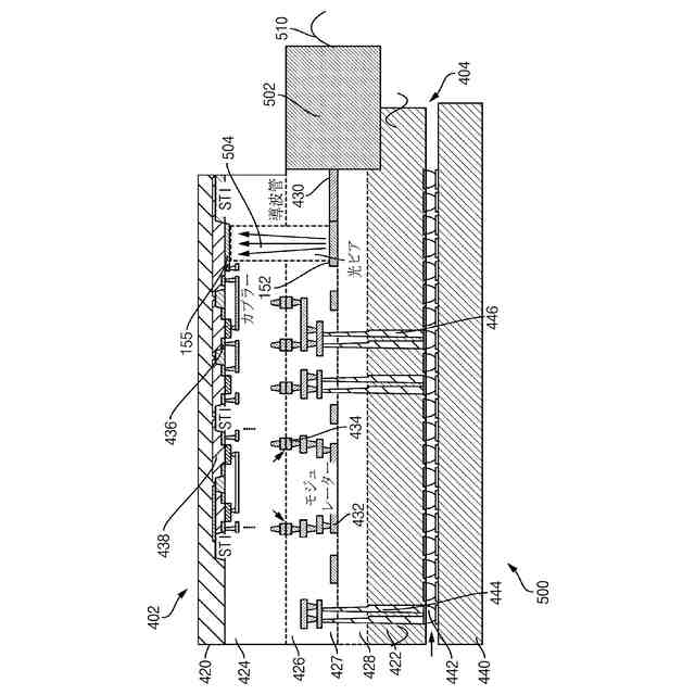
前記光デマルチプレクサは、第1ナノ構造レイヤを含み、前記第1ナノ構造レイヤは、前記受信光信号を第1光信号及び第2光信号に分離するように構成され、前記第1光信号及び前記第2光信号は、波長、偏光、及びファイバーモードを構成する第3グループから選択される少なくとも1つのメンバーによって分離されることが好ましい。
前記増幅器の前記少なくとも第1部分は、前記フォトニクス集積回路のフォトニクスデバイスレイヤ内に形成されることが好ましい。
前記増幅器の前記少なくとも第1部分は、前記フォトニクス集積回路のフォトニクスデバイスレイヤ内に形成されるトランスインピーダンス増幅器を含み、前記第2電気信号は、増幅された信号であることが好ましい。
前記光デマルチプレクサが前記受信光信号を前記デマルチプレックス光信号に分離することは、前記受信光信号を第1光信号及び第2光信号に分離することを含み、前記光検出器は、第1光検出器及び第2光検出器を含み、前記第1光検出器は、前記第1光信号を受信し、第3電気信号を生成するように構成され、前記第2光検出器は、前記第2光信号を受信し、第4電気信号を生成するように構成され、前記増幅器の前記少なくとも第1部分は、第1パート(part)、及び第2パートを含み、前記増幅器の前記少なくとも第1部分の前記第1パートは、前記第1光検出器から前記第3電気信号を受信し、第5電気信号を生成するように構成され、前記増幅器の前記少なくとも第1部分の前記第2パートは、前記第2光検出器から前記第4電気信号を受信して、第6電気信号を生成するように構成され、前記電子集積回路は、前記第5電気信号及び前記第6電気信号を受信するように構成されることが好ましい。
前記電子集積回路は、前記増幅器の第2部分を含み、前記増幅器の前記少なくとも第1部分及び前記増幅器の前記第2部分は、トランスインピーダンス増幅器を形成することが好ましい。
【0010】
また、上記目的を達成するためになされた本発明による装置は、その上にマウントされる電子集積回路及びフォトニクス集積回路を有する基板を備え、前記フォトニクス集積回路は、光デマルチプレクサと、光検出器、及びトランスインピーダンス増幅器を含み、前記光デマルチプレクサは、受信光信号を受信し、前記受信光信号をデマルチプレックスされた光信号に分割するように構成され、前記光検出器は、前記デマルチプレックスされた光信号から電気信号を生成し、前記電気信号を前記トランスインピーダンス増幅器に送信するように構成され、前記トランスインピーダンス増幅器は、増幅された信号を生成するように構成され、前記電子集積回路は、前記増幅された信号を受信するように構成されることを特徴とする。
(【0011】以降は省略されています)
この特許をJ-PlatPat(特許庁公式サイト)で参照する
関連特許
三星電子株式会社
冷蔵庫
1か月前
三星電子株式会社
冷蔵庫
1か月前
三星電子株式会社
半導体素子
2日前
三星電子株式会社
半導体装置
1か月前
三星電子株式会社
半導体装置
23日前
三星電子株式会社
半導体装置
15日前
三星電子株式会社
光電変換装置
1日前
三星電子株式会社
固体撮像装置
1か月前
三星電子株式会社
イメージセンサ
1か月前
三星電子株式会社
イメージセンサ
14日前
三星電子株式会社
半導体パッケージ
15日前
三星電子株式会社
半導体パッケージ
1か月前
三星電子株式会社
半導体パッケージ
1か月前
三星電子株式会社
半導体パッケージ
28日前
三星電子株式会社
イメージセンサー
22日前
三星電子株式会社
半導体パッケージ
7日前
三星電子株式会社
集積回路パッケージ
1か月前
三星電子株式会社
集積回路装置の製造方法
1か月前
三星電子株式会社
半導体素子及びその製造方法
7日前
三星電子株式会社
トランスフォーマー加速装置
23日前
三星電子株式会社
半導体装置およびその製造方法
15日前
三星電子株式会社
イメージセンサ及びその動作方法
1か月前
三星電子株式会社
スペーサを含む半導体パッケージ
14日前
三星電子株式会社
イメージセンサ及びその動作方法
1か月前
三星電子株式会社
半導体パッケージ及びその製造方法
9日前
三星電子株式会社
半導体パッケージ及びその製造方法
22日前
三星電子株式会社
車両の走行を制御する方法と装置及び車両
14日前
三星電子株式会社
基板処理装置及びそれを含む半導体製造設備
2日前
三星電子株式会社
半導体装置及びこれを含むデータ記憶システム
1か月前
三星電子株式会社
半導体装置及びそれを含むデータ記憶システム
7日前
三星電子株式会社
半導体装置及びこれを含むデータ記憶システム
14日前
三星電子株式会社
オンチップ偏光ルーティングのシステム及び方法
15日前
三星電子株式会社
イメージセンサー及びイメージセンサーの駆動方法
15日前
三星電子株式会社
レジスト組成物及びそれを用いたパターン形成方法
1か月前
三星電子株式会社
イメージセンサー及びその動作方法並びに電子装置
22日前
三星電子株式会社
半導体パッケージング用フィルム及びその製造方法
1か月前
続きを見る
他の特許を見る